Conveyor module DC_20211124_065310 - 第8页
Conveyor module DC Page 8 / 76 24.11.2021

Conveyor module DC
Page 7 / 76 24.11.2021

Conveyor module DC
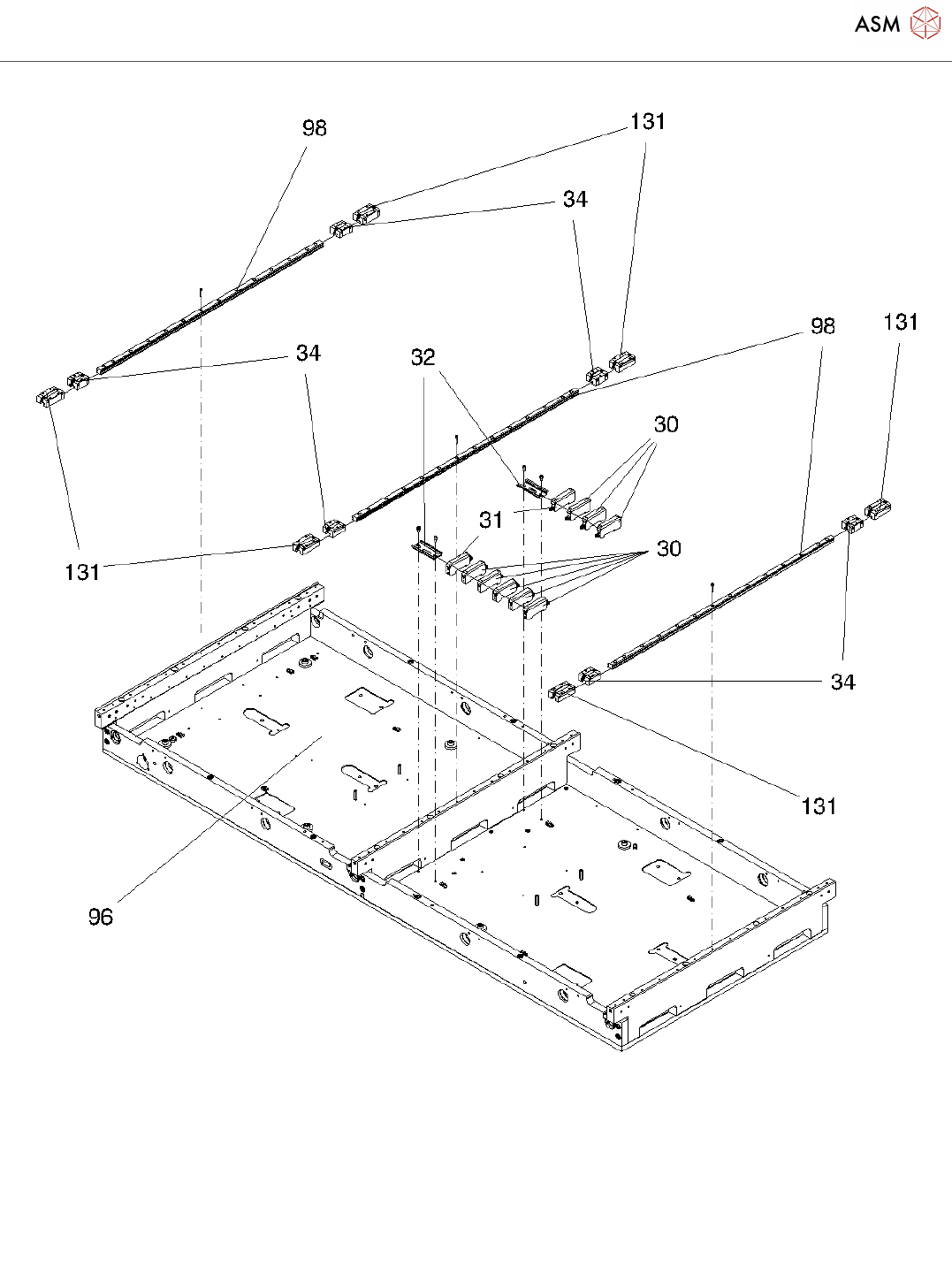
Page 8 / 76 24.11.2021

Conveyor module DC
Page 9 / 76 24.11.2021
Conveyor module DC Page 8 / 76 24.11.2021


