00198710-01_UM_X-Serie-S_DE - 第223页
Betriebsanleitung SIPLACE X-Serie S 4 Aufstellen und Inbetriebnahme Ab Softwareversion 713.0 Ausgabe 11/2019 4.3 Den Bestückautomaten aufstellen 223 4 4 VORSICHT Reduktion der Lebensdauer von Lagern und Führun gsschienen…

4 Aufstellen und Inbetriebnahme Betriebsanleitung SIPLACE X-Serie S
4.3 Den Bestückautomaten aufstellen Ab Softwareversion 713.0 Ausgabe 11/2019
222
4.3.8.3 Bodenanker montieren (optional)
Bei Bedarf kann der Bestückautomat mit einem Bodenanker vor Erschütterungen (z. B. bei Erd-
beben) gegen Verrutschen gesichert werden.
Montieren Sie an jedem Maschinenfuß einen Bodenanker.
4
Abb. 4.3 - 14 Bodenanker
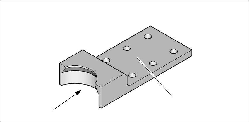
Legen Sie den Bodenanker (1) über den Maschinenfuß.
Schrauben Sie den Bodenanker an den sechs Bohrungen (2) mit geeignetem Befestigungs-
material am Boden fest.
4.3.9 Transportsicherungen entfernen
Die Transportsicherungen sind auf den Linearführungen aufgeschraubt. Jedes Portal ist mit zwei
Transportsicherungen an der X-Achse und Y-Achse gesichert.
Entfernen Sie sämtliche Transportsicherungen von den Portalachsen.
Wird der SIPLACE Bestückautomat transportiert, müssen die Transportsicherungen zum
Transport montiert werden.
4.3.10 Korrosionsschutzmittel von den Führungsschienen entfernen
Die Bestückautomaten wurden zur Auslieferung mit einem Korrosionsschutzmittel behandelt.
(2)
(1)

Betriebsanleitung SIPLACE X-Serie S 4 Aufstellen und Inbetriebnahme
Ab Softwareversion 713.0 Ausgabe 11/2019 4.3 Den Bestückautomaten aufstellen
223
4
4
VORSICHT
Reduktion der Lebensdauer von Lagern und Führungsschienen!
Vermischt sich das Korrosionsschutzmittel mit dem Lagerfett der Achsen, kann dies zu
einer erheblichen Reduktion der Lebensdauer von Lagern und Führungsschienen füh-
ren.
Entfernen Sie den Korrosionsschutz von allen Achsen und Lagern, wenn sie bei der
Inbetriebnahme zum ersten Mal die Maschinenachsen verfahren.
Fetten Sie alle Achsen und Lager mit dem in der Instandhaltungsanleitung beschrie-
benen Fett nach.
VORSICHT
Zerstörungsgefahr von Lagerfett!
Alkohol zerstört das Lagerfett in den Führungswagen.
Verhindern Sie, dass beim Reinigen der Führungsschienen und Maßstäbe Alkohol
in die Führungswagen gelangt.

4 Aufstellen und Inbetriebnahme Betriebsanleitung SIPLACE X-Serie S
4.4 BE-Wagen an die LP-Transporthöhe anpassen Ab Softwareversion 713.0 Ausgabe 11/2019
224
4.4 BE-Wagen an die LP-Transporthöhe anpassen
Der BE-Wagen lässt sich mit wenigen Handgriffen auf folgende Leiterplatten-Transporthöhen ein-
stellen:
900 mm 4
930 mm (Standardhöhe) 4
950 mm (SMEMA-Höhe) 4
4
Abb. 4.4 - 1 BE-Wagen
(1) Bohrungen für die LP-Transporthöhen 900, 930 und 950 mm.
(2) Klotz
(3) BE-Tisch
(4) M8-Bohrungen zum Befestigen der Montagehilfe