P221001e - 第179页
MODEL TPM-200F/R 0207-001 177 Fig. M クリーニング部 CLEANING SECTION

MEMO

MODEL TPM-200F/R
0207-001
177
Fig. M クリーニング部 CLEANING SECTION

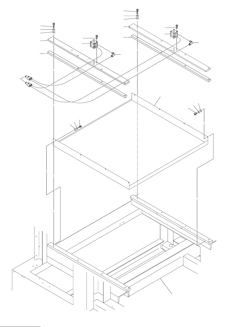
MODEL TPM-200F/R
0207-001
178
クリーニング部 CLEANING SECTION
Fig. M-1 ユニット取り出し Unit Take-out
65
64
4
6
67
1
61
62
63
63
3
62
61
66
65
64
5
6
66
67
8
See Fig.K-1
Key No.1
2
2
7
Fig.M-1
TPM-200F/R