P221001e - 第23页
MEMO

MODEL TPM-200F/R
0209-001
Key No. PART No. PART NAME Q’ty REMARKS
NOTE
20
B-4
383 411 042 0703 SCR PAN 3X8 6 782B--110-383
384 630 000 7879 BOLT,HEX-SCT 2 782B--110-384
385 630 001 0220 WASHER 8 782B--110-385
386 411 141 6705 WASHER SPR 5 8 782B--110-386
387 630 000 7749 BOLT,HEX-SCT 8 782B--110-387
388 630 000 7886 BOLT,HEX-SCT 4 782B--110-388
389 411 141 3902 WASHER V 3X7X0.5 4 782B--110-389
390 411 141 2806 WASHER SPR 3 4 782B--110-390
391 630 000 7572 BOLT,HEX-SCT 2 782B--110-391
392 630 000 7756 BOLT,HEX-SCT 8 782B--110-392
393 411 141 0703 NUT HEX 6 2 782B--110-393
394 630 000 8692 BOLT,HEX 4 782B--110-394
395 411 004 5104 NUT HEX 6 4 782B--110-395

MEMO

MODEL TPM-200F/R
0207-001
22
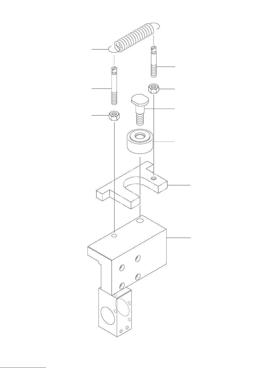
テーブル部 TABLE SECTION
Fig. B-5 θ作用部 THETA Action Section
403
461402
404
461
405
401
See Fig.E-1
Key No.32
See Fig.B-4
Key No.321
Fig.B-5
TPM-200F/R