P221001e - 第34页
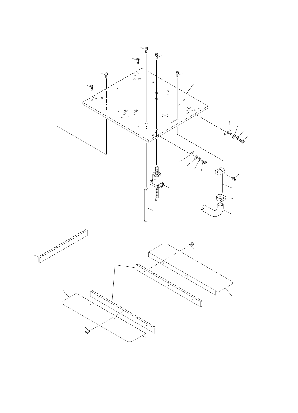
MODEL TPM-200F 0207-001 32 チャック部(手前基準) CHUCK SECTION ( Front Reference ) Fig. E-2 バックアップベース Back-up Base 104 105 106 107 162 162 103 102 108 See Fig E-1 Key No.1 See Fig E-1 Key No.8 161 109 163 164 165 101 161 161 161 1…

MEMO

MODEL TPM-200F
0207-001
32
チャック部(手前基準) CHUCK SECTION(Front Reference)
Fig. E-2 バックアップベース Back-up Base
104
105
106
107
162
162
103
102
108
See Fig E-1
Key No.1
See Fig E-1
Key No.8
161
109
163
164
165
101
161
161
161
161
161
111
110
163
164
165
Fig.E-2
TPM-200F

MODEL TPM-200F
0207-001
Key No. PART No. PART NAME Q’ty REMARKS
NOTE
33
E-2
101 630 076 8923 PIPE FITTINGS 1 782E--110-101
102 630 108 7436 TUBE 1 782E--110-102
103 630 008 0940 TUBE(BAND) 1 782E--110-103
104 630 112 6784 BASE 1 782E--110-104
105 630 107 5563 PLATE 2 782E--110-105
106 630 107 5976 COVER 1 782E--110-106
107 630 107 5983 COVER 1 782E--110-107
108 630 107 5839 BLOCK 1 782E--110-108
109 630 112 2762 BRACKET 1 782E--110-109
110 630 112 2755 BRACKET 1 782E--110-110
111 630 107 6089 PLATE 1 782E--110-111
161 630 000 7657 BOLT,HEX-SCT 23 782E--110-161
162 630 000 7619 BOLT,HEX-SCT 4 782E--110-162
163 411 141 3902 WASHER V 3X7X0.5 4 782E--110-163
164 411 141 2806 WASHER SPR 3 4 782E--110-164
165 630 000 7510 BOLT,HEX-SCT 4 782E--110-165