Components carriage D4i_20211123_070355 - 第5页

Components carriage D4i Page 5 / 6 23.11.2021 Pos. Item no. Description Part marking 1 03092155-01 CHANGEOVER TABLE SIPLACE D4/HS-60 2 03091374-01 CHASSIS COMPLETE /COT D4 3 03044881-01 FIXED CHASTERS SPARE PART 4 030795…

100%1 / 6
Components carriage D4i
Page 4 / 6 23.11.2021
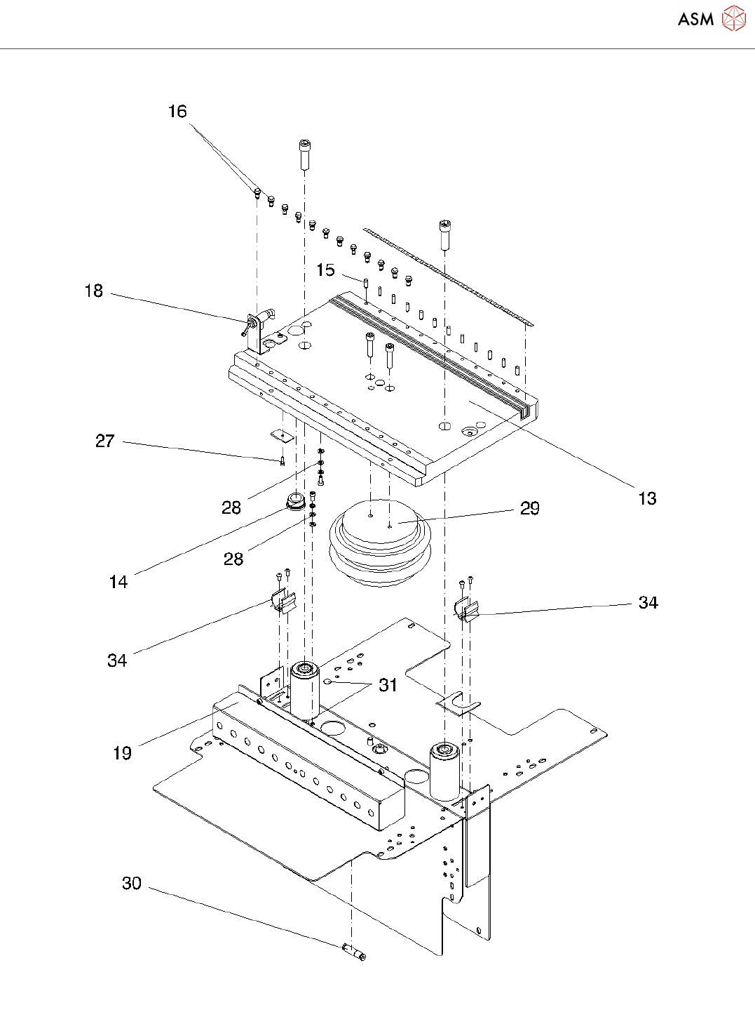
Components carriage D4i
Page 5 / 6 23.11.2021
Pos. Item no. Description Part marking
1 03092155-01 CHANGEOVER TABLE SIPLACE
D4/HS-60
2 03091374-01 CHASSIS COMPLETE /COT D4
3 03044881-01 FIXED CHASTERS SPARE PART
4 03079532-01 TENTE TWIN WHEEL SWIVEL
2970DYK050P30
5 03091261-01 HANDLE GN 528-ESD-117-8,5-SW SPARE PART
6 00306732-01 PUSH BUTTON INNER HALF PS-1,
10.3MM
00359574-01 LABEL ESD-GROUNDING
POSSIBILITY
8 03090642-01 WASTE TAPE CONTAINER / COT D4 SPARE PART
9 03011658-01 PARTITION PLATE /TAPEREEL
CONTAINER COMP
SPARE PART
10 03092724-01 CABLE CLIP VM-1010 STANDARD PARTS
11 03092120-01 HEIGHT ADJUSTMENT ASSEMBLY
/COT D4
12 03046423-01 TABLE COMPLETE / COT D4
13 03044579-01 COMPONENTS TABLE TABLE PLATE
COMPLETE /COT D4
14 00303447-01 DRILL BUSHING ANALOG DIN 172-A
18X16
STANDARD PARTS
15 00619866-01 PARALLEL PIN 5M5 X 16-ST
16 03050524-01 SPERICAL CAP
00344757-01 TRACK RULER COMPONENTS TABLE
LOCK
SPARE PART
18 03044971-01 TOGGLE SWITCH 2-WAYS-4MM SPARE PART
19 00330037-07 COMM. UNIT, CHANGEOVER TABLE
HS50
Spare Part
00359574-01 LABEL ESD-GROUNDING
POSSIBILITY
03044430-02 CABLE TREE: CHANGEOVER TABLE
SIPLACE D4
SPARE PART
03044412-01 CABLE SERIES D4:COMPONENTS
TABLE POWER
00805140-01 CABLE TIE W=2.4MM L=92MM
TYB-23M
Spare Part
00337745S01 HAN D PNEUMATIC MODULE 3-POLE WEAR PART
03049195-01 PNEUMATIC BULK-CASE D SERIES
D4
Components carriage D4i
Page 6 / 6 23.11.2021
Pos. Item no. Description Part marking
00047012-01 COVER CAP CV-PK-4-B PUR Spare Part
27 03042553-01 ISO 4762 - M 4 X 12-A2-70 Spare Part
28 00315187-01 DIN 125-A 5,3-140HV-A2
29 03044860-01 BELLOWS ACTUATOR, BOSCH REX.
0822419041
SPARE PART
30 03045286-01 CHECK VALVE 4MM SPARE PART
31 00341997-01 LABEL GROUNDING POINT GNYE
D12.5
00805141-01 CABLE TIE W=3.6MM L=140MM TY
24M
STANDARD PARTS
00343357-01 WARNING LABEL MASH-RISK
21X21MM
STANDARD PARTS
34 03092724-01 CABLE CLIP VM-1010 STANDARD PARTS
Powered by TCPDF (www.tcpdf.org)