第五卷 资 料 - 第59页
3-5 元件配置图 5OM-1752 1306-002 噪音滤波器面板 Z1 Z2 Symbol Name Remarks Z1 FIL TER-NOISE 1 Z2 FIL TER-NOISE 2

3-4
元件配置图
5OM-1752
1306-002
电 闸
Q200
Symbol Name Remarks
Q200 Main Breake

3-5
元件配置图
5OM-1752
1306-002
噪音滤波器面板
Z1
Z2
Symbol Name Remarks
Z1 FILTER-NOISE 1
Z2 FILTER-NOISE 2

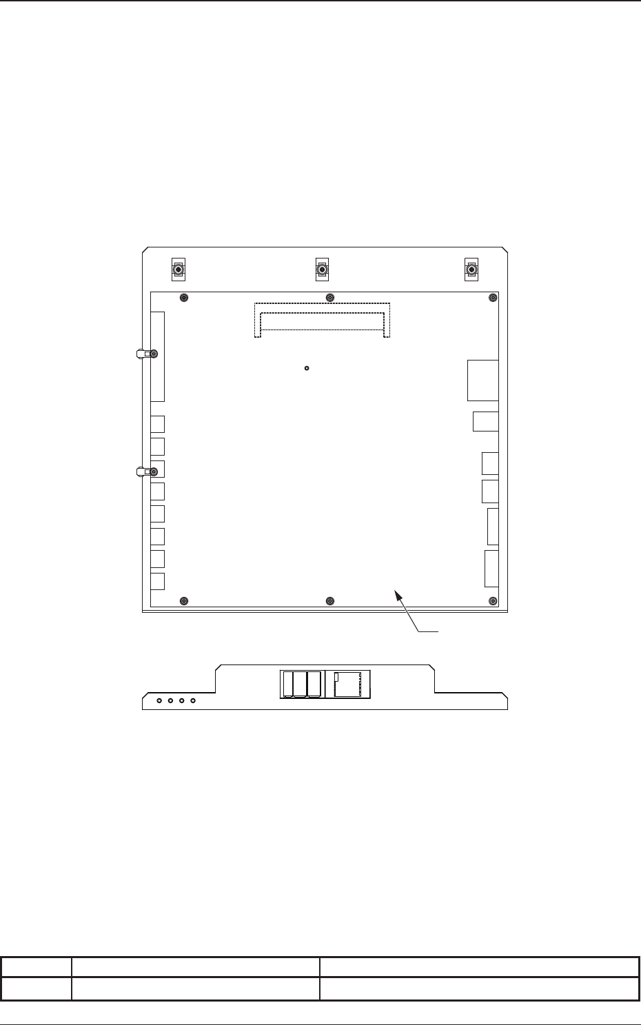
3-6
元件配置图
5OM-1752
1306-002
LED 灯控制线路板
CON1
CON2
CON3
CON4
CON5
CON6
CON7
CON8
CN5
CN1
CN8
CN7
CN3
CN2
CN6
CON10
A21F
X(B2)
ADD:3
A22F
Y1(B2)
ADD:4
A23F
Y2(B2)
ADD:5
U95
Lighting Ctrl
PCB
U95
Symbol Name Remarks
U95 LED Light Control PCB Model UC19