CM402-L Parts list-mechanical20120828 - 第151页
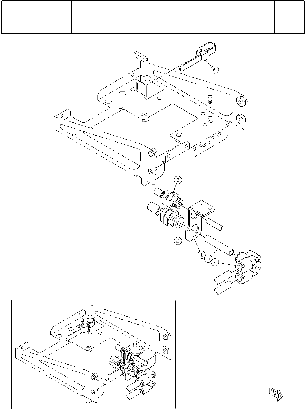
Ref No. Remark s R 1 Q'ty 9 基 板 サイドクランプ Board Side Clamp イラスト No. Part No. 品 名 品番 数量 R 2 パーツリスト Kit N o . キット品 番 Kit Name キット名称 KXFX036NA00 Part Nam e 備 考 セクションNo. PARTS LIST Section No. R 3 CLAM PER 2 1 KXFB02N0A01…

9
基
板
サイドクランプ
Board Side Clamp
パーツレイアウト
Ki
t
N
o
.
キット
品番
Kit Name
キット名称
KXFX036NA00
セクションNo.
PARTS LAYOUT
Section No.
--
M131
( KKXFX036NA00-05 )

Ref
No.
Remarks
R
1
Q'ty
9
基
板
サイドクランプ
Board Side Clamp
イラスト
No.
Part No.
品 名品番 数量
R
2
パーツリスト
Kit N
o
.
キット品
番
Kit Name
キット名称
KXFX036NA00
Part Name
備 考
セクションNo.
PARTS LIST
Section No.
R
3
CLAMPER
2
1 KXFB02N0A01
PLATE
2
2 KXFB02N1A01
BAR
2
3 N210007694AA
PLATE
4
4 KXFB02N3A00
AIR-SLIDE
4
5 N510019323AA MXPJ6-5-X23A
JOINT
8
6 N510064400AA M-3AU-4-X83
JOINT
4
7 KXF02SZAA00 M-5ALU-4
JOINT
2
8 KXF02TJAA00 M-5UL
JOINT
4
9 KXF02TLAA00 M-5UT
JOINT
8
10 KXF02T3AA00 M-5AU-4
BOLT
4
11 N510017709AA
Hexagon head bolt Best class M3X12-6g 4T A2J (Trivalent)
BOLT
16
12 N510026172AA SEH0305
M132
--
( KKXFX036NA00-05 )

10
高
速ヘッド
接続
ユニット:ボールネジ対応
High-Speed Head Connection Unit:for Ball Screw
パーツレイアウト
Ki
t
N
o
.
キット
品番
Kit Name
キット名称
KXFX0643A00
セクションNo.
PARTS LAYOUT
Section No.
M133