CM402-L Parts list-mechanical20120828 - 第154页
11 ラ インカメ ラ Line Camera パーツレイアウト Kit No. キット品 番 Kit Name キット名称 KXFX036BA00 セクションNo. PARTS LAYOUT Section No. M135

Ref
No.
Remarks
R
1
Q'ty
10
高
速ヘッド
接続
ユニット:ボールネジ対応
High-Speed Head Connection Unit:for Ball Screw
イラスト
No.
Part No.
品 名品番 数量
R
2
パーツリスト
Kit N
o
.
キット品
番
Kit Name
キット名称
KXFX0643A00
Part Name
備 考
セクションNo.
PARTS LIST
Section No.
R
3
BRACKET
1
1 N210010143AA
JOINT
1
2 KXF0CV0AA00 KK4P-08E
JOINT
1
3 KXF0CSZAA00 KK3P-06E
JOINT
1
4 KXF0E4LWA00 KQLU08-00
JOINT
1
5 KXF0AERAA00 KQN08-99
CABLE-SUPPORT
1
6 KXF0DGAAA00 HV-125
M134

11
ラ
インカメ
ラ
Line Camera
パーツレイアウト
Kit No.
キット品
番
Kit Name
キット名称
KXFX036BA00
セクションNo.
PARTS LAYOUT
Section No.
M135

Ref
No.
Remarks
R
1
Q't
y
11
ラ
インカメ
ラ
Line Camera
イラスト
No.
Part No.
品 名品番 数量
R
2
パーツリスト
Kit No.
キット品
番
Kit Name
キット名称
KXFX036BA00
Part Name
備 考
セクションNo.
PARTS LIST
Section No.
R
3
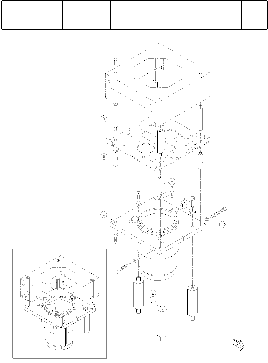
POST
2
1 KXFB02NHA00
POST
1
2 KXFB02NJA01
POST
4
3 KXFB022ZA00
LENS
1
4 KXF0DVFAB01 KOM-F4IR(DA KXF0DVFAB01)
SPACER
2
5 N510008558AA ASF-535E
WASHER
2
6 KXF0BCCAA00 MSRB5.5-1.0
WASHER
2
7 KXF0CJ9AA00 MSRB5.5-0.5
BOLT
2
8 KXFB04K8A00
POST
2
9 KXFB04LDA00
BOLT
2
10 N510018857AA
Hexagon head bolt Best class M4X30-6g 4T A2J (Trivalent) Full thread
WASHER
2
11 KXF0DY0GA00 WSSB13-6-3
M136