CM402-L Parts list-mechanical20120828 - 第229页
Ref No. Remark s R 1 Q'ty 2 ノズルチェンジ ャ(8ノズルヘ ッド):CM602-L Nozzle C hanger (8 Nozzle Head): CM 602-L イラスト No. Part No. 品 名 品番 数量 R 2 パーツリスト Kit N o . キット品 番 Kit Name キット名称 N610073644AA Part Name 備 考 セクションNo. PARTS LIST…

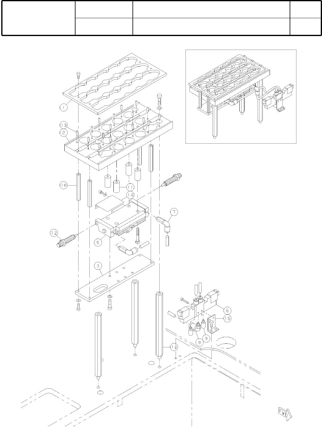
2
ノズルチェンジャ(8ノズルヘッド):CM602-L
Nozzle Changer (8 Nozzle Head): CM602-L
パーツレイアウト
Ki
t
N
o
.
キット
品番
Kit Name
キット名称
N610073644AA
セクションNo.
PARTS LAYOUT
Section No.
--
S3
( KN610073644AA-05 )

Ref
No.
Remarks
R
1
Q'ty
2
ノズルチェンジャ(8ノズルヘッド):CM602-L
Nozzle Changer (8 Nozzle Head): CM602-L
イラスト
No.
Part No.
品 名品番 数量
R
2
パーツリスト
Kit N
o
.
キット品
番
Kit Name
キット名称
N610073644AA
Part Name
備 考
セクションNo.
PARTS LIST
Section No.
R
3
SHUTTER
1
1 N210099355AA
HOLDER
1
2 N210091102AB
HOLDER
1
3 N210091023AC
BRACKET
1
4 KXFB02KJA00
COVER
1
5 N210095370AA
GUIDE
2
6 KXFB02KKA00
COLLAR
6
7 KXFB02KLA00
SHEET
1
8 N210061547AB
POST
3
9 N510041614AA LSBGT19-161.2
COLLAR
2
10 N210096662AA
BRACKET
1
11 N210090969AB
SPEED-CONTROLLER
2
12 KXF00YMAA00 AS1201F-M5-04
JOINT
1
13 N210158462AA
VALVE
1
14 KXF0A3RAA00 VQZ1220-5MO-C4
SILENCER
2
15 KXF00WCAA00 AN120-M5
JOINT
1
16 KXF02C3AA00 KQL06-M5
PIN
2
17 N510020591AA MMS3-15
BEARING
8
18 KXF0AB1AA00 634ZZ1MC3
PIN
4
19 N510020598AA MMS4-15
WASHER
8
20 N510025611AA MMSRB4.5-1.0
BOLT
7
21 N510017613AA
Hexagon socket Flat head bolt M3X8-10.9 A2J (Trivalent)
WASHER
7
22 N510025610AA MMSRB4-0.5
PIN
1
24 N510025080AA 87STMH6
STOPPER-BOLT
2
25 KXF0CVEAA00 UNAH3-15(DA KXF0CVEAA00)
CYLINDER
1
26 N610029483AB
BOLT
4
27 N510017313AA
Hexagon socket head cap screw M3X16-10.9 A2J (Trivalent)
BOLT
2
28 N986YYYY-F96 LH0408
BOLT
2
29 N510017344AA
Hexagon socket head cap screw M4X10-10.9 A2J (Trivalent)
BOLT
4
30 N510017346AA
Hexagon socket head cap screw M4X12-10.9 A2J (Trivalent)
BOLT
6
31 N510036448AA LH0425 Trivalent chromate
BOLT
3
32 N510017395AA
Hexagon socket head cap screw M5X16-10.9 A2J (Trivalent)
WASHER
2
33 N510018478AA
Small round-plain washer 3 10H A2J (Trivalent)
WASHER
1
34 N510018497AA
Round finish plain washer 4 10H A2J (Trivalent)
WASHER
2
36 N510018479AA
Small round-plain washer 4 10H A2J (Trivalent)
S4
--
( KN610073644AA-05 )

3
ノズルチェンジャ
(
多機能
ヘッド
)
Nozzle Changer (Multi-Functional heads)
パーツレイアウト
Kit No.
キット
品番
Kit Name
キット
名称
KXFX036XA00
セクション
No
.
PARTS LAYOUT
Section No.
-
-
S5
( KKXFX036XA00-04 )