P-0187-001 - 第105页
MODEL TCM-X300 0306-001 Key No. P AR T No. P AR T NAME Q’ ty REMARKS NOTE 103 H-6 504 630 122 1502 BR AC KE T 1 812H--010-504 50 5 630 092 8723 ASSY ,SENSOR,PHOTO 5 BP H93,BPH83,BPH53,BPH81,BPH76 812H--010-505 50 6 41 1 …

MODEL TCM-X300
0306-001
102
R ࠦࡦࡌࠕㇱ R CONVEYOR SECTION
Fig. H-6
ၮ᧼ᬌㇱޔၮ᧼ࠬ࠻࠶ࡄ
P.C.B. Detector, P.C.B. Stopper
519
See Fig.H-1
Key No.29
517
516
518
520
522
524
523
521
506
507
509
507
508
506
505
506
512
511
510
507
509
508
507
506
537
538
535
527
534
530
538
508
507
506
505
546
545
544
525
543
506
507
509
531
506
515
514
513
510
511
512
507
509
532
506
508
507
506
505
507
509
504
507
533
506
508
507
506
505
536
539
539

MODEL TCM-X300
0306-001
Key No. PART No. PART NAME Q’ty REMARKS
NOTE
103
H-6
504 630 122 1502 BRACKET 1 812H--010-504
505 630 092 8723 ASSY,SENSOR,PHOTO 5 BPH93,BPH83,BPH53,BPH81,BPH76
812H--010-505
506 411 119 1909 WASHER V 3X7X0.5 22 812H--010-506
507 411 086 4408 WASHER SPR 3 22 812H--010-507
508 411 162 1604 SCR PAN 3X20 10 812H--010-508
509 411 054 6809 NUT HEX 3 10 812H--010-509
510 411 141 4008 WASHER V 4X9X0.8 4 812H--010-510
511 411 141 2905 WASHER SPR 4 4 812H--010-511
512 630 000 7619 BOLT,HEX-SCT 4 812H--010-512
513 411 141 4008 WASHER V 4X9X0.8 2 812H--010-513
514 411 141 2905 WASHER SPR 4 2 812H--010-514
515 630 000 7657 BOLT,HEX-SCT 2 812H--010-515
516 630 077 4818 LEVER 1 812H--010-516
517 630 001 0220 WASHER 1 812H--010-517
518 630 000 7763 BOLT,HEX-SCT 1 812H--010-518
519 630 069 2938 NUT 1 812H--010-519
520 411 054 6809 NUT HEX 3 1 812H--010-520
521 411 040 6202 SCR PAN 3X10 1 812H--010-521
522 411 054 8506 NUT HEX 4 1 812H--010-522
523 411 162 1505 SCR PAN 4X20 1 812H--010-523
524 630 001 8103 SPRING,TENSION 1 2086 812H--010-524
525 630 116 4533 BRACKET(PHOTO R) 1 812H--010-525
527 630 118 3206 PLATE 1 812H--010-527
530 630 118 5187 BRACKET 1 812H--010-530
531 630 064 2131 PLATE 1 812H--010-531
532 630 089 8378 BRACKET 1 812H--010-532
533 411 040 6202 SCR PAN 3X10 2 812H--010-533
534 630 118 1370 GUIDE,SLIDE 1 812H--010-534
535 630 118 1417 HANDLE 1 812H--010-535
536 630 007 2273 PLUNGER 1 812H--010-536
537 411 141 0802 NUT HEX 6 1 812H--010-537
538 411 050 5004 SCR TRS 3X6 6 812H--010-538
539 630 118 7112 NAME PLATE,INDEX 1 812H--010-539
543 630 000 7619 BOLT,HEX-SCT 1 812H--010-543
544 630 001 0213 WASHER 1 812H--010-544
545 411 141 2905 WASHER SPR 4 1 812H--010-545
546 630 000 7633 BOLT,HEX-SCT 1 812H--010-546

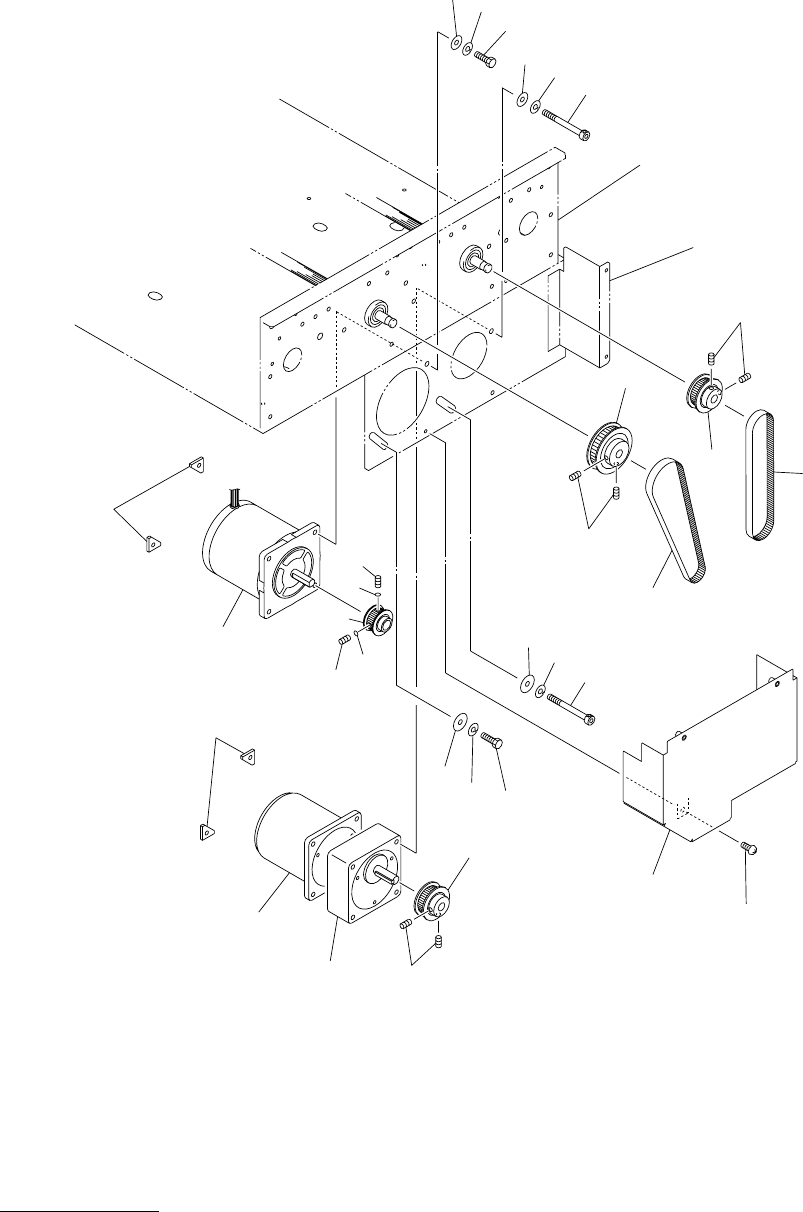
MODEL TCM-X300
0306-001
104
R ࠦࡦࡌࠕㇱ R CONVEYOR SECTION
Fig. H-7 ࠦࡦࡌࠕࡌ࡞࠻㚟േㇱ Conveyor Belt Driver
615
621
621
615
614
610
611
610
609
602
603
608
608
609
See Fig.H-1
Key No.1
See Fig.H-5
Key No.413
610
616
620
606
605
604
618
606
605
613
607
605
604
607
612
605
613
619