P-0187-001 - 第117页
MODEL TCM-X300 0306-001 Key No. P AR T No. P AR T NAME Q’ ty REMARKS NOTE 115 JB-5 40 1 630 084 5839 BR AC KE T 1 812JB-010-401 40 2 630 109 0207 BR AC KE T 1 812JB-010-402 40 3 630 064 5699 P L A T E 1 812JB-010-403 40 …

MODEL TCM-X300
0306-001
114
X ゲޔY ゲ X AXIS, Y AXIS
Fig. JB-5 Y ࠹ࡉ࡞ᬌㇱ Y Table Detector
413
402
411
407
413
403
411
407
407
411
413
See Fig.JB-4
Key No.301
409
412
414
405
406
405
410
409
412
414
406
401
406
405
410
409
412
414

MODEL TCM-X300
0306-001
Key No. PART No. PART NAME Q’ty REMARKS
NOTE
115
JB-5
401 630 084 5839 BRACKET 1 812JB-010-401
402 630 109 0207 BRACKET 1 812JB-010-402
403 630 064 5699 PLATE 1 812JB-010-403
405 630 000 0252 SENSOR,PHOTO 3 BPH44,BPH45,BPH46,EE-SX671
812JB-010-405
406 630 000 0269 SENSOR,PHOTO(CONNECTOR) 3 EE-1001 812JB-010-406
407 630 000 7633 BOLT,HEX-SCT 6 812JB-010-407
409 411 113 0502 SCR PAN 3X14 6 812JB-010-409
410 411 141 0000 NUT HEX 3 6 812JB-010-410
411 411 141 2905 WASHER SPR 4 6 812JB-010-411
412 411 086 4408 WASHER SPR 3 6 812JB-010-412
413 411 141 4008 WASHER V 4X9X0.8 6 812JB-010-413
414 411 088 9005 WASHER F 3X6X0.5 6 812JB-010-414

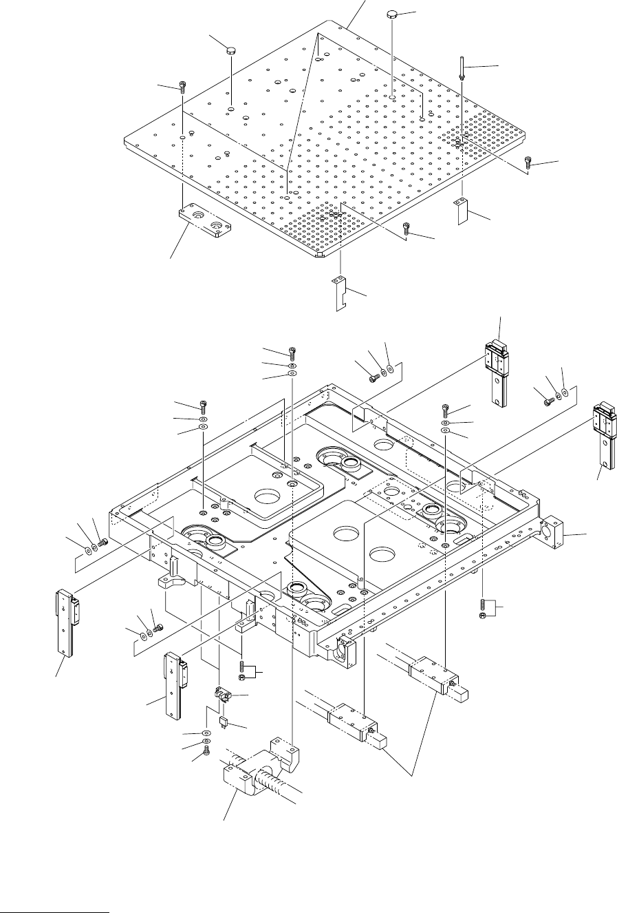
MODEL TCM-X300
0306-001
116
XY ࠻࠶ࡊࡌࠬㇱ XY TOP BASE SECTION
Fig. JC-1 ࡃ࠶ࠢࠕ࠶ࡊࡌࠬ Back-up Base
8
See Fig.JC-4
Key No.302
See Fig.JB-4
Key No.314
See Fig.JB-4
Key No.302
8
13
32
BACK-UP PIN R1
3
12
2
12
1
14
10
9
4
17
20
11
16
19
11
16
19
6
10
9
19
16
11
19
16
11
7
21
18
22
14
17
20
23
24
25
33