P-0187-001 - 第180页
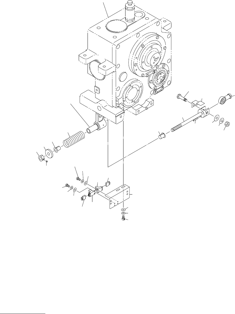
MODEL TCM-X300 0306-001 178 ࠞࡓ㧟ゲㇱ CAM SHAFT 3 AXIS SECTION Fig. KC-3 ࠞ࠶࠲ࡃࡠ࠶࠼ Cutter Lever Rod 220 221 219 216 218 218 217 217 224 224 222 222 223 223 206 See Fig.KC-1 Key No.5 See Fig.KC-1 Key No.1 205 204 202 203 215 …

MODEL TCM-X300
0306-001
Key No. PART No. PART NAME Q’ty REMARKS
NOTE
177
KC-2
101 630 086 0597 ASSY,LEVER 2 812KC-010-101
101 -01 630 085 9225 LEVER 1
101 -02 630 001 1425 BEARING,RADIAL 2 6000ZZNR
101 -03 630 085 9157 COLLAR 1
101 -04 630 085 9584 WASHER 1
101 -05 630 084 8564 BEARING,RADIAL 2 F695ZZ
102 630 085 9232 LEVER 2 812KC-010-102
103 630 032 5201 CAM FOLLOWER 2 CF-5BUU 812KC-010-103
104 411 141 0505 NUT HEX 5 2 812KC-010-104
105 411 141 6705 WASHER SPR 5 2 812KC-010-105
106 411 142 3406 WASHER F 5X10X1 2 812KC-010-106
107 630 097 0968 SPRING,COMP 2 812KC-010-107
108 630 002 4494 SPRING,COMP 2 5632 812KC-010-108
109 630 085 9195 PIN,HINGE 2 812KC-010-109
110 411 141 0901 NUT HEX 8 2 812KC-010-110
111 411 141 3100 WASHER SPR 8 2 812KC-010-111
112 411 141 6101 WASHER F 8X15.5X1.6 2 812KC-010-112
113 630 005 0868 BEARING,PARTS(LOCK NUT) 2 WBK10L-01 812KC-010-113
115 411 141 0703 NUT HEX 6 2 812KC-010-115
116 411 141 3001 WASHER SPR 6 2 812KC-010-116
117 411 141 6002 WASHER F 6X11.5X1.6 2 812KC-010-117
118 630 085 9201 PIN,HINGE 2 812KC-010-118
119 411 141 0307 NUT HEX 4 2 812KC-010-119
120 411 141 2905 WASHER SPR 4 2 812KC-010-120
121 411 141 5906 WASHER F 4X8X0.8 2 812KC-010-121
122 630 000 8920 SET SCREW 2 812KC-010-122
123 630 094 0817 BOLT,HEX 2 812KC-010-123

MODEL TCM-X300
0306-001
178
ࠞࡓ㧟ゲㇱ CAM SHAFT 3 AXIS SECTION
Fig. KC-3 ࠞ࠶࠲ࡃࡠ࠶࠼ Cutter Lever Rod
220
221
219
216
218
218
217
217
224
224
222
222
223
223
206
See Fig.KC-1
Key No.5
See Fig.KC-1
Key No.1
205
204
202
203
215
209
201
211
212
205
214
213
210

MODEL TCM-X300
0306-001
Key No. PART No. PART NAME Q’ty REMARKS
NOTE
179
KC-3
201 630 088 3077 SHAFT 1 812KC-010-201
202 630 005 0868 BEARING,PARTS(LOCK NUT) 1 WBK10L-01 812KC-010-202
203 630 000 8920 SET SCREW 1 812KC-010-203
204 630 085 9164 COLLAR 1 812KC-010-204
205 630 049 0176 BUSH,BEARING 2 LFF-1015 812KC-010-205
206 630 085 9270 SPRING,COMP 1 812KC-010-206
209 630 052 4246 MECH PARTS(PARALLEL PINS) 1 812KC-010-209
210 630 001 1074 ROD END 1 BRF8 812KC-010-210
211 630 048 9422 PIN,HINGE 1 812KC-010-211
212 630 089 7951 PLATE 1 812KC-010-212
213 411 141 0901 NUT HEX 8 1 812KC-010-213
214 411 141 3100 WASHER SPR 8 1 812KC-010-214
215 411 141 6101 WASHER F 8X15.5X1.6 1 812KC-010-215
216 630 117 0343 BRACKET 1 812KC-010-216
217 630 069 0545 SENSOR,PHOTO 2 BPH32,BPH33,EE-SX674
812KC-010-217
218 630 000 0269 SENSOR,PHOTO(CONNECTOR) 2 EE-1001 812KC-010-218
219 630 000 7626 BOLT,HEX-SCT 2 812KC-010-219
220 411 141 2905 WASHER SPR 4 2 812KC-010-220
221 411 141 5906 WASHER F 4X8X0.8 2 812KC-010-221
222 411 040 7803 SCR PAN 3X12 4 812KC-010-222
223 411 141 2806 WASHER SPR 3 4 812KC-010-223
224 411 141 5807 WASHER F 3X6X0.5 4 812KC-010-224