TR5DNR_维修调整 - 第27页
维修调整要领书 3-7 3- 6. 电源灯的更换 按压插座部①的 A 部卡爪(两侧)予以拆下。 取下环②后拆下镜头部分③。 ①、②、③ POW ER LAMP CABLE ASM (货号: 40049504 ) <TR5DNR> <TR5DN X>

维修调整要领书
3-6
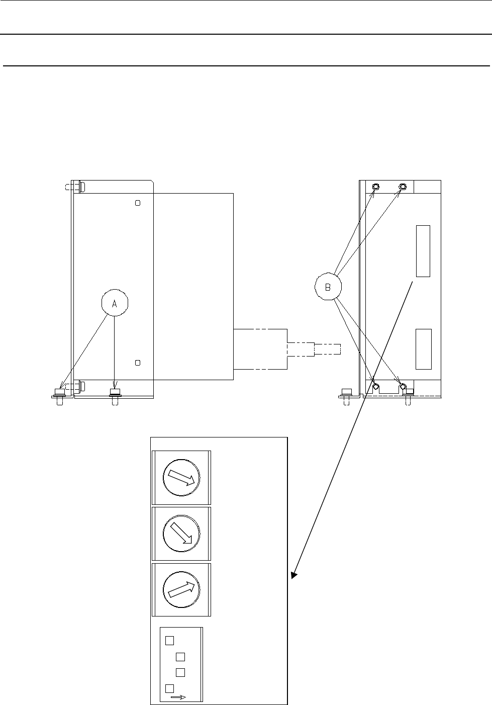
3-5. 步进电动机驱动器的更换
请拆下驱动器的连接器。
拆下 A 部的螺丝,将驱动器连同托架拉出。
请拆下 B 部的螺丝更换驱动器。
更换后请根据下图进行开关的设定。
⑥步进电动机驱动器(货号:40045711)(据图 3-1)
0
1
2
3
4
5
6
7
8
9
A
B
C
D
E
F
0
1
2
3
4
5
6
7
8
9
A
B
C
D
E
F
0
1
2
3
4
5
6
7
8
9
A
B
C
D
E
F
1
2
F
S.S
RUN
STP
1 2 3 4
F/R
LV
PD
EORG
設定値
OFF
ON
ON
OFF
设定值

维修调整要领书
3-7
3-6. 电源灯的更换
按压插座部①的 A 部卡爪(两侧)予以拆下。
取下环②后拆下镜头部分③。
①、②、③POWER LAMP CABLE ASM(货号:40049504)
<TR5DNR>
<TR5DNX>

维修调整要领书
3-8
3-7. 风扇电动机的更换
请卸下 FRONT COVER L①,更换风扇电动机②。
②FAN MOTER ASM(货号:40049505)
A
向视