TR5DNR_维修调整 - 第8页
维修调整要领书 1-4 1- 4. TR5DNR 的设置 请升起调节器①,使成为仅有脚轮②的状态。 请卸下左右的升降机护罩④。

维修调整要领书
1-3
1-3. 信号塔的安装
请拆下 SIDE COVER U R①,将信号塔②安装到框架上,插入连接器。

维修调整要领书
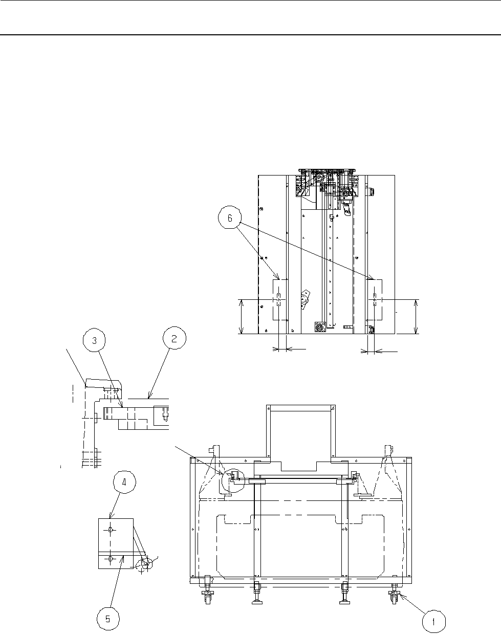
1-4
1-4. TR5DNR 的设置
请升起调节器①,使成为仅有脚轮②的状态。
请卸下左右的升降机护罩④。

维修调整要领书
1-5
升起 4 个部位的脚轮调节器①,将贴片机的台架支架基准面②和本装置的接头块③调整为相同的高度。
如用束线箍⑤预先关闭贴片机的机械操纵阀④,可使作业容易进行。
(作业时请充分注意不要让手指夹入台架升降机)
调整高度后,请进行水平调整。
请把水平仪⑥放在 Y 装置上上进行调整。(±4 格刻度以内)
(使用的水平仪为 1 Div=0.05mm/M)
125
125
25
25
图
2