00194329-03 - 第135页
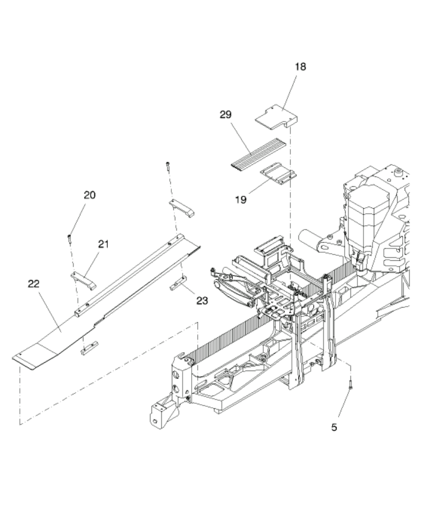
Replacement instructions - Gantry c able and hose carrier SIPLACE HS / S / F 01/2007 Edition 135 2.2.7.3 Design for all gantries 2 2 2 2 2 2 17 Y cable clamping 18 S4 / F4 cable clamp 22 Cable plate 19 Hose guide - X 23 …

Replacement instructions - Gantry cable and hose carrier SIPLACE HS / S / F
01/2007 Edition
134
2.2.7.2 Structure of gantries 2 and 4
2
2
Cable clips 24 Hose guide - Y
4
Partition 25 Separating layer
8
Separating layer 1 26 Spacer
10
C4 board holder, right 27 Cover strip
11
Cover for X cable and hose carrier for 7-way
hose
28 7-way hose, PK-3, black
14
Cable guide 35 Separating layer 2
15
Y carrier mount 36 Partition plate
16
Guide for hose - Y 38 Adhesive tape

Replacement instructions - Gantry cable and hose carrier SIPLACE HS / S / F
01/2007 Edition
135
2.2.7.3 Design for all gantries
2
2
2
2
2
2
17
Y cable clamping
18 S4 / F4 cable clamp 22 Cable plate
19 Hose guide - X 23 Clamp
20 Fillister head screw M3*10 DIN 912 29 7-way hose, PK-3, black
21 Clamping bracket

Replacement instructions - Gantry cable and hose carrier SIPLACE HS / S / F
01/2007 Edition
136
2.2.7.4 Dismantling the cable and hose carrier
: Unscrew the black cover plate over the gantry arm.
2
The fan is fixed to this plate with its cable.
Hold the plate firmly until you have unplugged the fan cable to avoid damaging the cable. 2
2
2
2
2
2
2
2
Loosen the 3 screws