00195724-0102_UM_X-Serie_SR605_IT - 第182页
3 Dati tecnici del dispositivo automatico Manuale per l’uso SIPLACE serie X 3.9 Caricatori X per il carrello CO della serie SIPLACE X A par tire dalla versione di software SR.605.xx Edizione 07/2008 IT 182 3.9.4.3 Adatta…

Manuale per l’uso SIPLACE serie X 3 Dati tecnici del dispositivo automatico
A partire dalla versione di software SR.605.xx Edizione 07/2008 IT 3.9 Caricatori X per il carrello CO della serie SIPLACE X
181
3.9.4.2 Adattatore per caricatori della serie X con caricatore a vibrazione longitudinale
ISTRUZIONE 3
Nella fornitura dell'adattatore per caricatori della serie X è compresa anche una piastra per adat-
tatore:
– La piastra per adattatore deve essere usata per altezze di componenti fino a 16,5 mm.
– A componenti con altezze comprese tra 16,5 mm e 25 mm si può lavorare senza piastra
per adattatore.
3
Fig. 3.9 - 14 Adattatore per caricatori della serie X con caricatore a vibrazione longitudinale
(1) Adattatore per caricatori della serie X (00141305-xx)
(2) Piastra dell'adattatore 16,5 mm (compresa nella fornitura)
(3) Caricatore a vibrazione longitudinale

3 Dati tecnici del dispositivo automatico Manuale per l’uso SIPLACE serie X
3.9 Caricatori X per il carrello CO della serie SIPLACE X A partire dalla versione di software SR.605.xx Edizione 07/2008 IT
182
3.9.4.3 Adattatore per caricatori della serie X con Reject Conveyor
(modulo di smaltimento)
3
Fig. 3.9 - 15 Adattatore per caricatori della serie X con caricatore a vibrazione longitudinale
(1) Adattatore per caricatori della serie X (00141305-xx)
(2) Piastra dell'adattatore per Reject Conveyor (00141308-xx)
(3) Reject Conveyor (modulo di smaltimento)

Manuale per l’uso SIPLACE serie X 3 Dati tecnici del dispositivo automatico
A partire dalla versione di software SR.605.xx Edizione 07/2008 IT 3.9 Caricatori X per il carrello CO della serie SIPLACE X
183
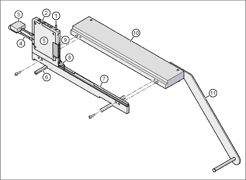
3.9.5 Interfaccia energia e dati per caricatori X
Articolo no. 00141247-xx Interfaccia energia e dati per caricatori X
3
Fig. 3.9 - 16 Interfaccia energia e dati per caricatori X
(1) Tasto di sbloccaggio per sbloccare il dente d'arresto
(2) Pannello di comando
(3) Cavo dati
(4) Cavo d'alimentazione della corrente
(5) Alloggiamento elettronica
(6) Piedi pieghevoli
(7) Profilo a omega per la guida dei caricatori
(8) Dente d'arresto
(9) Foro d'inserimento per il perno di centraggio anteriore del caricatore
(10) Piastra base
(11) Portabobina