00195724-0102_UM_X-Serie_SR605_IT - 第260页
4 Installazione e messa in esercizio Manuale per l’uso SIPLACE serie X 4.3 Installazione del dispositivo automatico A par tire dalla versione di software SR .605.xx Edizione 07 /2008 IT 260 4.3.4.1 Impostare l'altez…

Manuale per l’uso SIPLACE serie X 4 Installazione e messa in esercizio
A partire dalla versione di software SR.605.xx Edizione 07/2008 IT 4.3 Installazione del dispositivo automatico
259
4
Fig. 4.3 - 3 Piedi della macchina del dispositivo automatico
4
(1) Piede esterno della macchina, 4 x, 2 versioni (vedi Fig. 4.3 - 2, pagina 258)
(2) Piede centrale della macchina, 2 x
(3) Distanziatore sul lato dell'innesto d'alimentazione della corrente
(4) Distanziatore sul lato dell'innesto pneumatico
(5) Foro filettato per il piede centrale della macchina
(T) Direzione di trasporto circuito stampato
(P) Innesto pneumatico
(S) Innesto dell'alimentazione di corrente

4 Installazione e messa in esercizio Manuale per l’uso SIPLACE serie X
4.3 Installazione del dispositivo automatico A partire dalla versione di software SR.605.xx Edizione 07/2008 IT
260
4.3.4.1 Impostare l'altezza dei piedi centrali della macchina
Innanzitutto si devono impostare i piedi centrali della macchina. Si deve avvitare il distanziatore
sul lato inferiore nella posizione giusta secondo l'altezza del dispositivo automatico.
Impostazione dell'altezza di trasporto del circuito stampato di 830 mm 4
Per l'altezza di trasporto del circuito stampato di 830 mm non è necessario il distanziatore.
→ Avvitare più lento possibile il piede centrale della macchina nell'apposita filettatura (consul-
tare il punto 5 nella Fig. 4.3 - 3
, pagina 259).
Impostazione dell'altezza di trasporto del circuito stampato di 900 mm 4
Per l'altezza di trasporto del circuito stampato di 900 mm è necessario il distanziatore.
→ Regolarlo in modo che il lato da 90 mm sia allineato verticalmente e che il foro del piede cen-
trale della macchina sia rivolto verso il basso.
4
4
4
4
4
4
4
4
4
4
4
4
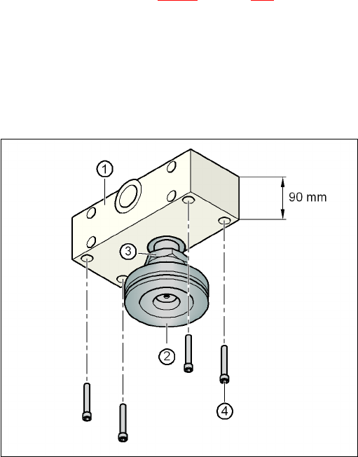
Fig. 4.3 - 4 Direzione del distanziatore per l'altezza di trasporto di 900 mm
4
(1) Altezza del distanziatore di 90 mm
(2) Piede centrale della macchina
(3) Controdado M24
(4) Vite ad esagono cavo M12x80, 4 pezzi
→ Avvitare la filettatura del piede centrale della macchina nel foro del lato inferiore del distan-
ziatore.
→ Allineare i due distanziatori sul lato inferiore della macchina nel modo indicato a seguito:
– l'apertura del distanziatore sul lato dell'innesto pneumatico è rivolta verso la direzione di

Manuale per l’uso SIPLACE serie X 4 Installazione e messa in esercizio
A partire dalla versione di software SR.605.xx Edizione 07/2008 IT 4.3 Installazione del dispositivo automatico
261
trasporto del circuito stampato (vedi il punto 4 nella Fig. 4.3 - 3, pagina 259).
– L'apertura del distanziatore sul lato dell'alimentazione della corrente è rivolta verso la di-
rezione opposta della direzione di trasporto del circuito stampato (vedi il punto 3 nella
Fig. 4.3 - 3
, pagina 259).
→ Fissare entrambi i distanziatori con rispettivamente quattro viti ad esagono cavo M12x80
(vedi il Punto 4 nella Fig. 4.3 - 4
, pagina 260). Per compiere questa operazione usare l'attacco
del cacciavite con chiave di 10 mm.
Impostazione delle altezze di trasporto del circuito stampato di 930 mm e 950 mm 4
Il distanziatore è necessario anche per le altezze di trasporto del circuito stampato di 930 mm e
950 mm.
→ Regolare il distanziatore in modo che il lato da 122,5 mm sia allineato verticalmente e che il
foro del piede centrale della macchina sia rivolto in basso.
4
Fig. 4.3 - 5 Direzione del distanziatore per le altezze di trasporto di 930 e 950 mm
4
(1) Altezza del distanziatore di 122,5 mm
(2) Piede della macchina
(3) Controdado M24
(4) Vite ad esagono cavo M12x80, 4 pezzi
→ Avvitare la filettatura del piede centrale della macchina nel foro del lato inferiore del distan-
ziatore.
→ Posizionare i due distanziatori nel modo descritto a seguito:
– l'apertura del distanziatore sul lato dell'innesto pneumatico è rivolta verso la direzione di
trasporto del circuito stampato (vedi il punto 4 nella Fig. 4.3 - 3
, pagina 259).
122,5 mm