00195724-0102_UM_X-Serie_SR605_IT - 第454页
6 Ampliamenti della stazione Manuale per l’uso SIPLACE serie X 6.18 Modulo lase r di coplanarità A partire dalla versione di so ftware SR.605.xx Edizione 07/2008 IT 454 6.18.5 Contrassegnare il dispositiv o automatico co…

Manuale per l’uso SIPLACE serie X 6 Ampliamenti della stazione
A partire dalla versione di software SR.605.xx 6.18 Modulo laser di coplanarità
Edizione 07/2008 IT
453
La testa TwinHead preleva il componente da controllare, lo centra otticamente con la videoca-
mera CO (vedi la sezione 6.7
, pagina 432) e lo trasporta l'uno dopo l'altro con tutti e quattro i lati
sul raggio laser fisso del modulo laser di coplanarità. Ogni piedino di allacciamento viene letto dal
basso dal raggio laser. La luce laser diffusa dal lato inferiore dei piedini viene raccolta da un sen-
sore e serve da base per il calcolo della posizione esatta dei piedini rispetto al circuito stampato.
I valori di posizione così calcolati vengono poi comparati con il valore limite preimpostato
dall'utente. Se si supera tale valore, il componente viene eliminato o accantonato.
Il modulo laser di coplanarità viene usato in combinazione con il centraggio ottico dei componenti.
I componenti con piedini d'allacciamento piegati o mancanti vengono riconosciuti e se necessario
eliminati.
6.18.3 Dati tecnici
6
6.18.4 Limiti
– Il componente deve avere almeno due o massimo quattro file di piedini Gullwing.
– Le file di piedini devono essere disposte ortogonalmente l'una rispetto all'altra.
– I piedini devono essere disposti ortogonalmente rispetto alla fila di piedini.
– Le estremità dei piedini sono disposte lungo una linea retta.
– Non è possibile misurare componenti con un'unica fila di piedini.
Componenti Gullwing
Precisione ± 18,5 µm (3 (CO di riferimento)
± 24,7 µm (4
± 30,5 µm (3 (CO fino a 32 mm)
± 40,7 µm (4
± 31,3 µm (3 (CO fino a 55 mm)
± 41,7 µm (4
Max. dimensioni CO 55 x 55 mm²
Reticolo min. piedini 300 µm
Max. altezza CO 25 mm
Possibilità di posto Posto 3 nel SIPLACE X2 e X3, in alternativa al modulo laser di
coplanarità 3D
Tipo di testa di montaggio TwinHead

6 Ampliamenti della stazione Manuale per l’uso SIPLACE serie X
6.18 Modulo laser di coplanarità A partire dalla versione di software SR.605.xx
Edizione 07/2008 IT
454
6.18.5 Contrassegnare il dispositivo automatico con il cartello d'avvertenza W216
6
Cartello di avvertenza W216 "Classe di laser 2" sul rivestimento accanto all'interruttore principale
Articolo no. 03010316-01 (numero per ogni dispositivo automatico: 1)
ISTRUZIONE 6
Quando si monta il modulo laser di coplanarità, il dispositivo automatico deve essere classificato
nella classe laser 2. Il modulo laser non è integrato nel circuito di ARRESTO D'EMERGENZA.
6
Fig. 6.18 - 3 Cartello d'avvertenza W216 accanto all'interruttore principale
→ Per questa operazione, contrassegnare il dispositivo automatico con il cartello d'avvertenza
W216 "Classe di laser 2", articolo no. 03010316-xx.
6
6
6
6
6
6
RAGGI LASER!
Non fissare il raggio laser
Classe di laser 2

Manuale per l’uso SIPLACE serie X 6 Ampliamenti della stazione
A partire dalla versione di software SR.605.xx 6.18 Modulo laser di coplanarità
Edizione 07/2008 IT
455
→ Attaccare il cartello d'avvertenza W216 accanto all'interruttore principale sul rivestimento (vedi
Pos. W216 nella Fig. 6.18 - 3
, pagina 454).
6.18.6 Messaggi LED nel controller
6
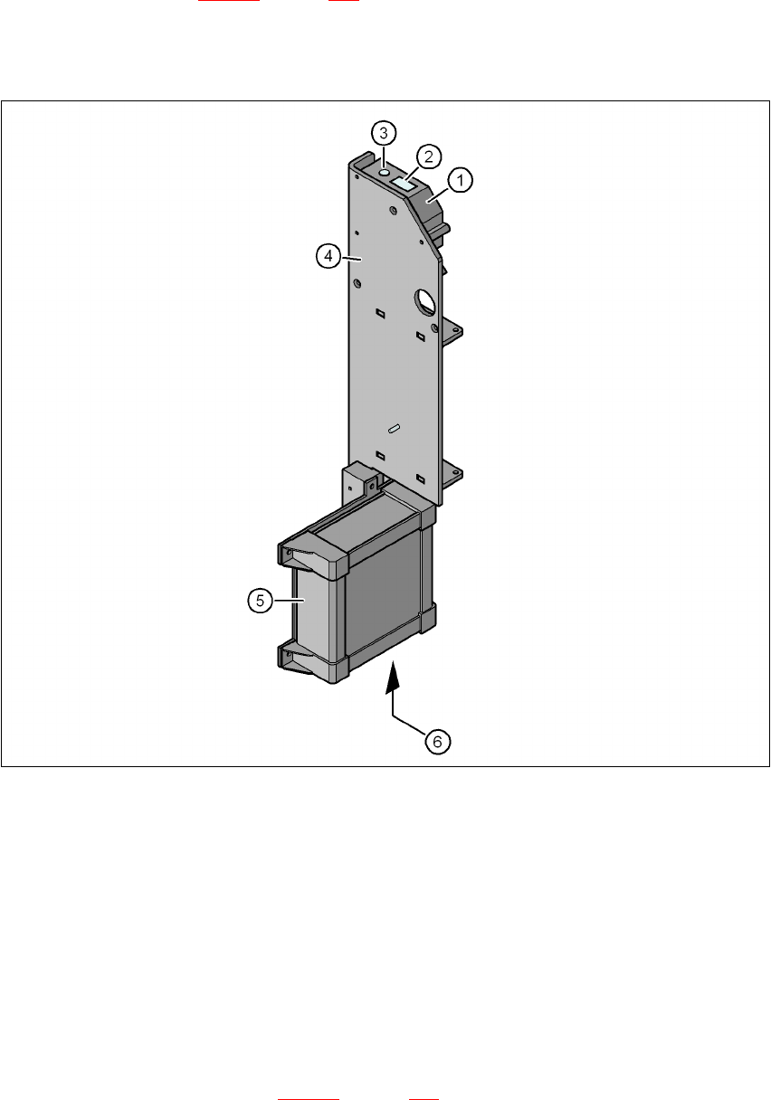
Fig. 6.18 - 4 Modulo laser di coplanarità
(1) Laser sensore
(2) Rilevatore
(3) Emittente laser
(4) Angolo di montaggio
(5) Controller
(6) Messaggi LED, allacciamenti al controller
Gli stati del modulo di coplanarità vengono mostrati da LED, che si trovano nel lato inferiore del
controller (vedi la Pos. 6 nella Fig. 6.18 - 4
, pagina 455).