RS-1-Rev00 - 第58页
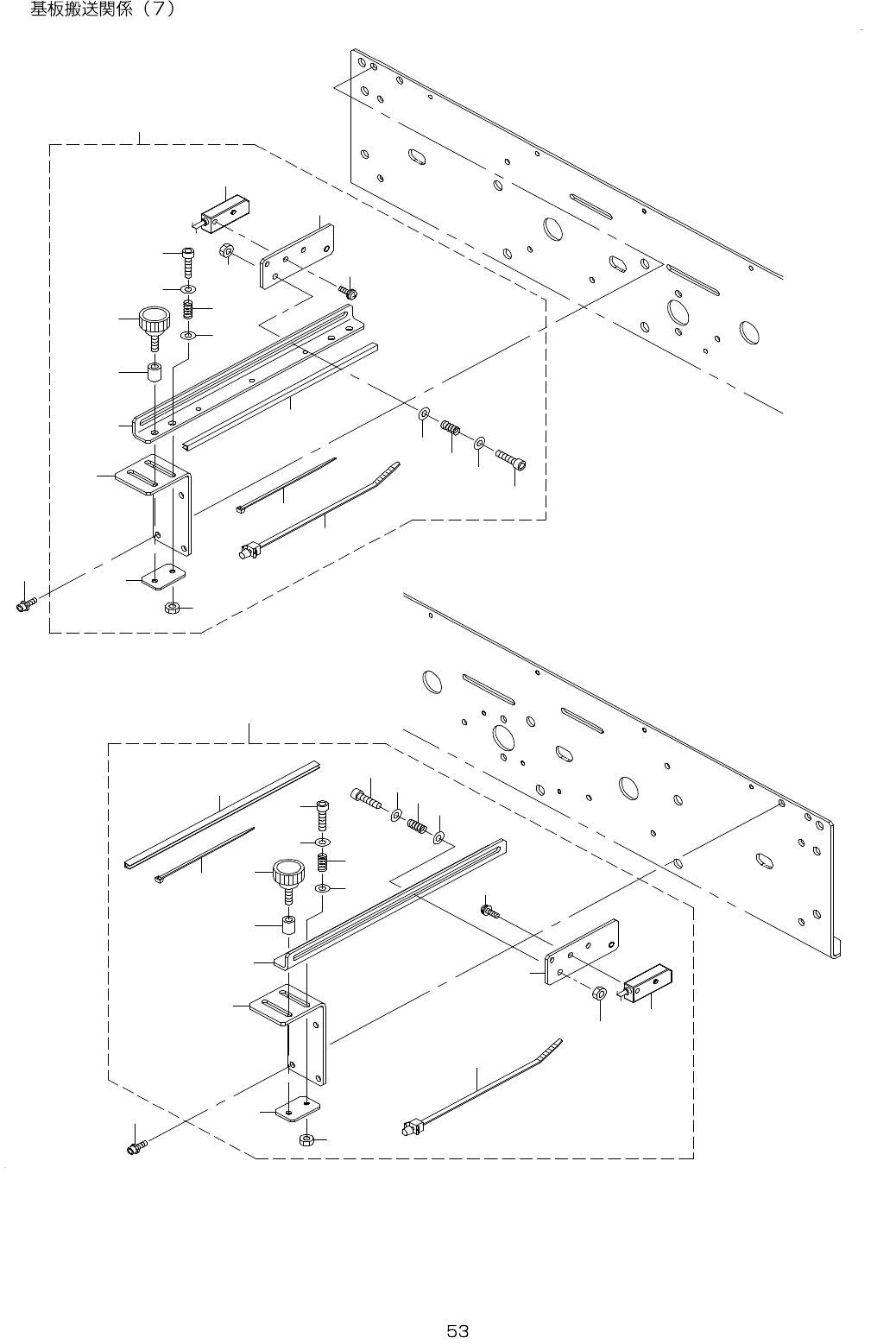
- - 27 . PWB CO NVEY OR CO MP ONE NT S (7 ) 3 2 3 1 7 1 3 3 3 3 3 1 1 6 1 5 3 0 2 5 2 6 1 1 1 1 7 1 9 2 6 2 6 2 5 2 4 2 3 2 2 2 0 2 1 2 6 1 1 1 1 1 0 1 0 2 2 9 7 8 4 2 2 7 1 2 6 2 8 2 7 1 8 1 3 1 2 2 9 1 4 5

- -
REF.NO NOTE PART NO D E S C R I P T I O N Qty
1 401-83552 STOPPER_ASM 1
2 HX-0031400-00 SPIRAL TABE (0.3)
3 401-83036 STOPPER_FRAME_650 (1)
4 WP-0431005-SP PLAIN WASHER (1)
5 SL-4030891-SC SCREW M3X8 (1)
6 400-00910 STOPPER PIN (1)
7 RE-0200000-K0 E-RING 2 (1)
8 WP-0320501-SC WASHER M3 (1)
9 400-00911 STOPER CONNECT (1)
10 PA-1002008-A0 AIR CYLINDER (1)
11 SM-6031402-TN SCREW M3X0.5 L=14 (2)
12 SM-1030601-SC SCREW M3X6 (4)
13 PJ-3040405-11 ELBOW UNION (2)
14 SL-6041292-TN SCREW M4 L=12 (1)
15 401-83038 NUT_PLATE (1)
16 401-83035 STOPPER (1)
17 401-83066 STOPPER_CHIP_650 (1)
18 SM-1030401-SE SCREW M3 L=4 (1)
19 SM-1031201-SC SCREW M3X0.5 L=12 (1)
20 E2039-721-000 WASHER A (2)
21 E2038-721-000 STOPPER COLLAR (1)
22 WP-0330516-SC WASHER 3.3X8X0.5 (1)
23 HX-0034400-00 HARNESS PARTS (1)
24 NM-6030001-SC NUT M3X0.5 TYPE1 (2)
25 401-56968 STOPPER SENSOR ASM (1)
26 PC-0124010-00 SPEED CONTROLLER (2)
27 BT-0400251-EA URETHANE TUBE BLUE 4X2.5 (0.5)
28 401-83070 BU_PIN_SENSOR_DOG (1)

- -
27. PWB CONVEYOR COMPONENTS (7)
3 2
3
1 7
1
3 3
3 3
3 1
1 6
1 5
3 0
2 5
2 6
1 1
1 1
7
1 9
2 6
2 6
2 5
2 4
2 3
2 2
2 0
2 1
2 6
1 1
1 1
1 0
1 0
2 2
9
7
8
4
2
2 7
1 2
6
2 8
2 7
1 8
1 3
1 2
2 9
1 4
5

- -
REF.NO NOTE PART NO D E S C R I P T I O N Qty
1 401-46961 LEFT_SENS_UNIT 1
2 401-46990 SENSOR_BR_A (1)
3 HX-0044000-00 CABLE BAND (1)
4 401-46991 SENSOR_BR_B (1)
5 400-01079 SENSOR BRAKET C (1)
6 400-01076 SENSOR SLIDE PLATE (1)
7 400-00912 SENSOR ADJUST SPRING (3)
8 G6518-880-000 SET PICK-UP (1)
9 400-58815 SPACER (1)
10 SM-6041602-TN SCREW M4X16 (3)
11 WP-0430801-SC WASHER M4 (6)
12 NM-6040002-SE NUT M4X0.7 (3)
13 401-29046 SIDE SENSOR CABLE ASM (1)
14 SL-4031091-SC SCREW M3 L=10 (2)
15 HX-0036700-0A BUSH (0.16)
16 EA-9500B00-00 CABLE BAND (5)
17 401-46962 RIGHT_SENS_UNIT 1
18 400-01079 SENSOR BRAKET C (1)
19 401-46991 SENSOR_BR_B (1)
20 401-46990 SENSOR_BR_A (1)
21 400-01076 SENSOR SLIDE PLATE (1)
22 400-00912 SENSOR ADJUST SPRING (3)
23 G6518-880-000 SET PICK-UP (1)
24 400-58815 SPACER (1)
25 SM-6041602-TN SCREW M4X16 (3)
26 WP-0430801-SC WASHER M4 (6)
27 NM-6040002-SE NUT M4X0.7 (3)
28 401-29046 SIDE SENSOR CABLE ASM (1)
29 SL-4031091-SC SCREW M3 L=10 (1)
30 HX-0036700-0A BUSH (0.16)
31 EA-9500B00-00 CABLE BAND (5)
32 HX-0044000-00 CABLE BAND (1)
33 SL-6031092-TN SCREW M3 L=10 4