DT45T-40 Mechanical - 第33页
Ref No. Remark s R 1 Q'ty 2-B 多段 トレイ リ フト 部 : ST40 Mult i-S tep Tray Li ft Se cti on : ST40 イラスト No. Part No. 品 名 品番 数量 R 2 パーツリスト Kit N o . キット 品 番 Kit Name キット名称 KXFX0361A00 Part Nam e 備 考 セクションN o. PARTS LIST Sec…

2-B
多段
トレイ
リ
フト
部
: ST40
Multi-Step Tray Lift Section:ST40
パーツレイアウト
Kit No.
キット品
番
Kit Name
キット名称
KXFX0361A00
セクションNo.
PARTS LAYOUT
Section No.
--
M17
( KKXFX0361A00-16-2 )

Ref
No.
Remarks
R
1
Q'ty
2-B
多段
トレイ
リ
フト
部
: ST40
Multi-Step Tray Lift Section:ST40
イラスト
No.
Part No.
品 名品番 数量
R
2
パーツリスト
Kit N
o
.
キット品
番
Kit Name
キット名称
KXFX0361A00
Part Name
備 考
セクションNo.
PARTS LIST
Section No.
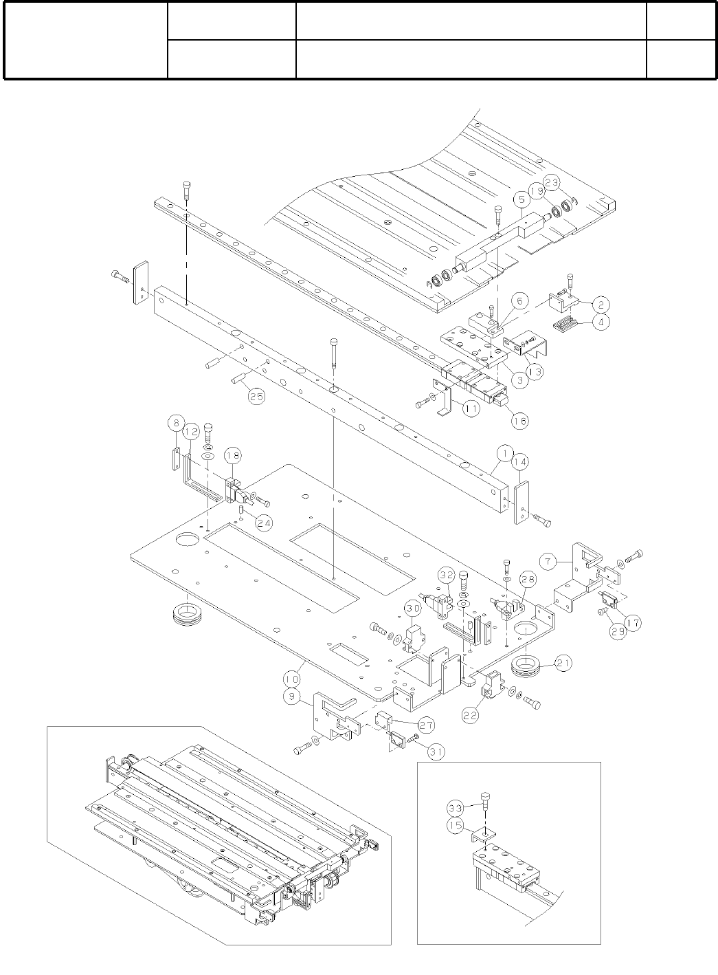
R
3
BLOCK
1
1 KXFB017PB01
PIN
1
2 KXFA03RAA00
PIN
3
3 KXFB0210A00
BRACKET
1
4 KXFB03QSA00
BRACKET
1
5 KXFB017TA01
BRACKET
1
6 KXFB03QTA00
DOG
1
7 KXFB017VA00
BRACKET
1
8 KXFB017YA00
BRACKET
1
9 KXFB017ZA00
GREASE-NIPPLE
5
10 KXF0E3LSA00 A-MT6X1-type(M6X1)
PLATE
1
11 KXFB017RB00
BRACKET
1
12 KXFB0181A01
PIN
4
15 KXF02Y6AA00 MS4-10
JOINT
5
23 KXF0A62AA00 KQ2S04-M6
SPACER
2
24 N510017100AA CB-420E
WASHER
3
25 N510018497AA
Round finish plain washer 4 10H A2J (Trivalent)
BOLT
8
26 N510017350AA
Hexagon socket head cap screw M4X15-10.9 A2J (Trivalent)
M18
--
( KKXFX0361A00-16-2 )

3-A
多
段トレイ引出
部
:ST40S
Multi-Step Tray Drawing-out Section: ST40S
パーツレイアウト
Ki
t
N
o
.
キット
品番
Kit Name
キット名称
KXFX03FKA00
セクションNo.
PARTS LAYOUT
Section No.
--
M19
( KKXFX03FKA00-13-1 )