DGS中文 - 第1240页
NPM-DGS 程序手册 13.4 根据机种辨别标记进行机种切换的功能 Page 13-62 EJS9AC-MB-13P-07 13.4.5 成对基板设定 设定成对的基板,并设定机种辨别标 记的颜色。 1 选择 PPD 管理。 2 点击 [ 自动准备替换 ] 选项卡。 3 点击 [ 机种辨别标记 ] 选项卡。 4 选择成对的第 1 张的批量。 5 在按住 [Ctrl] 键的同时选择第 2 张的批 量。 请指定相同生产数据名的批量。 …

NPM-DGS
程序手册
13.4
根据机种辨别标记进行机种切换的功能
EJS9AC-MB-13P-07 Page 13-61
13.4.4
软开关设定
在软开关下进行
‘
机种辨别标记的检测
’
的设定。
1
打开项目编辑系统,选择
[
设置
]
[
机
器设置
]
。
2
在
‘
机器
’
下选择
‘<
所有
>’
。
3
勾选
‘
检测产品识别标志
’
。
4
在
‘
机器
’
下选择第
1
台。
5
将
‘
路径
’
设为
‘
否
’
。
Howto130404S-01C00
1
Howto130404S-02C00
2
3
Howto130404S-03C00
4
5

NPM-DGS
程序手册
13.4
根据机种辨别标记进行机种切换的功能
Page 13-62 EJS9AC-MB-13P-07
13.4.5
成对基板设定
设定成对的基板,并设定机种辨别标记的颜色。
1
选择
PPD
管理。
2
点击
[
自动准备替换
]
选项卡。
3
点击
[
机种辨别标记
]
选项卡。
4
选择成对的第
1
张的批量。
5
在按住
[Ctrl]
键的同时选择第
2
张的批
量。
请指定相同生产数据名的批量。
6
选择右击菜单的
[
对的设定
]
。
7
设定各个批量的机种辨别标记的颜色。
如果变更单方批量的标记颜色,另一方批量的
标记颜色也将自动改变。
8
点击
[
确定
]
。
在
‘
一对基板
’
中显示成对的基板名称与标记颜
色。
Howto130405S-02C00
8
7
Howto130405S-01C00
1
2
3
4
5
6
Howto130405S-03C00

NPM-DGS
程序手册
13.5 SCAP (Special Convert A Panasert)
EJS9AC-MB-13P-07 Page 13-63
13.5 SCAP (Special Convert A Panasert)
13.5.1
概要
SCAP
是可将
Panasert
系列的贴装机程序转换成可导入
DGS
的文件格式的工具。
关于可进行转换的贴装机、贴装机程序,请参照
‘13.5.5
转换对象贴装机
/
转换文件一览
’
。
数据转换的流程
从通过
SCAP
转换
Panasert
系列的贴装机程序,到通过
DGS
实施最佳化的流程如下所示。
指定转换后的文件输出处以及转换到
SCAP
的
贴装机程序。
(
‘13.5.4
选择贴装机程序
’)
当不存在基板尺寸信息时,在
<Board size
setting>
画面上指定基板尺寸。
(
‘13.5.6
设定基板尺寸
’)
当在同一程序内无法链接
POS / SET
文件时,
在
<File Matching>
画面上进行分配。
(
‘13.5.7
贴装机程序的分配
’)
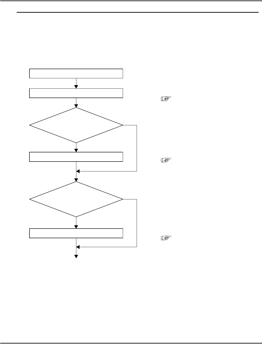
启动
SCAP
选择贴装机程序
贴装机程序的分配
下一页
设定基板尺寸
YES
NO
存在多个相同程序名的
POS
文件与
SET
文件。
YES
NO
没有基板尺寸信息。