DT40S-20 Mechanical - 第34页
3-A 多 段トレイ引出 部 :ST40S Multi-Step T ray Draw ing-out Section: ST40S パーツレイアウト Ki t N o . キット 品番 Kit N am e キット名称 KXFX03FKA00 セクションNo. PARTS LAYOUT Section No. - - M19 ( KKXFX03FKA00-13-1 )

Ref
No.
Remarks
R
1
Q'ty
2-B
多
段トレイリフト
部
Multi-Step Tray Lift Section
イラスト
No.
Part No.
品 名品番 数量
R
2
パーツリスト
Kit N
o
.
キット品
番
Kit Name
キット名称
N610090464AA
Part Name
備 考
セクションNo.
PARTS LIST
Section No.
R
3
PLATE
1
1 KXFB017RB00
PIN
1
2 KXFA03RAA00
PIN
3
3 KXFB0210A00
BLOCK
1
4 KXFB017PB01
BRACKET
1
5 KXFB03QTA00
BRACKET
1
6 KXFB03QSA00
BRACKET
1
7 KXFB0181A01
BRACKET
1
8 KXFB017TA01
DOG
1
9 N210060892AA
BRACKET
1
10 KXFB017YA00
BRACKET
1
11 KXFB017ZA00
GREASE-NIPPLE
5
12 N560AMT6-130 A-MT6X1-Type(M6X1)
PIN
4
13 N986MMS410 MMS4-10
JOINT
5
14 KXF0A62AA00 KQ2S04-M6
SPACER
2
15 N510017100AA CB-420E
BOLT
8
16 N510017350AA
Hexagon socket head cap screw M4X15-10.9 A2J (Trivalent)
M18
--
( KN610090464AA-05-2 )

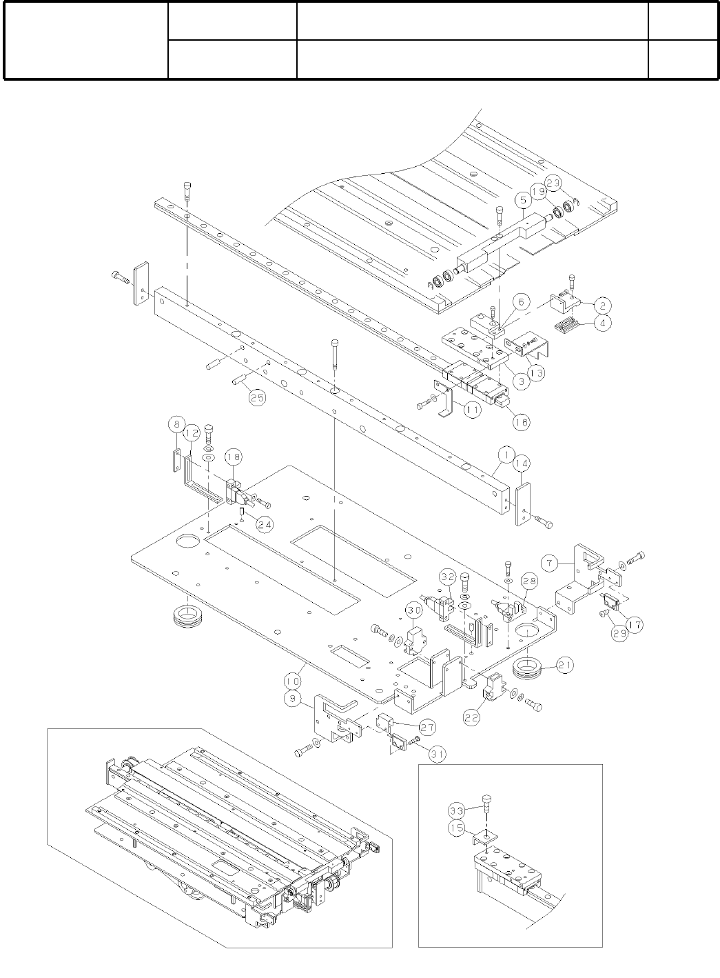
3-A
多
段トレイ引出
部
:ST40S
Multi-Step Tray Drawing-out Section: ST40S
パーツレイアウト
Ki
t
N
o
.
キット
品番
Kit Name
キット名称
KXFX03FKA00
セクションNo.
PARTS LAYOUT
Section No.
--
M19
( KKXFX03FKA00-13-1 )

Ref
No.
Remarks
R
1
Q'ty
3-A
多
段トレイ引出
部
:ST40S
Multi-Step Tray Drawing-out Section: ST40S
イラスト
No.
Part No.
品 名品番 数量
R
2
パーツリスト
Kit N
o
.
キット品
番
Kit Name
キット名称
KXFX03FKA00
Part Name
備 考
セクションNo.
PARTS LIST
Section No.
R
3
BLOCK
1
1 KXFB0184A00
BRACKET
1
2 KXFB0185A00
PLATE
1
3 KXFB0186A00
PLATE
1
4 KXFB0188A00
BLOCK
1
5 KXFB0189A00
PLATE
1
6 KXFB018AA00
BRACKET
1
7 KXFB018FA00
NUT
2
8 KXFB009DA01
BRACKET
1
9 KXFB018GA00
PLATE
1
10 KXFB0480A01
DOG
1
11 KXFB018LA00
PW003C2
2
12 KXFB018MA00
DOG
1
13 KXFB018NA00
PLATE
2
14 KXFB018RA00
BRACKET
1
15 N210044423AA
LINEAR-WAY
1
16 N510063227AA 2SRS12MUU+528.5LM
PH-SENSOR
1
17 KXF0DYSCA00 UM-T50T1(DA KXF0DYSCA00)
PH-SENSOR
1
18 KXF0DYSFA00 PM-L53B-C1(DA KXF0DYSFA00)
BEARING
4
19 KXF08S3AA00 MR126ZZ
GROMMET
2
21 KXF08KNAA00 C-30-NG-79-O
PH-SENSOR
1
22 KXF0DYSHA00 PM2-LH10B-C1(DA KXF0DYSHA00)
E-RING
2
23 KXF01XCAA00 ETW-4
PIN
2
24 KXF09J4AA00 SPP4-8
PIN
2
25 KXF094SAA00 SPP5-16
SLIT
1
27 KXFB02RUA00
PH-SENSOR
1
28 KXF0DYSDA00 PM-L53B-C1(DA KXF0DYSDA00)
SCREW
2
29 N510017968AA
Cross Recessed Round Head Screw M2X4-4.8 A2J (Trivalent)
PH-SENSOR
1
30 KXF0DYSEA00 PM2-LH10B-C1(DA KXF0DYSEA00)
SCREW
2
31 N510017970AA
Cross Recessed Round Head Screw M2X6-4.8 A2J (Trivalent)
PH-SENSOR
1
32 KXF0DYSGA00 PM-L53B-C1(DA KXF0DYSGA00)
BOLT
1
33 N510022770AA WA SOCKET SP TYPE M3X8-10.9 A2J (Trivalent)
M20
--
( KKXFX03FKA00-13-1 )