P-201-001e.pdf - 第49页
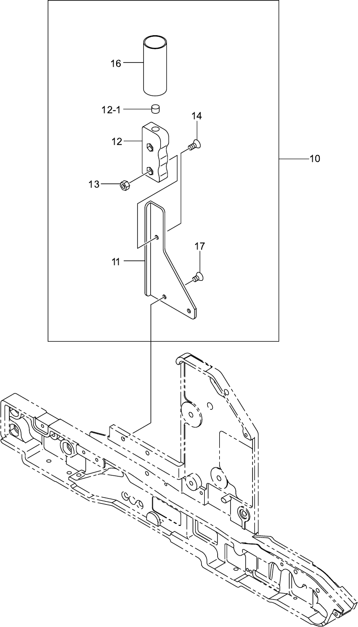
0108-002 3-6 ㇱຠ⇟ภ ㇱ ຠ ฬ ⠨ PART No . P ART NAME REMARKS CT-1690TL-04,08,12,16 10 630 071 0649 ASSY,BRA CKET (TG-1660) 1 11 630 054 4800 BRA CKET 1 671TL-01B-001 12 630 070 7601 BRA CKE T(G RIP) 1 671TL-01B-002 12 -1 630…

0108-002
16mm ࠹ࡊࡈࠖ࠳ 16mm TAPE FEEDER
Fig. 3-6 TAG Assy TAG Assy
TG-1660 TG-1660

0108-002
3-6
ㇱຠ⇟ภ ㇱ ຠ ฬ ⠨
PART No. PART NAME REMARKS
CT-1690TL-04,08,12,16
10 630 071 0649 ASSY,BRACKET(TG-1660) 1
11 630 054 4800 BRACKET 1 671TL-01B-001
12 630 070 7601 BRACKET(GRIP) 1 671TL-01B-002
12 -1 630 085 1526 UNIT,I/O 1 671TL-01H-001
13 411 054 8506 NUT HEX 4 1 M4 F
14 411 113 4708 SCR FLT 4X10 1 M4X10 FLT
16 630 041 6213 TUBE,WIRING 1 671TL-01H-002
17 411 140 7208 SCR FLT 4X6 2 M4X6 FLT
ᵈᗧ
NOTE
ᢙ㊂
Q'ty
⇟
ภ
Key No.
(GREEN)
GREEN

0003-001
24mm ࠹ࡊࡈࠖ࠳ 24mm TAPE FEEDER
Fig. 4-1 ࠞ࠶࠻ࡏ࠺ࠖㇱ Cassette Body Section