P-201-001e.pdf - 第19页

0209-003 1-3 ㇱຠ⇟ภ ㇱ ຠ ฬ ஻ ⠨ PART No . PART NAME REMARKS CT-0890S,TS CT-0891S,TS CT-0892S,TS CT-0893S,TS CT-0895S,TS CT-0896S,TS CT-0897S,TS CT-0898S,TS 1 630 063 6451 FRAM E 671BS-01B-001 2 630 039 3545 PIN,LOC ATE 671BS…

100%1 / 90
0108-002
8mm ᏷࠹࡯ࡊࡈࠖ࡯࠳ 8mm TAPE FEEDER
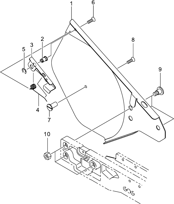
Fig. 1-3 ዊ࡝࡯࡞ࡎ࡞࠳ Small Reel Holder
RL-0861S RL-0861S
0209-003
1-3
ㇱຠ⇟ภ
PART No. PART NAME REMARKS
CT-0890S,TS
CT-0891S,TS
CT-0892S,TS
CT-0893S,TS
CT-0895S,TS
CT-0896S,TS
CT-0897S,TS
CT-0898S,TS
1 630 063 6451 FRAME 671BS-01B-001
2 630 039 3545 PIN,LOCATE 671BS-01B-004
3 630 055 1716 LEVER 671BS-01B-008
4 630 062 5202 SPRING,TORSION 671BS-01B-005
5 411 001 0201 RING E 5 671BS-01H-003
6 411 034 7208 SCR FLT 3X8 M3X8 FLT
7 630 061 2981 PIN,LOCATE 671BS-01B-006
8 411 034 7208 SCR FLT 3X8 M3X8 FLT
9 630 010 6534 BOLT(REEL HOLDER) 671BS-01B-007
10 411 004 6903 NUT HEX 6 M6-3 F
3
3
1
1
1
1
⷗಴⇟
Key No.
ᢙ㊂
Q'ty
1
1
ᵈᗧ
NOTE
1
1
0108-002
8mm ᏷࠹࡯ࡊࡈࠖ࡯࠳ 8mm TAPE FEEDER
Fig. 1-4 ᄢ࡝࡯࡞ࡎ࡞࠳ Large Reel Holder
RL-0861L RL-0861L