P-201-001e.pdf - 第61页
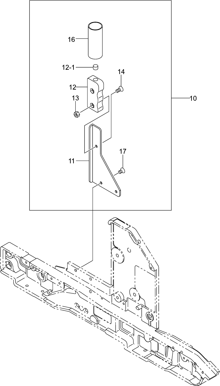
0108-002 4-6 ㇱຠ⇟ภ ㇱ ຠ ฬ ⠨ PART No . P ART NAME REMARKS CT-2490TL-08,12,16 CT-2491TL-20,24 10 630 071 0656 ASSY,BRA CKET (TG-2460) 1 10 630 071 0717 ASSY,BRA CKET (TG-2461) 1 11 630 054 4800 BRA CKET 1 1 671TP-01B-001 1…

0108-002
24mm ࠹ࡊࡈࠖ࠳ 24mm TAPE FEEDER
Fig. 4-6 TAG Assy TAG Assy
TG-2460, 2461 TG-2460, 2461

0108-002
4-6
ㇱຠ⇟ภ ㇱ ຠ ฬ ⠨
PART No. PART NAME REMARKS
CT-2490TL-08,12,16
CT-2491TL-20,24
10 630 071 0656 ASSY,BRACKET(TG-2460) 1
10 630 071 0717 ASSY,BRACKET(TG-2461) 1
11 630 054 4800 BRACKET 1 1 671TP-01B-001
12 630 070 7601 BRACKET(GRIP) 1 1 671TP-01B-002
12 -1 630 085 1526 UNIT,I/O 1 1 671TP-01H-001
13 411 054 8506 NUT HEX 4 1 1 M4 F
14 411 113 4708 SCR FLT 4X10 1 1 M4X10 FLT
16 630 039 7079 TUBE,WIRING 1 671TP-01H-002
16 630 041 6237 TUBE,WIRING 1 671TK-01H-002
17 411 140 7208 SCR FLT 4X6 2 2 M4X6 FLT
ᢙ㊂
Q'ty
ᵈᗧ
NOTE
⇟
ภ
Key No.
(YELLOW)
(ORANGE)
YELLOW
ORANGE

0003-001
32mm ࠹ࡊࡈࠖ࠳ 32mm TAPE FEEDER
㧔ࠛࡦࡏࠬ࠹ࡊ↪㧕 (for Embossed Tape)
Fig. 5-1 ࠞ࠶࠻ࡏ࠺ࠖㇱ Cassette Body Section