MPAV2B Parts list(Electrical20090625) - 第63页
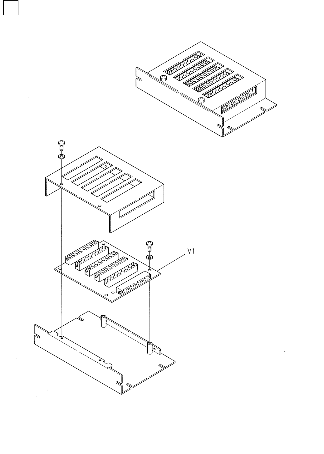
イラスト No. REF No. PART No. PAR T NAME REMAR KS Q'TY 14 AC分岐BO X AC BRANCH B OX 部 品 名 品 番 個数 備 考 1 3042737100 AC BRANCH BOX AC ブンキBOX V 1 1 N209FB2653 BOARD キバン FB2653 E44 F30427-37-100 -AA_A

AC分岐BOX
AC BRANCH BOX
14
F30427-37-100-AA_A
E43

イラスト
No.
REF
No.
PART No.
PART NAME
REMARKS
Q'TY
14
AC分岐BOX
AC BRANCH BOX
部 品 名 品 番 個数
備 考
1 3042737100
AC BRANCH BOX AC
ブンキBOX
V 1
1
N209FB2653
BOARD キバン FB2653
E44
F30427-37-100-AA_A

パーツカセットコントローラ(P938C-00-A)
COMPONENT FEEDER CONTROLLER
15
FN1P938C00A
E45