Cutting device_20211122_064012 - 第6页
Cutting device Page 6 / 8 22.11.2021

Cutting device
Page 5 / 8 22.11.2021

Cutting device
Page 6 / 8 22.11.2021

Cutting device
Page 7 / 8 22.11.2021
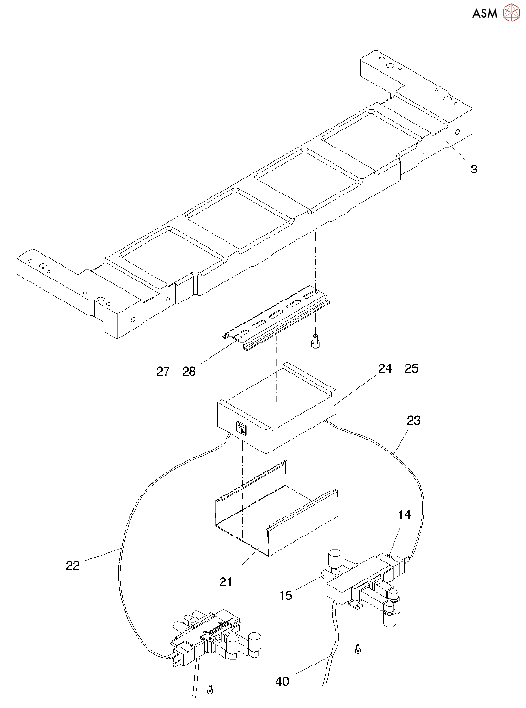
Pos. Item no. Description Part marking
1 03041953-02 MODUL TAPE CUTTER
2 03019941S05 TAPE CUTTER PNEUM. SIPLACE HF SPARE PART
3 03000489-06 MOUNTING PLATE FINISH PART
(SIPLACE HF)
SPARE PART
4 03000491-02 WIPER (TAPE CUTTER HF) SPARE PART
5 03019894-03 PROTECTIVE GUARD (SIPLACE HF) SPARE PART
6 03019896-03 BAFFLE PLATE (SIPLACE HF) SPARE PART
7 03000495-05 COVER PLATE (TAPE CUTTER HF)
8 03005526-01 HOLD-DOWN BRIDGE LE (TAPE
CUTTER HF)
9 03000506-03 WIPER-CLIP LEFT (SIPLACE HF) SPARE PART
10 03000505-03 WIPER-CLIP RI (TAPE CUTTER HF) SPARE PART
11 03000518-03 HINGE (TAPE CUTTER HF) SPARE PART
12 03000493-02 CABLE TRAY (TAPE CUTTER HF)
13 03000553-02 MEASURER COVER (TAPE CUTTER
HF)
STANDARD PARTS
14 03000630-01 VALVE COMPL. (TAPE CUTTER HF)
15 00310744-01 SILENCER G-1/8 WEAR PART
16 03009259-03 MEASURER SET ALIGNET (TAPE
CUTTER HF)
SPARE PART
17 00329209-01 METAL BUFFER M4,65 SHORE SPARE PART
18 00332894S03 PROXIMITY SWITCH W/ CABLE TAPE
CUT. S50
SPARE PART
19 03038587-01 SHORT STROKE CYLINDER 50X40 SPARE PART
20 03000600-01 THROTTLE VALVE AS2201F-02-06SA SPARE PART
21 00340658-01 COVER
22 00332896-01 CABLE: CONTROL UNIT -CUTTER
LEFT VALVE
SPARE PART
23 00334380-01 CABLE: CONTROL UNIT-CUTTER
RIGHT VALVE
SPARE PART
24 03006411-02 CONTROL UNIT TAPE CUTTER HF SPARE PART
25 03006414-01 PROGR. FLASH CONTROL UNIT HF/X-
SERIES
*
27 03000650-01 MOUNTING PLATE F. CONTROL BOX
28 00304900S01 BRACKET RAIL T35*7,5MM W.HOLE
ST.0.25M
SPARE PART
39 03005529-01 HOLD-DOWN BRIDGE RI (TAPE
CUTTER HF)