P-0197-001 - 第246页
MODEL TCM-3500Z-2 0109-001 244 ࠞࡃㇱ COVER SECTION Fig.12-1 ᚻߔࠅ Handrail 1 1 3 4 30 30 31 31 32 32 33 33 1 2 3 0 3 1 3 0 31 31 3 2 33 33 32 32 33 33 4 1 4 2 30 30 3 0 3 0 3 1 3 1 3 1 3 1 3 2 3 2 32 32 33 33 33 33 3 3 3 3 …

MODEL TCM-3500Z-2
0109-001
243
Key No. PART No. PART NAME Q’ty REMARKS
NOTE
11-21
1 630 094 2965 PANEL 1 678FB-02V-052
2 630 001 0220 WASHER 4 BW5
3 411 141 6705 WASHER SPR 5 4 SW5
4 630 000 7756 BOLT,HEX-SCT 4 M5X12
5 630 094 2866 COVER 1 678FB-02V-053
6 411 119 2104 WASHER V 4X9X0.8 6 FW4 F
7 411 008 1706 WASHER SPR 4 6 SW4 F
8 411 042 3001 SCR PAN 4X10 6 M4X10 PAN
9 630 094 2873 COVER 1 678FB-02V-054
10 411 051 2804 SCR TRS 4X8 6 M4X8 TRS
11 630 094 7250 RESISTOR,SPECIAL 4 RR11, RR12, RR13, RR14
678FB-02D-906
12 411 113 2209 SCR PAN 4X16 8 M4X16 PAN
13 411 119 2104 WASHER V 4X9X0.8 8 FW4 F
14 411 008 1706 WASHER SPR 4 8 SW4 F
15 411 054 8506 NUT HEX 4 8 M4 F
17 411 119 2104 WASHER V 4X9X0.8 2 FW4 F
18 411 008 1706 WASHER SPR 4 2 SW4 F
19 411 042 3001 SCR PAN 4X10 2 M4X10 PAN
20 630 049 3672 BRACKET,WIRING 2 678FB-02D-158
21 630 049 3757 ACCESSORY,WIRING 1 678FB-02D-174
22 630 049 3696 TERMINAL 8 678FB-02D-918
23 630 049 3726 ACCESSORY,WIRING 1 678FB-02D-919
24 630 049 3733 ACCESSORY,WIRING 1 678FB-02D-156
26 630 094 2965 PANEL 1 678FB-02V-052
27 630 001 0220 WASHER 4 BW5
28 411 141 6705 WASHER SPR 5 4 SW5
29 630 000 7756 BOLT,HEX-SCT 4 M5X12
30 630 094 2866 COVER 1 678FB-02V-053
31 411 119 2104 WASHER V 4X9X0.8 6 FW4 F
32 411 008 1706 WASHER SPR 4 6 SW4 F
33 411 042 3001 SCR PAN 4X10 6 M4X10 PAN
34 630 094 2873 COVER 1 678FB-02V-054
35 411 051 2804 SCR TRS 4X8 6 M4X8 TRS
36 630 094 7250 RESISTOR,SPECIAL 4 RR21, RR22, RR23, RR24
678FB-02D-906
37 411 113 2209 SCR PAN 4X16 8 M4X16 PAN
38 411 119 2104 WASHER V 4X9X0.8 8 FW4 F
39 411 008 1706 WASHER SPR 4 8 SW4 F
40 411 054 8506 NUT HEX 4 8 M4 F
42 411 119 2104 WASHER V 4X9X0.8 2 FW4 F
43 411 008 1706 WASHER SPR 4 2 SW4 F
44 411 042 3001 SCR PAN 4X10 2 M4X10 PAN
45 630 049 3672 BRACKET,WIRING 2 678FB-02D-158
46 630 049 3757 ACCESSORY,WIRING 1 678FB-02D-174
47 630 049 3696 TERMINAL 8 678FB-02D-918
48 630 049 3726 ACCESSORY,WIRING 1 678FB-02D-919
49 630 049 3733 ACCESSORY,WIRING 1 678FB-02D-156

MODEL TCM-3500Z-2
0109-001
244
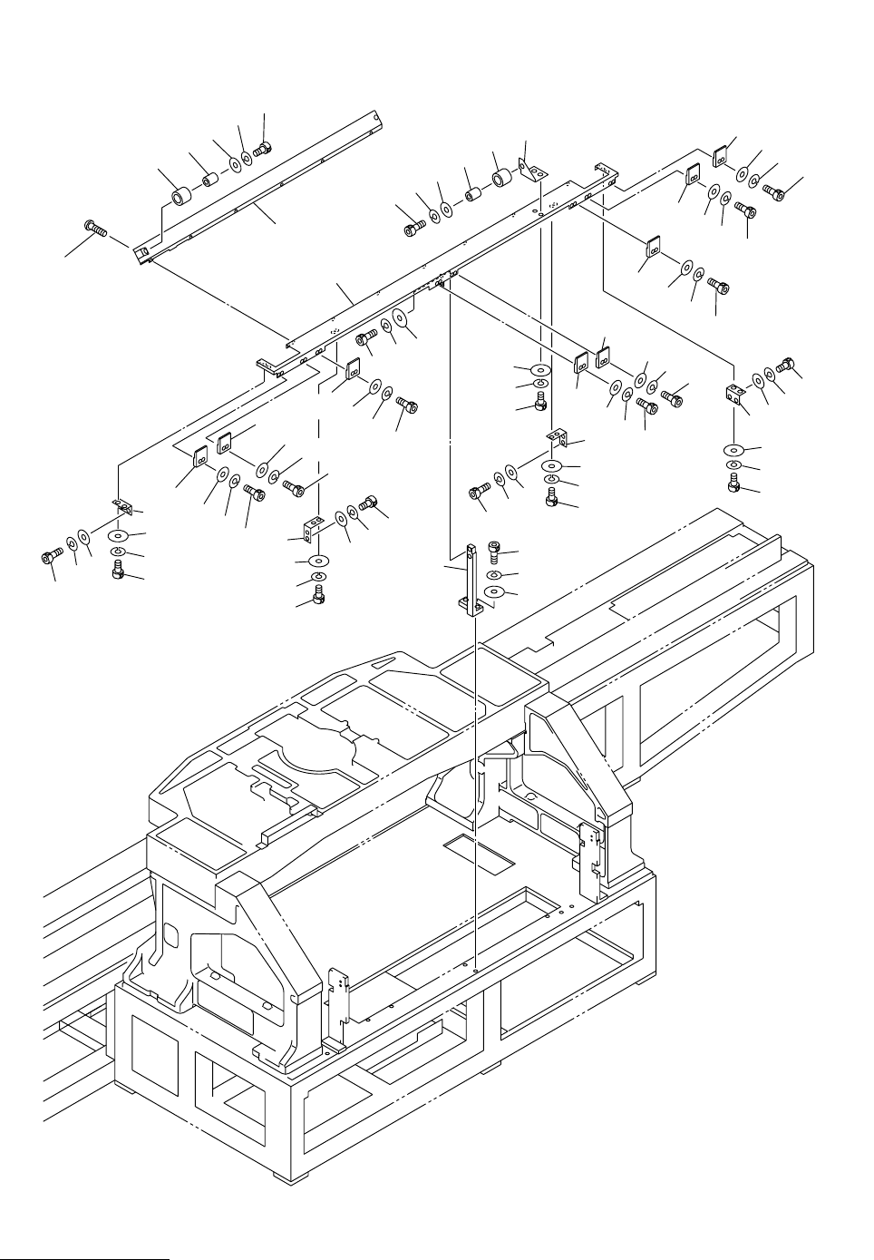
ࠞࡃㇱ COVER SECTION
Fig.12-1 ᚻߔࠅ Handrail
11
34
30
30
31
31
32
32
33
33
12
30
31
30
31
31
32
33
33
32
32
33
33
41
42
30
30
30
30
31
31
31
31
32
32
32
32
33
33
33
33
33
33
32
30
41
42
43
44
45
45
13
14
15
35
35
43
43
44
45
45
7
10
10
9
8
13
14
15
16
18
17
30
30
31
31
32
33
6
10
10
9
8
6
13
13
14
15
15
10
9
8
10
10
9
8
7
13
14
15
13
13
14
14
15
1
2
3
4
Fig.12-1
TCM-3500Z-2

MODEL TCM-3500Z-2
0109-001
245
Key No. PART No. PART NAME Q’ty REMARKS
NOTE
12-1
1 630 058 2468 BRACKET 1 678R--02B-108
2 630 001 0237 WASHER 2 BW6
3 411 141 3001 WASHER SPR 6 2 SW6
4 630 000 7916 BOLT,HEX-SCT 2 M6X30
6 630 058 8644 BRACKET 2 678R--02B-112
7 630 050 7492 BRACKET 2 678R--02B-113
8 411 141 4107 WASHER V 5X10X1 8 FW5
9 411 141 6705 WASHER SPR 5 8 SW5
10 630 000 7756 BOLT,HEX-SCT 8 M5X12
11 630 064 8768 COVER(BC) 1 678R--02B-110
12 630 064 8751 BRACKET 1 678R--02B-106
13 630 001 0220 WASHER 10 BW5
14 411 141 6705 WASHER SPR 5 10 SW5
15 630 000 7756 BOLT,HEX-SCT 10 M5X12
16 630 001 0220 WASHER 2 BW5
17 411 141 6705 WASHER SPR 5 2 SW5
18 630 000 7756 BOLT,HEX-SCT 2 M5X12
30 630 030 0031 MECH PARTS(BRACKET) 8 678R--02H-013
31 411 141 4107 WASHER V 5X10X1 16 FW5
32 411 141 6705 WASHER SPR 5 16 SW5
33 630 000 7763 BOLT,HEX-SCT 16 M5X16
34 630 065 7326 COVER 1 678R--02B-107
35 411 113 9109 SCR TRS 5X10 6 M5X10 TRS
41 630 028 9909 MECH PARTS(URETHANES) 2 678R--02H-004
42 630 038 9698 COLLAR 2 678R--02B-105
43 411 141 4305 WASHER V 6X12.5X1.6 2 FW6
44 411 141 3001 WASHER SPR 6 2 SW6
45 630 000 7916 BOLT,HEX-SCT 2 M6X30