TT2Parts List__N7202A058B.pdf - 第218页
8 基板下受けブロック260mm対応(自動交換用)(Front側):NPM-TT2 Board Support Block260mmSuppor t(Automatic Change)(F):N パーツレイアウト Kit No. キット 品番 Kit Name キット名称 MTKA005139AA セクションNo. PARTS LAYOUT Section No. - - O35 ( KMTKA005139AA-03 )

Ref
No.
Remarks R
1
Q'ty
7
下受ピンセット治具:NPM-TT2
Support Pin Setting Jig:NPM-TT2
イラスト
No.
Part No.
品 名品 番 数量
R
2
パーツリスト
Kit No.
キット品番
Kit Name
キット名称
MTKA008691AA
Part Name
備 考
セクションNo.
PARTS LIST
Section No.
R
3
PLATE
1
1 N210199856AB
PLATE
2
2 MTPA014056AA
PLATE
2
3 N210164848AB
GUIDE
2
4 N210174116AA
PLATE
2
5 N210164849AB
GUIDE
2
6 N210174117AA
GUIDE
2
7 N210199857AA
STOPPER
2
8 N210161448AB
BLOCK
2
9 N210161449AB
GUIDE
2
10 N210161447AB
GUIDE
2
11 MTPA011693AA
KNOB
8
12 N986KNMS-834 KNMS-16-M4X10
PIN
6
13 N510020617AA MMS6-10
PIN
4
14 N510020618AA MMS6-15
RUBBER-LEG
5
15 N982TK5183 TK-26
PLUNGER
2
16 N510060262AA MPS-5
SPACER
5
17 N510014226AA CF-304.5ZE
SPACER
2
18 N510020954AA SM-401E
O34
--
( KMTKA008691AA-01 )

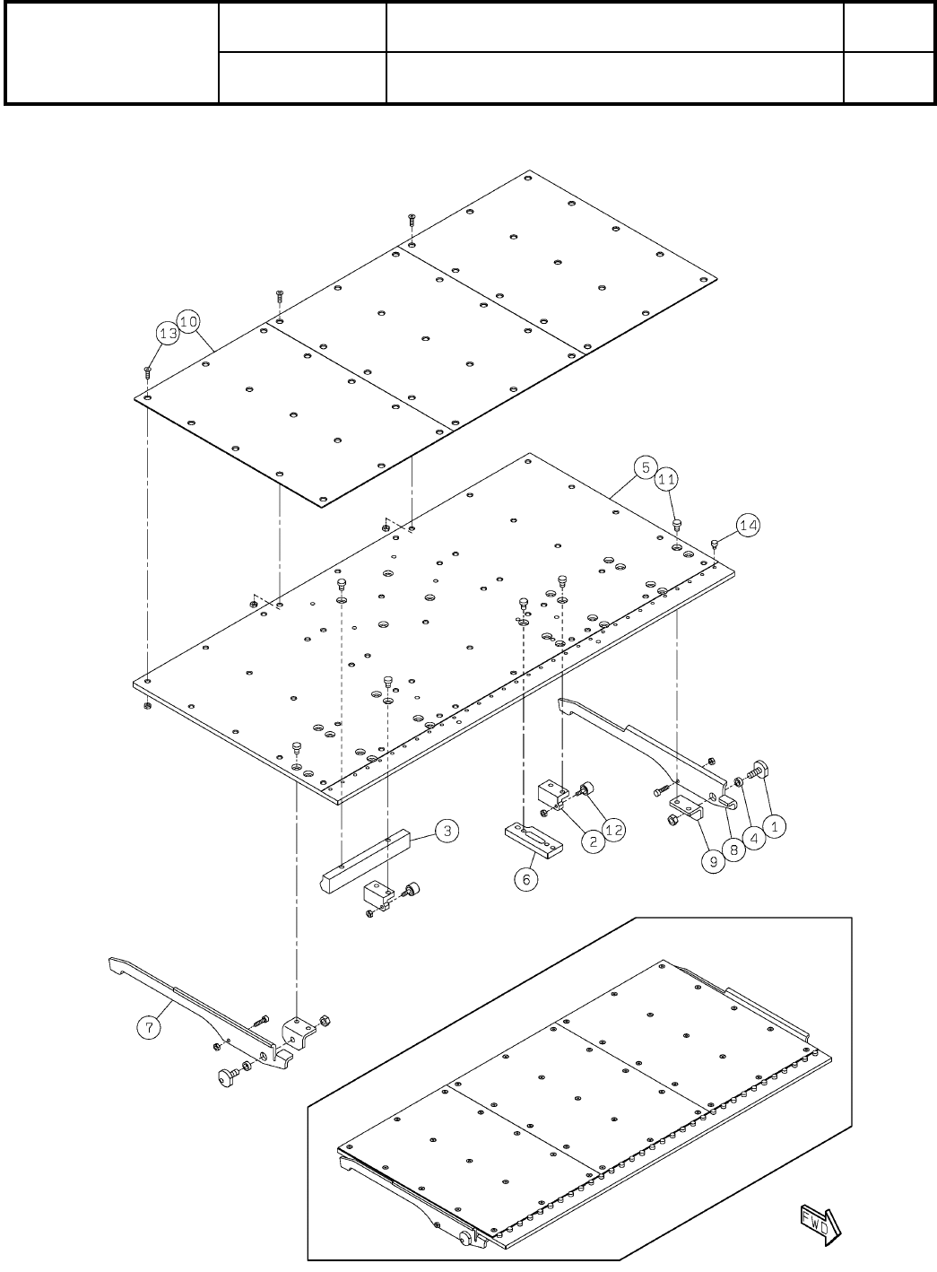
8
基板下受けブロック260mm対応(自動交換用)(Front側):NPM-TT2
Board Support Block260mmSupport(Automatic Change)(F):N
パーツレイアウト
Kit No.
キット品番
Kit Name
キット名称
MTKA005139AA
セクションNo.
PARTS LAYOUT
Section No.
--
O35
( KMTKA005139AA-03 )

Ref
No.
Remarks R
1
Q'ty
8
基板下受けブロック260mm対応(自動交換用)(Front側):NPM-TT2
Board Support Block260mmSupport(Automatic Change)(F):N
イラスト
No.
Part No.
品 名品 番 数量
R
2
パーツリスト
Kit No.
キット品番
Kit Name
キット名称
MTKA005139AA
Part Name
備 考
セクションNo.
PARTS LIST
Section No.
R
3
PIN
2
1 N210161075AA
BRACKET
2
2 N210161077AB
BRACKET
1
3 N210170229AB
COLLAR
2
4 N210156596AA
PLATE
1
5 MTPA008312AB
BLOCK
1
6 MTPA008313AA
LEVER
1
7 N210161078AC
LEVER
1
8 N210161079AC
BRACKET
2
9 N210156599AB
PLATE
3
10 MTKA005155AA
BOLT
12
11 N510067772AA Low Head Cap Screw M4X6-8.8 A2J(Trivalent)
CAM-FOLLOWER
2
12 KXF00BFAA00 CF3UU-A
BOLT
45
13 N510017610AA
Hexagon socket Flat head bolt M3X10-10.9 A2J (Trivalent)
BOLT
32
14 XVE3B4VW Hexagon socket head cap screw M3X4-A2-70
O36
--
( KMTKA005139AA-03 )