HT121 (Mechanical20111025) - 第213页
PART No. イラスト No. REF No. PART NAME REMARKS Q'TY 1 空圧制御部 (アッパーフレーム 部) PNEUMATIC S YSTEM SECT.(UP PER FRAME SE CT.) 部 品 名 品 番 個数 備 考 R 1 R 2 1 1081103200 UPPER FRAME U NIT アッハ ゚ーフレームユニット 1 201 108110320101 PLATE プレ…

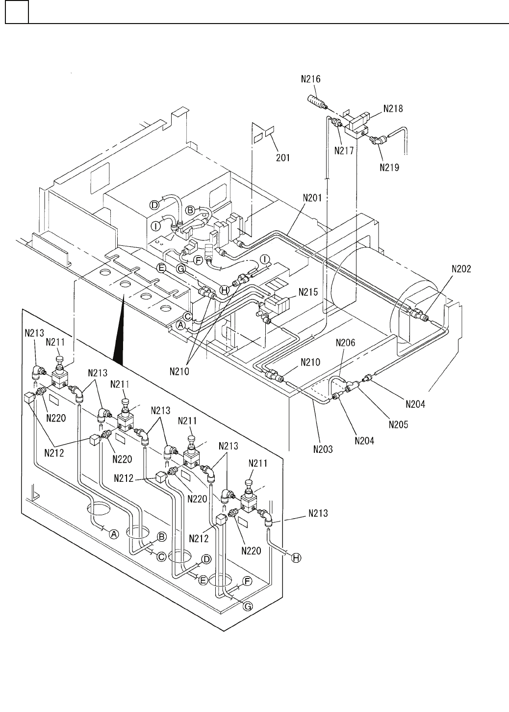
空圧制御部(アッパーフレーム部)
PNEUMATIC SYSTEM SECT.(UPPER FRAME SECT.)
1
F10811-03-200-AE_A
P3

PART No.
イラスト
No.
REF
No.
PART NAME
REMARKS
Q'TY
1
空圧制御部(アッパーフレーム部)
PNEUMATIC SYSTEM SECT.(UPPER FRAME SECT.)
部 品 名 品 番 個数
備 考
R
1
R
2
1 1081103200
UPPER FRAME UNIT アッハ
゚ーフレームユニット
1
201 108110320101
PLATE プレート
TU0425B
1
N201
N434TU0425B
TUBE チューブ
KQ2U04-06
1
N202
N431KQ2U0406
FITTING ツキ
゙テ
TU0604B
1
N203
N434TU0604B
TUBE チューフ
゙
KQ2R06-08
2
N204
N431KQ2R0608
FITTING ツギテ
KQ2T08-10
1
N205
N431KQ2T0810
T-JOINT イケイチーズ
TU1065B
1
N206
N434TU1065B
TUBE チューフ
゙
KQ2U06-00
3
N210
N431KQ2U0600
FITTING ツキ
゙テ
HP10-01
4
N211
N423HP1001
REGULATOR レギュレータ
MPS-P3RC-GB
4
N212
N447MPSP-034
SENSOR センサ
KQ2L06-01S
8
N213
N431KQ2L-216
FITTING ツキ
゙テ
VV3QZ15-03-X87
1
N215
N415VV3Q-873
VALVE バルブ
AN303-03
1
N216
N418AN30303
SILENCER サイレンサ
KQ2H06-03S
1
N217
N431KQ2H-196
FITTING ツギテ
VQZ315-5L-03
1
N218
N411VQZ3-908
SOLENOID VALVE ソレノイト
゙バルブ
KQ2L10-03S
1
N219
N431KQ2L-299
FITTING ツギテ
JKN-1/8
4
N220
N431JKN01
FITTING ニップル
P4
F10811-03-200-AE_A

空圧制御部(真空ポンプ部)
PNEUMATIC SYSTEM SECT.(VACUUM PUMP SECT.)
1
F10811-03-300-AB_B
P5