HT121 (Mechanical20111025) - 第104页
ノズル部 (1) NOZZLE SECT .(1) 5 F10811-10-200-AQ_0 1-1 M83

PART No.
イラスト
No.
REF
No.
PART NAME
REMARKS
Q'TY
4
基板搬送部(基板ストッパ部)
P.C.B.TRANSFER SECT.(P.C.B.STOPPER SECT.)
部 品 名 品 番 個数
備 考
R
1
R
2
1 1081106100
P. C. BOARD STOPPER UNIT キバ
ンストッパユニット
1
101 108110610103
RAIL レール
1
102 1081106102
RAIL レール
1103 104684860302
BLOCK(SLIDE) ブ
ロック(スライド)
1104 108110610401
BRACKET ブラケット
1
106 1081106106
GUIDE ガイド
1
107 108110601502
STAND スタンド
1108 108110601605
STAND スタント
゙
1109 1081106109
STOPPER ストッハ
゚
1
N101
N986LEM6-T48
LEVER レバー
1
N102
N986LEM6-T49
LEVER レバー
HNTT6-6
2
N103
N986HNTT66
NUT ナット
CDQSBS16-30DCM-A93V
1
N104
N401CDQS-H66
CYLINDER シリンダ
P917M
1
N105
N310P917M
SENSOR センサ
E3C-JC4P
1
N106
N310E3CJC4P
AMPLIFIER アンプ
M3X8,+,STEEL,Z.C.T
1
N107
XSS3+8FY
FLUSH HEAD SCREW サラコネシ
゙
P919
2
N108
N310P919
SENSOR センサ
CTAM2
7
N109
N348CTAM2T
CLAMP クランプ
M4X6,+,STEEL,Z.C.T
7
N110
XST4+6FY
TRUSS HEAD SCREW トラスコネジ
KJL04-M5
2
N111
N431KJL04M5
FITTING ツキ
゙テ
CDQSBS-TYPE,BOLTM3X60
2
N112
N401CDQS-H73
BOLT ボルト
D-A93V
2
V 1 N401DA93V
SENSOR センサ
M82
F10811-06-100-AG

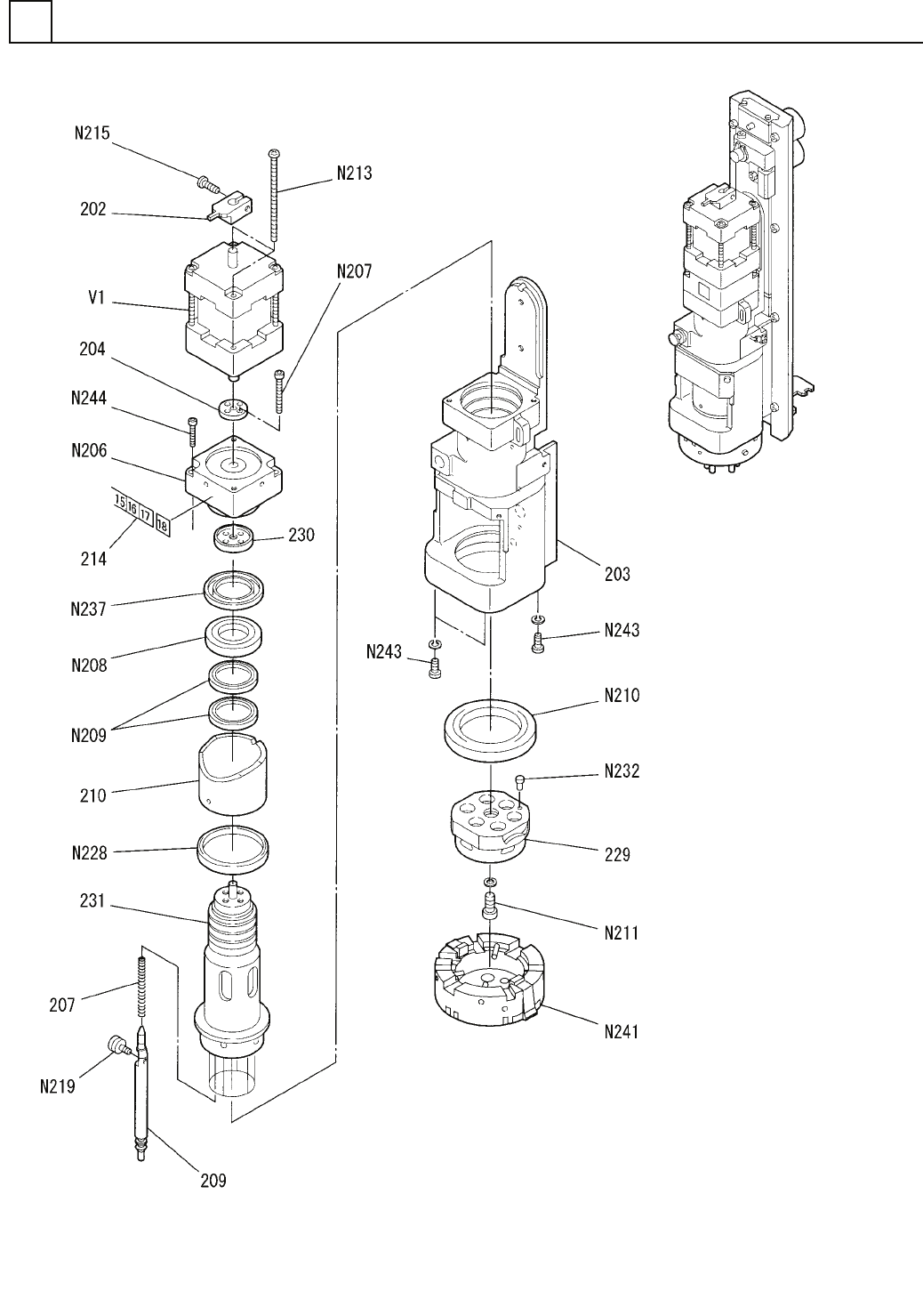
ノズル部(1)
NOZZLE SECT.(1)
5
F10811-10-200-AQ_01-1
M83

PART No.
イラスト
No.
REF
No.
PART NAME
REMARKS
Q'TY
5
ノズル部(1)
NOZZLE SECT.(1)
部 品 名 品 番 個数
備 考
R
1
R
2
M10811-10-228
1 1081110200
NOZZLE UNIT ノス
゙ルユニット
18
202 108111000203
DOG FOR SENSOR ドグ
18
203 N210021315AA
HOUSING ハウジング
18204 108111020403
FLANGE フランシ
゙
108207 1081110107
SPRING ハ
゙ネ
108
209 108111020910
SHAFT(SLIDE) シャフト(スライド)
18
210 108111021007
CAM カム
1214 1081110014
LABEL ラヘ
゙ル
18229 108111022904
FLANGE フランシ
゙
18
230 N210021317AA
SPACER スペーサ
18231 108111023101
SHAFT シャフト
CSF-8-30-2A-R-SP
18
N206
N624CSF8-063
REDUCTION GEAR ケ
゙ンソクキ
CAP2.5X16-20503
72
N207
N510002331AA
BOLT ボルト
6801ZZC2P5
18
N208
XLCN6801-093
BEARING ベアリング
MYA-16
36
N209
N555MYA16
PACKING パッキン
6805ZZC2P5
18
N210
XLCN6805-150
BALL BEARING ボールヘ
゙アリング
CAP4X8-202-BN
18
N211
N510005318AA
BOLT ボルト
FP2.5X45-202-BN
36
N213
N510005319AA
BOLT ボルト
M3X8
18
N215
N986YYYY-B34
BOLT ボルト(テイトウロッカクアナツキ)
5USL0226A
108
N219
N5005USL-014
BEARING ベ
アリング
01RD145ZB
18
N228
XLEN01RD-008
BALL BEARING ボールベアリング
SJPDA2-3
18
N232
N986SJPDA23
PIN ピン
HMA15X23X3
18
N237
N550HMA1-014
LABEL ラヘ
゙ル
M10811-78-122A
18
N241
N510000943AA
REFLECTING UNIT ハンシャハ
゙ン
BT3X6-202-BN
54
N243
N510002329AA
BOLT ボルト
CAP3X12-202
36
N244
N510002351AA
BOLT ボルト
C9261-90215 S
18V 1 308111493106
MOTOR モータ
M84
F10811-10-200-AQ_01-1