HT121 (Mechanical20111025) - 第117页
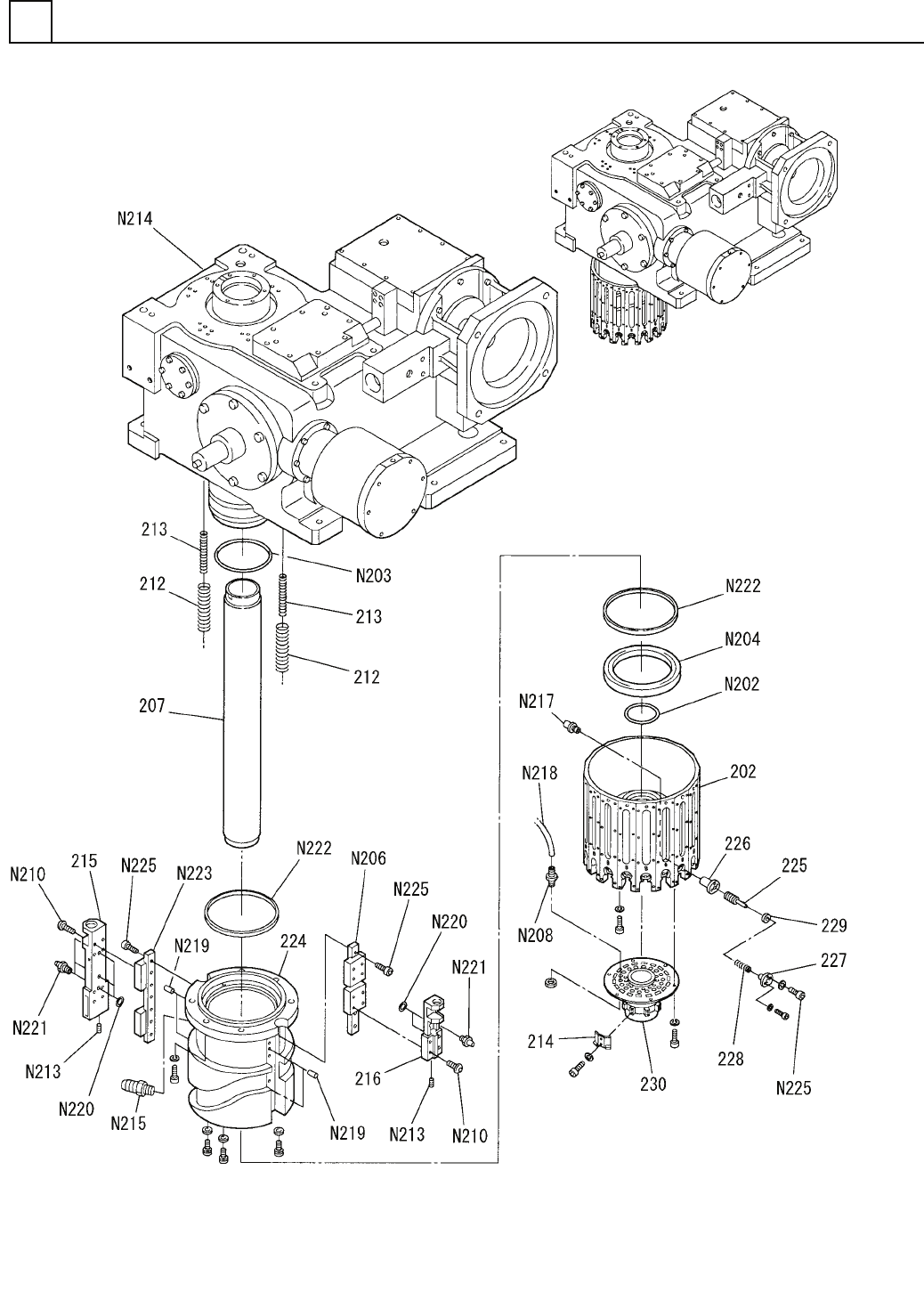
PART No. イラスト No. REF No. PART NAME REMARKS Q'TY 5 Lノズル部 NOZZLE SECT .(L) 部 品 名 品 番 個数 備 考 R 1 R 2 1 1046878720 NOZZLE UNIT(L ) ノス ゙ルユニット(L) M96 F10468-78-720 -AF_B

Lノズル部
NOZZLE SECT.(L)
5
F10468-78-720-AF_B
M95

PART No.
イラスト
No.
REF
No.
PART NAME
REMARKS
Q'TY
5
Lノズル部
NOZZLE SECT.(L)
部 品 名 品 番 個数
備 考
R
1
R
2
1 1046878720
NOZZLE UNIT(L) ノス
゙ルユニット(L)
M96
F10468-78-720-AF_B

主軸部
MAIN AXIS SECT.
6
F10811-09-200-AK
M97