HT121 (Mechanical20111025) - 第120页
ヘッド 駆動部(メイ ン駆動部 ) HEAD DRIVIN G SECT.(MAIN D RIVING SECT. ) 7 F10811-08-200-AM M99

PART No.
イラスト
No.
REF
No.
PART NAME
REMARKS
Q'TY
6
主軸部
MAIN AXIS SECT.
部 品 名 品 番 個数
備 考
R
1
R
2
1 1081109200
ROTARY HEAD UNIT ロータリヘット
゙ユニット
1
202 108110910205
BRACKET ブラケット
1
207 108110910704
PIPE パイプ
2212 1081109212
SPRING ハ
゙ネ
2213 1081109213
SPRING ハ
゙ネ
9
214 108110921402
PLATE プレート
1
215 108110921504
SLIDER スライダ
1216 108110921602
SLIDER スライタ
゙
1224 108110922402
CAM カム
18
225 108110922503
PISTON ピストン
18226 108110922603
CYLINDER シリンダ
18227 108110922702
HOLDER ホルタ
゙
18
228 1081109228
SPRING バネ
18
229 1081109229
STOPPER ストッパ
1230 1081109230
PANEL パネル
CO0541H0
1
N202
N554C00541H0
O-RING O
リング
CO0548R0
1
N203
N554C00548R0
O-RING O リング
6821VVP5
1
N204
XLBN6821VVP5
BALL BEARING ボールベアリング
LWLG12C2R180BE191
1
N206
N513LWLG-A85
LINEAR MOTION UNIT リニアモーションユニット
KJE04-00
18
N208
N431KJE0400
FITTING ツキ
゙テ
M3X6,STEEL,Z.C.T
12
N210
XVEN3M6FYZ
HEX. SOCKET BUTTON HEAD BOL ロッカクアナツキボタンボルト
M3X4,STEEL,Z.C.T
2
N213
XXE3C4FY
HEX. SOCKET SET SCREW ロッカクアナツキトメネジ
16DMD-1823.69R2-HR3VW
1
N214
N62216DM-023
REDUCTION GEAR ケ
゙ンソクキ
JHN27-3/4
1
N215
N431JHN2706
FITTING ツキ
゙テ
PC4-M5M
18
N217
N431PC4M5M
FITTING ツギテ
J30B0285(850mm)
6
N218
N434J30B0285
TUBE チューブ
3X6,m6A,STEEL
4
N219
XPJ3A6FW
PARALLEL PIN ヘイコウヒ
゚ン
CO0502A
5
N220
N554C00502A
O-RING O リング
A-M3
4
N221
N560AM3
GREASE NIPPLE グリースニップル
SPNR115X125X3.8
2
N222
N454SPNR-086
LABEL ラベル
LWLG12C3R180BE192
1
N223
N513LWLG-A86
LINEAR MOTION UNIT リニアモーションユニット
M3X4,+,STEEL,P.C
22
N225
XVE3B4FY
HEX. SOCKET HEAD CAP BOLT ロッカクアナツキボルト
M98
F10811-09-200-AK

ヘッド駆動部(メイン駆動部)
HEAD DRIVING SECT.(MAIN DRIVING SECT.)
7
F10811-08-200-AM
M99

PART No.
イラスト
No.
REF
No.
PART NAME
REMARKS
Q'TY
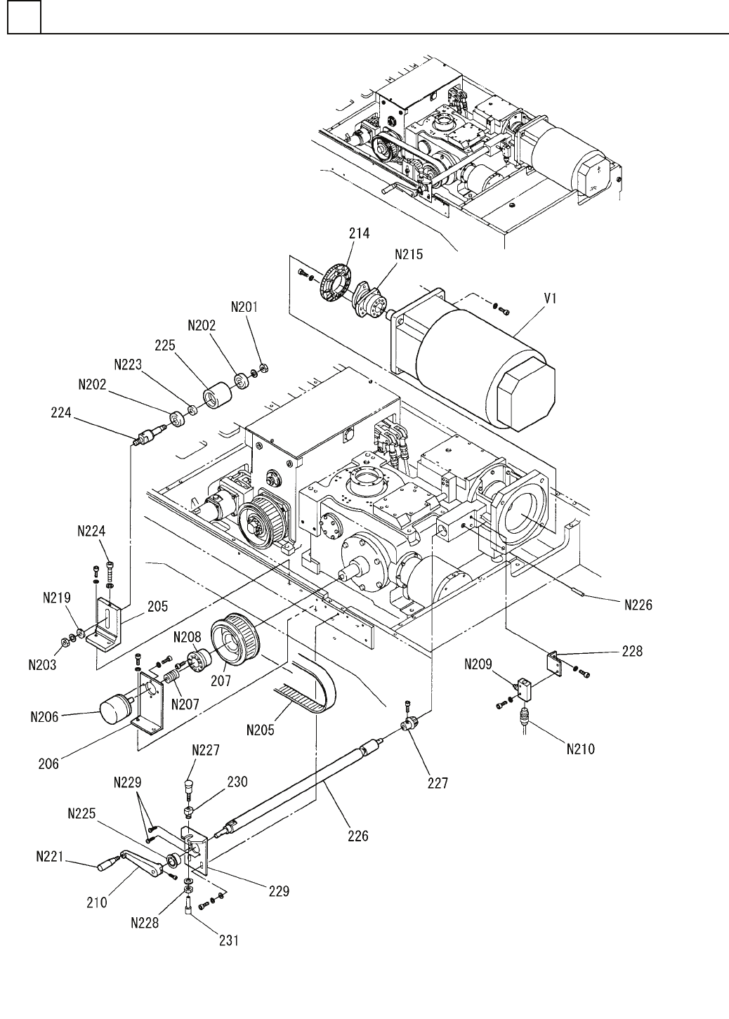
7
ヘッド駆動部(メイン駆動部)
HEAD DRIVING SECT.(MAIN DRIVING SECT.)
部 品 名 品 番 個数
備 考
R
1
R
2
1 1081108200
MAIN DRIVING UNIT メインクト
゙ウユニット
1
205 108110811102
BRACKET ブラケット
1
206 108110811001
BRACKET ブラケット
1207 108111423702
PULLEY フ
゚ーリー
1210 108110821004
HANDLE ハント
゙ル
1
214 1081108214
GEAR ギヤ
1
224 108110822401
SHAFT シャフト
1225 1081108225
PULLEY フ
゚ーリー
1226 108110822604
SHAFT シャフト
1
227 108110822701
GEAR ギヤ
1228 108110822801
BRACKET ブラケット
1229 108110822901
BRACKET フ
゙ラケット
2
230 108110823001
HOLDER ホルダ
1
231 108110823101
PIN ピン
M14,3-TYPE,STEEL,Z.C.
1
N201
XNH14CFY
HEXAGON NUT ロッカクナット
6004ZZ
2
N202
XLCN6004ZZ
BALL BEARING ボールヘ
゙アリング
M16,1-TYPE,STEEL,Z.C.
1
N203
XNH16AFY
HEXAGON NUT ロッカクナット
1264-8YU-50-9LGNU01N3
1
N205
N6411264-777
BELT ベルト
E6F-AB3C-08 360X2P/R
1
N206
N656E6FA-019
ROTARY ENCODER ロータリーエンコーダ
DSCR-10010-10
1
N207
N644DSCR-120
COUPLING カッフ
゚リング
SCE201-32X50
1
N208
N645SCE2-024
COUPLING カップリング
D4D-5A31N S
1
N209
N300D4D5A31N
SWITCH スイッチ
5301 5030
1
N210
N32253015030
GROMMET ク
゙ロメット
SFS-09S-T085MM
1
N215
N644SFS0-189
COUPLING カッフ
゚リング
WSSM25-16-3
1
N219
N560WSSM-225
WASHER ザガネ
GRP-26XM10
1
N221
N986GRP26M10
GRIP グリップ
NCLB20-25-15.5
1
N223
N560NCLB-262
COLLAR カラー
M6X45,STEEL,P.C
1
N224
XVEN6B45FPZ
HEX. SOCKET HEAD CAP BOLT ロッカクアナツキボルト
R-MLEF3012
1
N225
N520RMLE-112
BEARING ベアリング
MS8-40
1
N226
N986MS840
PARALLEL PIN ヘイコウピン
NMM6-25
1
N227
N986NMM625
KNOB ノフ
゙
M16,3-TYPE,STEEL,Z.C.
1
N228
XNHN16FFYF
HEXAGON NUT ロッカクナット
M5X10,+,STEEL,Z.C.T
3
N229
XST5+10FY
TRUSS HEAD SCREW トラスコネジ
MSM13KA3C S
1V 1 308111094502
MOTOR モータ
M100
F10811-08-200-AM