HT121 (Mechanical20111025) - 第123页
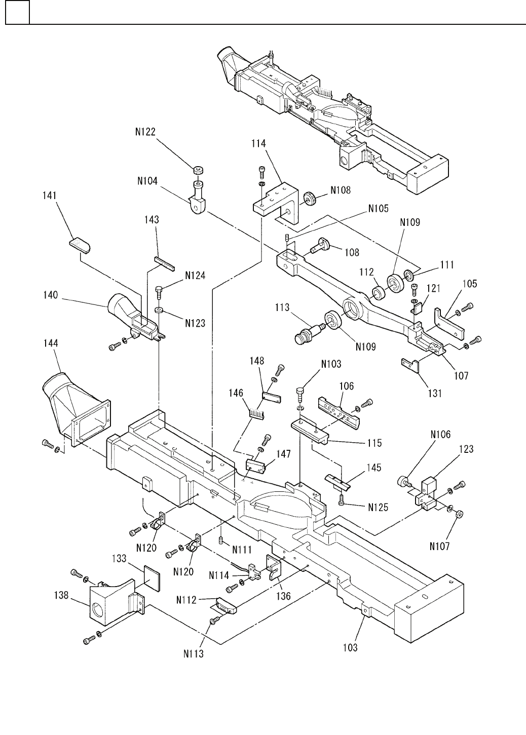
PART No. イラスト No. REF No. PART NAME REMARKS Q'TY 7 ヘッド駆動部( ヘッド下部ユニット 部) HEAD DRIVIN G SECT.(HEAD U NDER UNIT SE CT.) 部 品 名 品 番 個数 備 考 R 1 R 2 1 1081111100 UNDER UNIT カフ ゙ユニット 1 103 108111110310 DUCT FRAME ダクトホンタイ…

ヘッド駆動部(ヘッド下部ユニット部)
HEAD DRIVING SECT.(HEAD UNDER UNIT SECT.)
7
F10811-11-100-AN
M101

PART No.
イラスト
No.
REF
No.
PART NAME
REMARKS
Q'TY
7
ヘッド駆動部(ヘッド下部ユニット部)
HEAD DRIVING SECT.(HEAD UNDER UNIT SECT.)
部 品 名 品 番 個数
備 考
R
1
R
2
1 1081111100
UNDER UNIT カフ
゙ユニット
1
103 108111110310
DUCT FRAME ダクトホンタイ
1
105 108111110504
BLADE(UNDER) ブレード(UNDER)
1106 108111110603
BLADE(UPPER) ブ
レード(UPPER)
1107 108111110701
LEVER レハ
゙ー
1
108 108111110802
PIN ピン
1
111 108111111101
COLLAR カラー
1112 108111111201
COLLAR カラー
1113 108111111301
SHAFT シャフト
1
114 108111111402
BRACKET ブラケット
1115 108111111504
BLOCK ブロック
1121 108111112101
COVER カハ
゙ー
1
123 108111112301
BLOCK ブロック
1
131 108111113103
PLATE(GUIDE) プレート(ガイド)
1133 108111113301
COVER カバー
1136 1081111136
COVER カハ
゙ー
1
138 1081111138
DUCT BOX ダクトボックス
1
140 108111114001
DUCT ダクト
1141 1081111141
SHEET シート
1143 1081111143
SHEET シート
1
144 1081111144
DUCT ダクト
1
145 1081111145
COVER カバー
1146 1081178035
BRUSH フ
゙ラシ
1147 1081178130
BLOCK フ
゙ロック
1
148 1081178131
BLOCK ブロック
M6X20,STEEL,Z.C.T,4T
2
N103
XVG6B20FY4
HEXAGON HEAD BOLT ロッカクボルト
PBRL10FN
1
N104
N533PBRL10FN
ROD END ロット
゙エンド
M4X6,STEEL,Z.C.T
2
N105
XXE4C6FY
HEX. SOCKET SET SCREW ロッカクアナツキトメネジ
CFES6-28WBUURE01
2
N106
N532CFES-016
CAM FOLLOWER カムフォロア
M6,1-TYPE,STEEL,Z.C.T
2
N107
XNG6AFY
HEXAGON NUT ロッカクナット
FU00SS
1
N108
XNRNFU00SS
LOCK-NUT ロックナット
6003ZZC2P6
2
N109
XLCN6003-151
BALL BEARING ボールベアリング
M6X12,STEEL,Z.C.T
1
N111
XXE6D12FY
HEX. SOCKET SET SCREW ロッカクアナンツキトメネジ
C-91-3,BLACK
1
N112
N980C913K
MAGNETIC CATCH マグネットキャッチ
M3X8,+,STEEL,Z.C.T
2
N113
XSN3+8FY
PAN HEAD SCREW ナベ
コネジ
P923S1
1
N114
N310P923S1
SENSOR センサ
TA1S8
2
N120
N348TA1S8
FIXTURE コテイグ
M10,1-TYPE,STEEL,Z.C.
1
N122
XNHN10AFYL
HEXAGON NUT ロッカクナット
FWASM-D6-V4-T1.4
1
N123
N986FWAS-S96
WASHER ザ
ガネ
M4X6,STEEL,Z.C.T,4T
1
N124
XVG4A6FY4
HEXAGON HEAD BOLT ロッカクボルト
M3X6
2
N125
N986YYYY-R37
BOLT ボルト
M102
F10811-11-100-AN

ヘッド駆動部(ヘッド下部カバー部)
HEAD DRIVING SECT.(HEAD UNDER COVER SECT.)
7
F10811-11-180-AG
M103