HT121 (Mechanical20111025) - 第126页
ヘッド駆動部( タイミングチャート部 ) HEAD DRIVIN G SECT.(TIMING CHART SECT. ) 7 F10811-13-100-AD M105

PART No.
イラスト
No.
REF
No.
PART NAME
REMARKS
Q'TY
7
ヘッド駆動部(ヘッド下部カバー部)
HEAD DRIVING SECT.(HEAD UNDER COVER SECT.)
部 品 名 品 番 個数
備 考
R
1
R
2
1 1081111180
UNDER COVER UNIT カフ
゙カバーユニット
1
182 108111118202
BRACKET ブラケット
2
184 108111118402
BRACKET ブラケット
1186 108111118602
BRACKET フ
゙ラケット
1187 108111118701
DOG FOR SENSOR ド
グ
1
192 108111119203
TRAY トレイ
2
193 108111119303
RAIL レール
1194 1081111194
COVER カハ
゙ー
1195 1081111195
FILTER フィルタ
M5X12,+,STEEL,Z.C.T
4
N50 XST5+12FY
TRUSS HEAD SCREW トラスコネジ
FF4X10-3W-LT202テツ+サラ4
11N51 N510008731AA
FLUSH HEAD SCREW サラコネジ
P914S1
1N52 N310P914S1
SENSOR センサ
M3X8,+,STEEL,Z.C.T
8
N53 XSS3+8FY
FLUSH HEAD SCREW サラコネジ
M104
F10811-11-180-AG

ヘッド駆動部(タイミングチャート部)
HEAD DRIVING SECT.(TIMING CHART SECT.)
7
F10811-13-100-AD
M105

PART No.
イラスト
No.
REF
No.
PART NAME
REMARKS
Q'TY
7
ヘッド駆動部(タイミングチャート部)
HEAD DRIVING SECT.(TIMING CHART SECT.)
部 品 名 品 番 個数
備 考
R
1
R
2
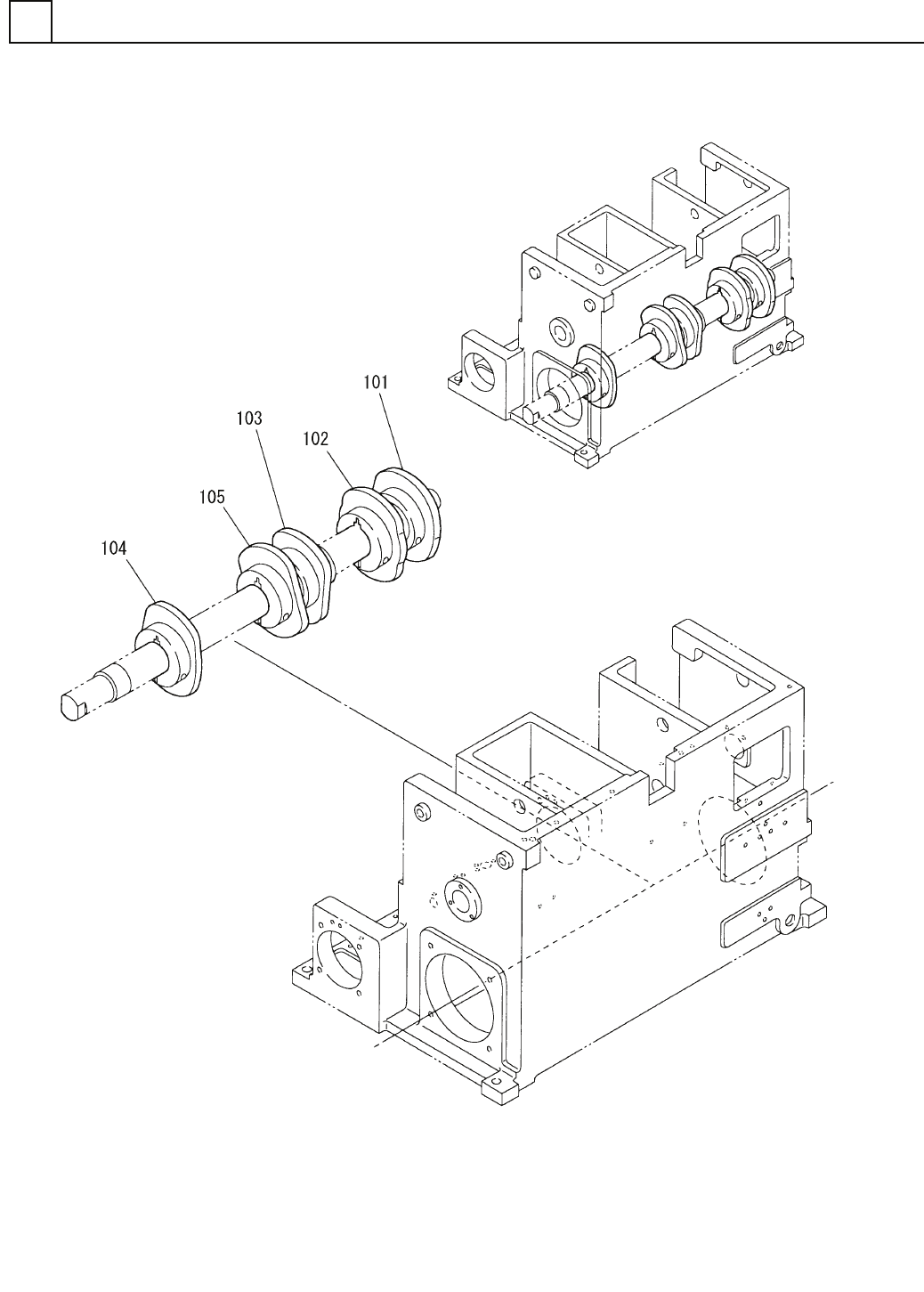
1 1081113100
TIMING CHART UNIT タイミンク
゙チャートユニット
1
101 108111300106
CAM カム
1
102 108111300205
CAM カム
1103 108111310305
CAM カム
1104 108111310404
CAM カム
1
105 108111310504
CAM カム
M106
F10811-13-100-AD