HT121 (Mechanical20111025) - 第127页
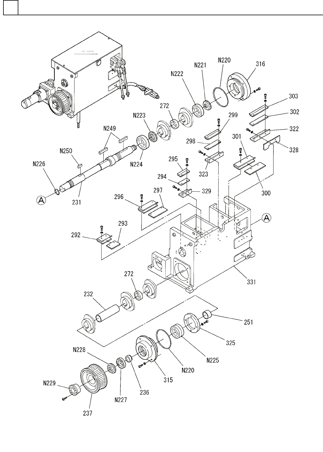
PART No. イラスト No. REF No. PART NAME REMARKS Q'TY 7 ヘッド駆動部 (タイミングチャート 部) HEAD DRIVIN G SECT.(TIMING CHART SECT. ) 部 品 名 品 番 個数 備 考 R 1 R 2 1 1081113100 TIMING CHART UNIT タイミンク ゙チャートユニット 1 101 108111300106 CAM カム 1 …

ヘッド駆動部(タイミングチャート部)
HEAD DRIVING SECT.(TIMING CHART SECT.)
7
F10811-13-100-AD
M105

PART No.
イラスト
No.
REF
No.
PART NAME
REMARKS
Q'TY
7
ヘッド駆動部(タイミングチャート部)
HEAD DRIVING SECT.(TIMING CHART SECT.)
部 品 名 品 番 個数
備 考
R
1
R
2
1 1081113100
TIMING CHART UNIT タイミンク
゙チャートユニット
1
101 108111300106
CAM カム
1
102 108111300205
CAM カム
1103 108111310305
CAM カム
1104 108111310404
CAM カム
1
105 108111310504
CAM カム
M106
F10811-13-100-AD

ヘッド駆動部(上部駆動部1)
HEAD DRIVING SECT.(UPPER DRIVING SECT.-1)
7
F10811-14-200-AP-1
M107