HT121 (Mechanical20111025) - 第138页
ヘッド 駆動部(下部 駆動部1) HEAD DRIVIN G SECT.(UNDER DRIVING SECT .-1) 7 F10811-15-100-AL_0 1-1 M117

PART No.
イラスト
No.
REF
No.
PART NAME
REMARKS
Q'TY
7
ヘッド駆動部(上部駆動部5)
HEAD DRIVING SECT.(UPPER DRIVING SECT.-5)
部 品 名 品 番 個数
備 考
R
1
R
2
2246 108111424601
SPRING ハ
゙ネ
1
248 1081114248
SPRING バネ
1
282 108111428202
PLATE プレート
4287 108111428702
ROD ロット
゙
5288 108111428802
ROD ロット
゙
1
310 108111431001
ROD ロッド
2
313 1081114313
SPRING バネ
1314 1081114314
LABEL ラヘ
゙ル
1317 108111431701
BLOCK ブロック
1
318 108111431802
PLATE プレート
1324 1081114324
COVER カバー
CD-12
1
N201
N984CD12
SCREW ネシ
゙
M6X12,STEEL,Z.C.T
1
N202
XXE6A12FY
HEX. SOCKET SET SCREW ロッカクアナツキトメネジ
30-12,CLEAR
1
N212
N4343012T
TUBE チューブ
UBV-14D
1
N214
N413UBV14D
VALVE バルブ
JKP-1/2
1
N215
N433JKP04
PLUG フ
゚ラグ
22020L
1
N235
N990YYYY-032
OIL オイル
JKP-3/4
1
N241
N433JKP06
PLUG プラグ
5X10,m6A,STEEL
2
N246
XPJ5A10FW
PARALLEL PIN ヘイコウピン
B-S8-296
5
N254
N520BS8296
BUSHING ブ
ッシング
PL-12X8-PT1/2-BS
1
N259
N431PL12-470
FITTING エルボ
PN-12X8-PT1/2-BS
1
N267
N431PN12-471
FITTING ニップル
M116
F10811-14-200-AP-5

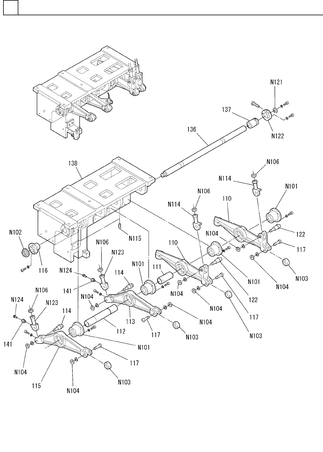
ヘッド駆動部(下部駆動部1)
HEAD DRIVING SECT.(UNDER DRIVING SECT.-1)
7
F10811-15-100-AL_01-1
M117

PART No.
イラスト
No.
REF
No.
PART NAME
REMARKS
Q'TY
7
ヘッド駆動部(下部駆動部1)
HEAD DRIVING SECT.(UNDER DRIVING SECT.-1)
部 品 名 品 番 個数
備 考
R
1
R
2
1 1081115100
UNDER DRIVING UNIT アンタ
゙ードライブユニット
2
110 108111501003
LEVER レバー
1
111 108111511103
COLLAR カラー
1112 108111511203
COLLAR カラー
1113 N210021041AA
LEVER レハ
゙ー
2
114 108111511401
PIN ピン
1
115 N210021043AA
LEVER レバー
1116 108111511601
FLANGE フランシ
゙
4117 108111511701
PIN ヒ
゚ン
2
122 1087214342
PIN ピン
1136 108111513601
SHAFT シャフト
1137 108111513701
COLLAR カラー
1
138 108111513801
MAIN FRAME メインフレーム
2
141 1081114311
SOCKET ソケット
FBD17-29SN24T1XVVCG6*
4
N101
XLLNFBD1-120
BALL BEARING ボールベアリング
FU02SS
1
N102
XNRNFU02SS
LOCK-NUT ロックナット
NART82415WUURE01
4
N103
N532NART-020
ROLLER FOLLOWER ローラフォロア
M8,3-TYPE,STEEL,Z.C.T
8
N104
XNG8FFY
HEXAGON NUT ロッカクナット
M10,2-TYPE,STEEL,Z.C.
4
N106
XNHN10DFYL
HEXAGON NUT ロッカクナット
PBRL10FN
2
N114
N533PBRL10FN
ROD END ロット
゙エンド
M6X16,STEEL,Z.C.T
2
N115
XXE6C16FY
HEX. SOCKET SET SCREW ロッカクアナツキトメネジ
R10-22
1
N121
N560R1022
WASHER ザガネ
SCSM25-12
1
N122
N560SCSM2512
COLLAR セットカラー
MRRDL10-201
2
N123
N510005562AA
ROD END BEARING ロッド
エンド ベアリング
PB107
2
N124
N560PB10-081
GREASE NIPPLE グリースニップル
M118
F10811-15-100-AL_01-1