HT121 (Mechanical20111025) - 第140页
ヘッド 駆動部(下部 駆動部2) HEAD DRIVIN G SECT.(UNDER DRIVING SECT .-2) 7 F10811-15-100-AL_0 1-2 M119

PART No.
イラスト
No.
REF
No.
PART NAME
REMARKS
Q'TY
7
ヘッド駆動部(下部駆動部1)
HEAD DRIVING SECT.(UNDER DRIVING SECT.-1)
部 品 名 品 番 個数
備 考
R
1
R
2
1 1081115100
UNDER DRIVING UNIT アンタ
゙ードライブユニット
2
110 108111501003
LEVER レバー
1
111 108111511103
COLLAR カラー
1112 108111511203
COLLAR カラー
1113 N210021041AA
LEVER レハ
゙ー
2
114 108111511401
PIN ピン
1
115 N210021043AA
LEVER レバー
1116 108111511601
FLANGE フランシ
゙
4117 108111511701
PIN ヒ
゚ン
2
122 1087214342
PIN ピン
1136 108111513601
SHAFT シャフト
1137 108111513701
COLLAR カラー
1
138 108111513801
MAIN FRAME メインフレーム
2
141 1081114311
SOCKET ソケット
FBD17-29SN24T1XVVCG6*
4
N101
XLLNFBD1-120
BALL BEARING ボールベアリング
FU02SS
1
N102
XNRNFU02SS
LOCK-NUT ロックナット
NART82415WUURE01
4
N103
N532NART-020
ROLLER FOLLOWER ローラフォロア
M8,3-TYPE,STEEL,Z.C.T
8
N104
XNG8FFY
HEXAGON NUT ロッカクナット
M10,2-TYPE,STEEL,Z.C.
4
N106
XNHN10DFYL
HEXAGON NUT ロッカクナット
PBRL10FN
2
N114
N533PBRL10FN
ROD END ロット
゙エンド
M6X16,STEEL,Z.C.T
2
N115
XXE6C16FY
HEX. SOCKET SET SCREW ロッカクアナツキトメネジ
R10-22
1
N121
N560R1022
WASHER ザガネ
SCSM25-12
1
N122
N560SCSM2512
COLLAR セットカラー
MRRDL10-201
2
N123
N510005562AA
ROD END BEARING ロッド
エンド ベアリング
PB107
2
N124
N560PB10-081
GREASE NIPPLE グリースニップル
M118
F10811-15-100-AL_01-1

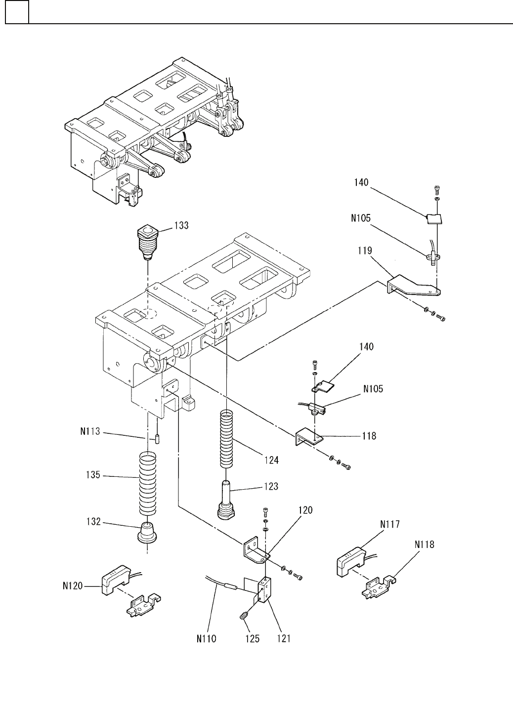
ヘッド駆動部(下部駆動部2)
HEAD DRIVING SECT.(UNDER DRIVING SECT.-2)
7
F10811-15-100-AL_01-2
M119

PART No.
イラスト
No.
REF
No.
PART NAME
REMARKS
Q'TY
7
ヘッド駆動部(下部駆動部2)
HEAD DRIVING SECT.(UNDER DRIVING SECT.-2)
部 品 名 品 番 個数
備 考
R
1
R
2
1118 108111511801
BRACKET フ
゙ラケット
1
119 108111511901
BRACKET ブラケット
1
120 108111512001
BRACKET ブラケット
1121 108111512103
BLOCK フ
゙ロック
2123 108111424502
ROD ロット
゙
2
124 108111512401
SPRING バネ
2
125 1042721039
BOLT(STOPPER) ボルト(ストッパ)
1132 1018785230
PIN(GUIDE) ヒ
゚ン(ガイド)
1133 1081115133
ROD ロット
゙
1
135 108111513502
SPRING バネ
2140 1081115140
OIL GUARD オイルガード
EE-SX772A
2
N105
N310EESX772A
SENSOR センサ
P916C-S1720
2
N110
N310P916-005
SENSOR センサ
8X20,m6A,STEEL
1
N113
XPJ8A20FW
PARALLEL PIN ヘイコウピン
E3X-DA11-N S
1
N117
N310E3XDA11N
AMPLIFIER FOR SENSOR アンプユニット
E39-L143
1
N118
N310E39L143
BRACKET トリツケカナク
゙
PANADAC910T
1
N120
N310P910T
SENSOR センサ
M120
F10811-15-100-AL_01-2