HT121 (Mechanical20111025) - 第155页
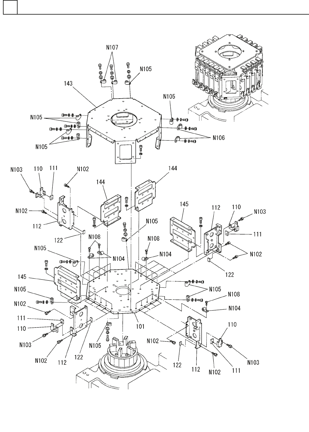
PART No. イラスト No. REF No. PART NAME REMARKS Q'TY 7 ヘッド駆動部( MC-18取付 部1) HEAD DRIVIN G SECT.(MC-18 ATTACHMENT S ECT.-1) 部 品 名 品 番 個数 備 考 R 1 R 2 1 1081181100 ATTACHMENT UN IT トリツケユニット 1 101 108118110103 PLATE プレート 1…

ヘッド駆動部(MC-18取付部1)
HEAD DRIVING SECT.(MC-18 ATTACHMENT SECT.-1)
7
F10811-81-100-AG-1
M133

PART No.
イラスト
No.
REF
No.
PART NAME
REMARKS
Q'TY
7
ヘッド駆動部(MC-18取付部1)
HEAD DRIVING SECT.(MC-18 ATTACHMENT SECT.-1)
部 品 名 品 番 個数
備 考
R
1
R
2
1 1081181100
ATTACHMENT UNIT トリツケユニット
1
101 108118110103
PLATE プレート
18
110 108118111001
CLAMPER クランパー
18111 108118111102
CUSHION クッション
18112 108118111203
BRACKET ブラケット
18
122 1081181122
CUSHION クッション
1
143 1081181143
BRACKET ブラケット
2144 1081181144
BRACKET フ
゙ラケット
2145 1081181145
BRACKET ブラケット
WASOCKETM4X8STYPE
72
N102
N986YYYY-R07
HEX. SOCKET HEAD CAP BOLT ロッカクアナツキボルト
WASOCKETM3X6STYPE
18
N103
N986YYYY-R06
HEX. SOCKET HEAD CAP BOLT ロッカクアナツキボルト
TBS-41
18
N104
N462TBS41
BAND ハ
゙ンド
NK-6N
12
N105
N348NK6N
CLAMP FOR WIRING ナイロンクランプ
NK-5N
2
N106
N348NK5N
CLAMP クランプ
NK-7N
2
N107
N348NK7N
CLAMP クランプ
M4X6,STEEL,Z.C.T
18
N108
XVEN4M6FYZ
HEX. SOCKET BUTTON HEAD BOL ロッカクアナツキホ
゙タンボルト
M134
F10811-81-100-AG-1

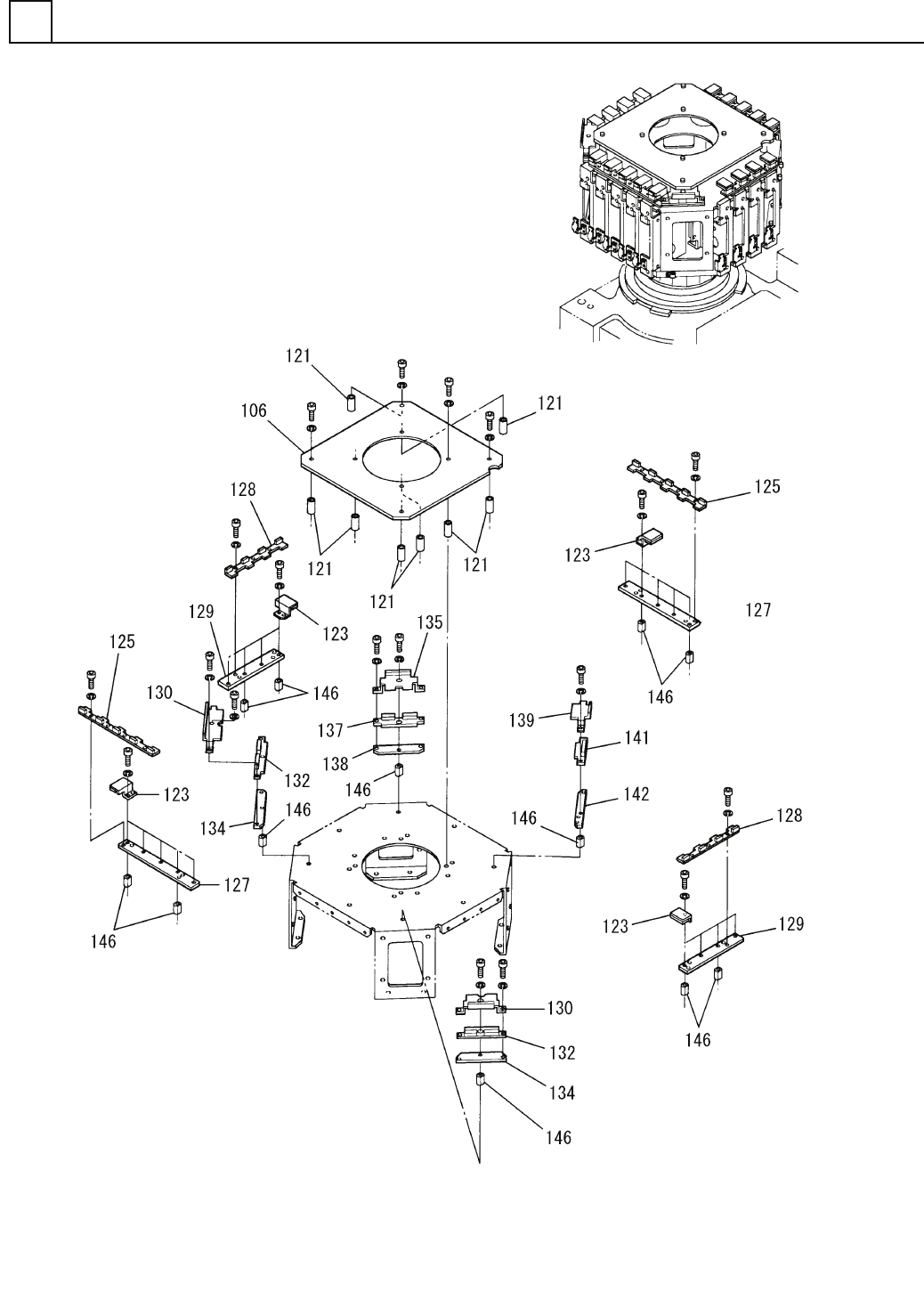
ヘッド駆動部(MC-18取付部2)
HEAD DRIVING SECT.(MC-18 ATTACHMENT SECT.-2)
7
F10811-81-100-AG-2
M135