HT121 (Mechanical20111025) - 第161页
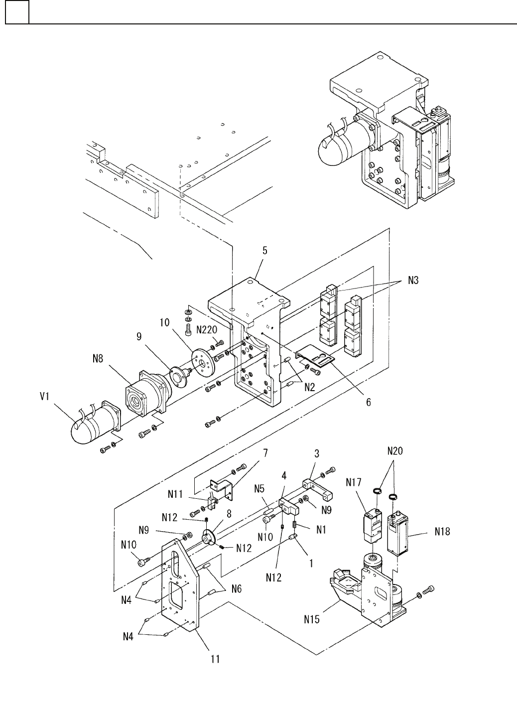
PART No. イラスト No. REF No. PART NAME REMARKS Q'TY 8 認識部(部品 認識部) RECOGNITION SECT.(COMPONE NT RECOGNITI ON SECT.) 部 品 名 品 番 個数 備 考 R 1 R 2 1 1081120000 COMPONENT REC OGNITION UNIT ブヒンニンシキユニット 1 1 1081120001 PIN ピン 1…

認識部(部品認識部)
RECOGNITION SECT.(COMPONENT RECOGNITION SECT.)
8
F10811-20-000-AH
M139

PART No.
イラスト
No.
REF
No.
PART NAME
REMARKS
Q'TY
8
認識部(部品認識部)
RECOGNITION SECT.(COMPONENT RECOGNITION SECT.)
部 品 名 品 番 個数
備 考
R
1
R
2
1 1081120000
COMPONENT RECOGNITION UNIT ブヒンニンシキユニット
1
1 1081120001
PIN ピン
1
3 104672000702
SUPPORTER サポーター
14 104672000603
LEVER レハ
゙ー
15 108112000503
BRACKET ブラケット
1
6 108112000602
BRACKET(CONNECTOR) ブラケット(コネクタ)
1
7 108112000701
BRACKET ブラケット
18 104672000503
DISK テ
゙ィスク
19 108112000903
SHAFT シャフト
1
10 108112001003
CAM カム
111 108112001103
PLATE プレート
WH8-25
1N 1 N986WH825
SPRING ハ
゙ネ
6X15,m6A,STEEL
2
N 2 XPJ6A15FW
PARALLEL PIN ヘイコウピン
LWES15C2R170E671
2
N 3 N513LWES-985
LINEAR MOTION UNIT リニアモーションユニット
4X10,m6A,STEEL
4N 4 XPJ4A10FW
PARALLEL PIN ヘイコウピン
8X25,h8B,STEEL
1N 5 XPJ8E25FW
PARALLEL PIN ヘイコウヒ
゚ン
6X20,h8B,STEEL
2
N 6 XPJ6E20FW
PARALLEL PIN ヘイコウピン
HPG-20A-05-F0GDJ
1
N 8 N624HPG2-066
REDUCTION GEAR ゲンソクキ
M6,1-TYPE,STEEL,Z.C.T
2N 9 XNG6AFY
HEXAGON NUT ロッカクナット
CF6WBUUR
2N10 N532CF6WBUUR
CAM FOLLOWER カムフォロア
P914SA
1
N11 N310P914SA
SENSOR センサ
M4X6,STEEL,Z.C.T
3
N12 XXE4D6FY
SET SCREW ロッカクアナツキトメネジ
QQJ-2122
1N15 N941QQJ2122
LENS-BARREL キョウトウ
GP-MF802K
1N17 N940GPMF802K
CAMERA カメラ
GP-MF1002K
1
N18 N940GPMF-021
CAMERA カメラ
SGT-W28-16
2N20 N462SGTW2816
BAND バンド
M6X16
3
N220
N986YYYY-R10
SCREW ネジ(
テイトウロッカクアナツキ)
MSM042AJE S
1
V 1 308111293101
MOTOR モータ
M140
F10811-20-000-AH

部品供給部(150連1)
FEEDER CARRIAGE SECT.(150 FEEDERS-1)
9
F10811-07-000-AM-1
M141