HT121 (Mechanical20111025) - 第165页
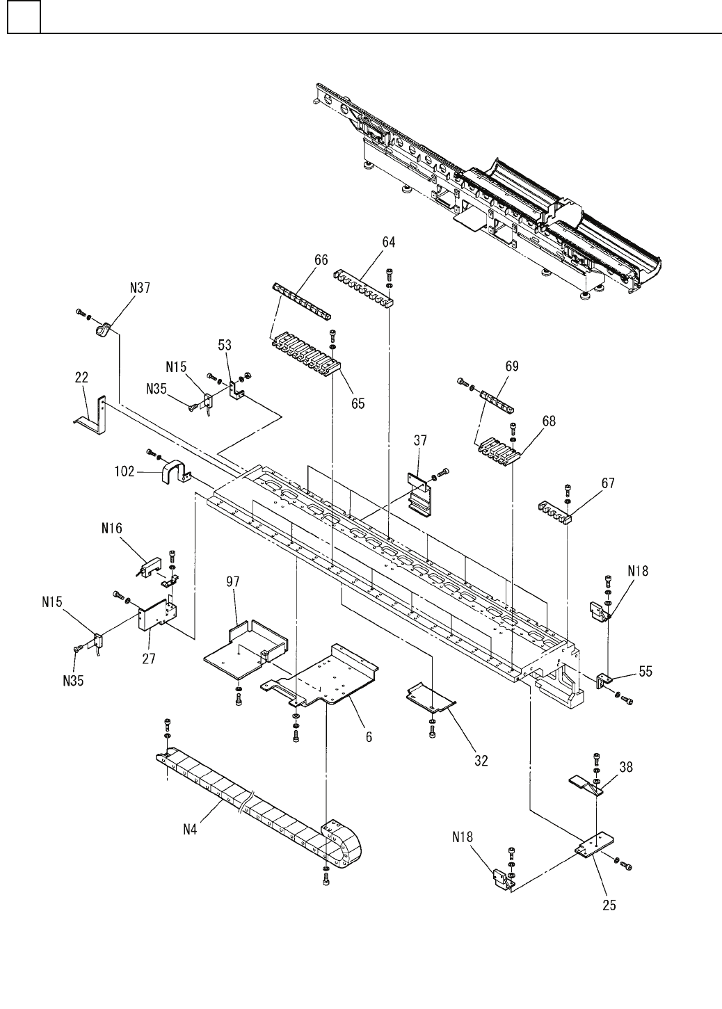
PART No. イラスト No. REF No. PART NAME REMARKS Q'TY 9 部品供給部( 150連2) FEEDER CARR IAGE SECT.(150 FEEDERS-2) 部 品 名 品 番 個数 備 考 R 1 R 2 1 4 1081107004 DOG FOR SENSO R ト ゙グ 1 5 108110700502 BRACKET(LEFT) ブラケット(LEFT) 1 24 1…

部品供給部(150連2)
FEEDER CARRIAGE SECT.(150 FEEDERS-2)
9
F10811-07-000-AM-2
M143

PART No.
イラスト
No.
REF
No.
PART NAME
REMARKS
Q'TY
9
部品供給部(150連2)
FEEDER CARRIAGE SECT.(150 FEEDERS-2)
部 品 名 品 番 個数
備 考
R
1
R
2
14 1081107004
DOG FOR SENSOR ト
゙グ
1
5 108110700502
BRACKET(LEFT) ブラケット(LEFT)
1
24 1081107024
BRACKET(SENSOR) ブラケット(センサ)
126 108110702603
BRACKET(SENSOR) ブ
ラケット(センサ)
132 108110703202
DOG FOR SENSOR ド
グ
1
38 1081107038
GUARD ガード
1
53 1081107053
BRACKET(SENSOR) ブラケット(センサ)
155 1081107055
BRACKET(SENSOR) ブ
ラケット(センサ)
160 1046807060
STOPPER ストッハ
゚ー
7
64 104680720103
PLATE プレート
765 108110706502
BLOCK(GUIDE) ブロック(ガイド)
766 1046878664
SHAFT(GUIDE) シャフト
(ガイド)
1
67 104680720402
PLATE プレート
1
68 108110706801
BLOCK(GUIDE) ブロック(ガイド)
169 1046878665
SHAFT(GUIDE) シャフト(ガイド)
198 104680705001
RIGHT COVER カハ
゙ー(RIGHT)
1
101 108110710103
COVER (L) カバー (L)
25.3-055-50-20A
1
N 4 N98625.3-D76
FLEXIBLE DUCT フレキシブルダクト
D4D-2A20N S
1N12 N300D4D2A20N
SWITCH スイッチ
SC-6
1N13 N300SC6
CONNECTOR コネクタ
E32-T16P S
1
N15 N310E32T16P
AMPLIFIER FOR SENSOR アンプユニット
E3X-A11-9 S
2
N16 N310E3XA119
AMPLIFIER FOR SENSOR アンプユニット
E3L-2LRC4-57 S
2N18 N310E3L2-079
SWITCH スイッチ
M3X12,+,STEEL,Z.C.T
4N35 XSS3+12FY
FLUSH HEAD SCREW サラコネシ
゙
NK-16N
1
N37 N348NK16N
CLAMPER クランパー
M144
F10811-07-000-AM-2

部品供給部(150連3)
FEEDER CARRIAGE SECT.(150 FEEDERS-3)
9
F10811-07-000-AM-3
M145