HT121 (Mechanical20111025) - 第174页
フィーダクランフ ゚部 FEEDER CLAM P SECT. 9 F10467-31-200-AD_A M153

PART No.
イラスト
No.
REF
No.
PART NAME
REMARKS
Q'TY
9
部品供給部(150連6)
FEEDER CARRIAGE SECT.(150 FEEDERS-6)
部 品 名 品 番 個数
備 考
R
1
R
2
175 1081107075
PLATE フ
゚レート
5
76 104680730602
GUIDE ガイド
5
77 104680730702
GUIDE ガイド
181 1081107081
LABEL ラヘ
゙ル
287 1046807317
PLATE プレート
1
91 108110709104
PLATE(R) プレート(R)
1
94 108110709402
REEL HOLDER(R) リールホルダ(R)
195 1081107095
SIDE PLATE (R) サイト
゙プレート(R)
M5X16,STEEL,Z.C.T
15N31 XVEN5M16FYZ
HEX. SOCKET BUTTON HEAD BOL ロッカクアナツキホ
゙タンボルト
M5X12,STEEL,Z.C.T
18
N32 XVEN5M12FYZ
HEX. SOCKET BUTTON HEAD BOL ロッカクアナツキボタンボルト
M5X8,STEEL,Z.C.T
4N33 XVEN5M8FYZ
HEX. SOCKET BUTTON HEAD BOL ロッカクアナツキボタンボルト
M5X10,+,STEEL,Z.C.T
4N34 XST5+10FY
TRUSS HEAD SCREW トラスコネシ
゙
M5X20,STEEL,Z.C.T
20
N36 XVEN5M20FYZ
HEX. SOCKET BUTTON HEAD BOL ロッカクアナツキボタンボルト
NK-16N
1
N37 N348NK16N
CLAMPER クランパー
M152
F10811-07-000-AM-6

フィーダクランプ部
FEEDER CLAMP SECT.
9
F10467-31-200-AD_A
M153

PART No.
イラスト
No.
REF
No.
PART NAME
REMARKS
Q'TY
9
フィーダクランプ部
FEEDER CLAMP SECT.
部 品 名 品 番 個数
備 考
R
1
R
2
1 1046731200
FEEDER CLAMP UNIT フィータ
゙クランプユニット
150
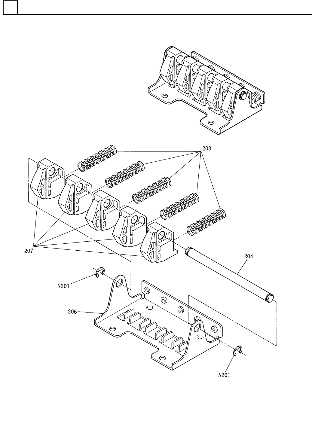
203 1046878419
SPRING バネ
30
204 1046879713
ROD ロッド
30206 1046731206
BRACKET(CLAMP) ブ
ラケット(クランプ)
150207 1046731207
CAM カム
STW-8
60
N201
XUBNSTW8
RETAINING RING C-TYPE C ガタジクヨウトメワ
M154
F10467-31-200-AD_A