HT121 (Mechanical20111025) - 第176页
集塵ボック ス部(1) DUST COLLEC TOR BOX SECT.( 1) 10 F10811-75-100_B-1 M155

PART No.
イラスト
No.
REF
No.
PART NAME
REMARKS
Q'TY
9
フィーダクランプ部
FEEDER CLAMP SECT.
部 品 名 品 番 個数
備 考
R
1
R
2
1 1046731200
FEEDER CLAMP UNIT フィータ
゙クランプユニット
150
203 1046878419
SPRING バネ
30
204 1046879713
ROD ロッド
30206 1046731206
BRACKET(CLAMP) ブ
ラケット(クランプ)
150207 1046731207
CAM カム
STW-8
60
N201
XUBNSTW8
RETAINING RING C-TYPE C ガタジクヨウトメワ
M154
F10467-31-200-AD_A

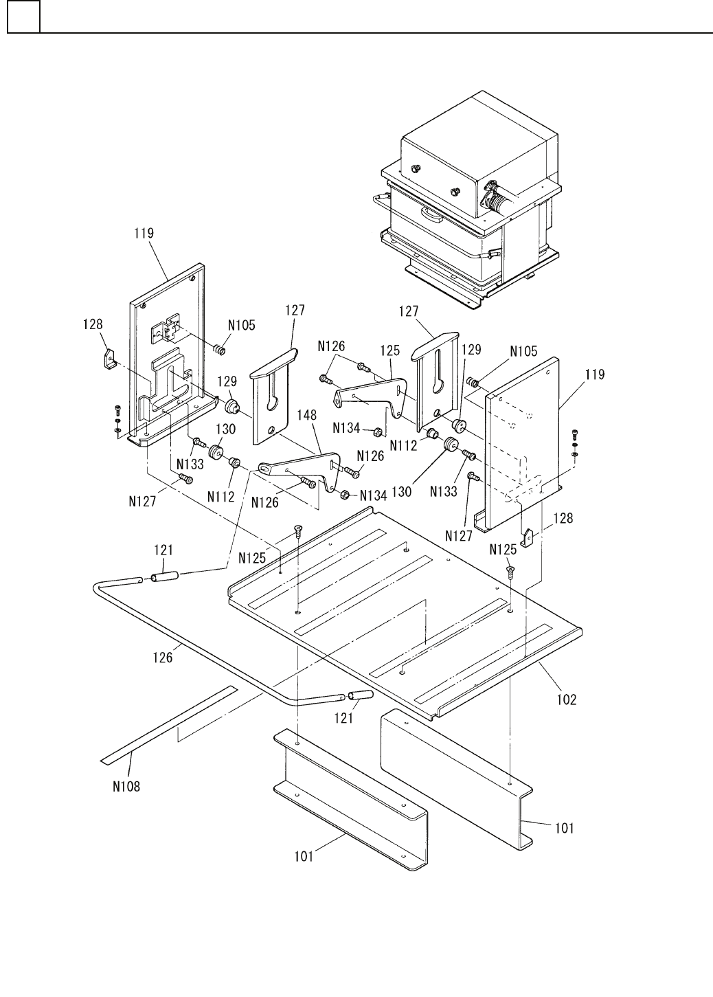
集塵ボックス部(1)
DUST COLLECTOR BOX SECT.(1)
10
F10811-75-100_B-1
M155

PART No.
イラスト
No.
REF
No.
PART NAME
REMARKS
Q'TY
10
集塵ボックス部(1)
DUST COLLECTOR BOX SECT.(1)
部 品 名 品 番 個数
備 考
R
1
R
2
1 1081175100
DUST COLLECTOR BOX UNIT シュウシ
゙ンボックスユニット
2
101 1081175101
STAND スタンド
1
102 1081175102
BASE ベース
2119 108117511901
FRAME フレーム
2121 1081175121
PROTECTOR プロテクタ
1
125 1081175125
LEVER(L) レバー(L)
1
126 1081175126
LEVER(CLAMP) レバー(クランプ)
2127 108117512701
CLAMPER クランハ
゚ー
2128 1081175128
STOPPER ストッハ
゚
2
129 1081175129
PIN ピン
2130 1081175130
ROLLER ローラ
1148 1081175148
LEVER(R) レハ
゙ー(R)
WF14-15
4
N105
B986WF1415
SPRING バネ
STANDARD-TYPE 21
1
N108
N986YYYY-180
ADHESIVE TAPE シキイスベリ
DUF0608-12
2
N112
N520DUF0-109
BUSHING ブッシング
M6X12
4
N125
N986YYYY-T36
BOLT ロッカクアナツキサラホ
゙ルト
M5X12,STEEL,Z.C.T
6
N126
XVEN5M12FYZ
HEX. SOCKET BUTTON HEAD BOL ロッカクアナツキボタンボルト
M5X8,STEEL,Z.C.T
2
N127
XVEN5M8FYZ
HEX. SOCKET BUTTON HEAD BOL ロッカクアナツキボタンボルト
M6X15,+,STEEL,Z.C.T
2
N133
XST6+15FY
TRUSS HEAD SCREW トラスコネジ
M6,3-TYPE,STEEL,Z.C.T
2
N134
XNG6CFY
HEXAGON NUT ロッカクナット
M156
F10811-75-100_B-1