HT121 (Mechanical20111025) - 第180页
集塵ボック ス部(3) DUST COLLEC TOR BOX SECT.( 3) 10 F10811-75-100_B-3 M159

PART No.
イラスト
No.
REF
No.
PART NAME
REMARKS
Q'TY
10
集塵ボックス部(2)
DUST COLLECTOR BOX SECT.(2)
部 品 名 品 番 個数
備 考
R
1
R
2
1117 1081175117
COVER カハ
゙ー
1
118 1081175118
BRACKET ブラケット
1
120 108117512001
FRAME フレーム
1122 108117512201
BRACKET フ
゙ラケット
1146 1081175146
BRACKET ブラケット
MBSB082ASA01
1
N102
MBSB082ASA01
INVERTER インバータ
XEB1201
1
N103
N265XEB1201
SURGE SUPPRESSORS スパークキラー
S-N10 AC200V
1
N104
N210SN10-145
ELECTROMAGNETIC CONTACTOR デ
ンジセッショクキ
3610PS-20T-B30-B00 S
1
N107
N2383610-052
FAN WITH MOTOR ファンモータ
G2A-432A-USAC100/110
1
N109
N210G2A4-383
RELAY リレー
PYF14A-TU
1
N110
N210PYF14ATU
SOCKET ソケット
PYC-42
1
N111
N210PYCA2
SOCKET ソケット
4X8,STEEL,P.C
14
N123
XYN4+F8
PAN HEAD M/C SCREW & W. ザガネクミコミナベコネジ
4X15,STEEL,P.C
2
N124
XYN4+F15
PAN HEAD M/C SCREW & W. ザガネクミコミナベコネジ
M3X6,+,STEEL,Z.C.T
4
N128
XST3+6FY
TRUSS HEAD SCREW トラスコネジ
M5X8,+,STEEL,Z.C.T
4
N129
XST5+8FY
TRUSS HEAD SCREW トラスコネシ
゙
M6X8,+,MFZN3
6
N130
XST6+8FY
TRUSS HEAD SCREW トラスコネジ
M6X10,+,STEEL,Z.C.T
2
N131
XST6+10FY
TRUSS HEAD SCREW トラスコネジ
4,B-TYPE,STEEL,N.P
6
N135
XWC4BFN
TOOTHED LOCK WASHER ハツキザガネ
6,A-TYPE,STEEL,Z.C.T
1
N136
XWC6AFY
TOOTHED LOCK WASHER ハツキサ
゙ガネ
M158
F10811-75-100_B-2

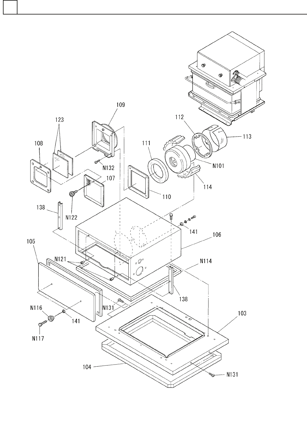
集塵ボックス部(3)
DUST COLLECTOR BOX SECT.(3)
10
F10811-75-100_B-3
M159

PART No.
イラスト
No.
REF
No.
PART NAME
REMARKS
Q'TY
10
集塵ボックス部(3)
DUST COLLECTOR BOX SECT.(3)
部 品 名 品 番 個数
備 考
R
1
R
2
1103 1081175103
COVER カハ
゙ー
1
104 1081175104
PACKING パッキン
1
105 108117510501
FRONT COVER フロントカバー
1106 108117510601
CASE ケース
1107 1081175107
FILTER フィルタ
1
108 1081175108
PACKING パッキン
1
109 1081175109
CASE(FILTER) ケース(フィルタ)
1110 108117511001
PACKING ハ
゚ッキン
1111 1081175111
PACKING パッキン
1
112 108117511201
PACKING パッキン
1113 1081175113
SHEET シート
1114 1181175114
INSULATOR インシ
゙ュレータ
2
123 1081175123
FILTER フィルタ
2
138 1081175138
SUPPORT サポート
6141 1081175141
WASHER ザガネ
BDW1006BL2S S
1
N101
BDW1006BL2S
MOTOR モータ
7024-19
1
N114
N986702419
GASKET ガスケット
M6
2
N116
N986YYYY-T33
KNOB ノブ
M6X30,STEEL,Z.C.T,4T
2
N117
XVG6B30FY4
HEXAGON HEAD BOLT ロッカクボルト
TAP/D43SSBS
4
N121
N986TAPD-T40
RIVETS リヘ
゙ット
KR-B1M5X10
1
N122
N986KRB1-T34
KNOB ノブ
M6X10,+,STEEL,Z.C.T
4
N131
XST6+10FY
TRUSS HEAD SCREW トラスコネジ
M6X12,+,STEEL,Z.C.T
4
N132
XST6+12FY
TRUSS HEAD SCREW トラスコネシ
゙
M160
F10811-75-100_B-3