HT121 (Mechanical20111025) - 第204页
プリンター部 PRINTER SEC T. 16 F10811-60-120-AB M183

PART No.
イラスト
No.
REF
No.
PART NAME
REMARKS
Q'TY
15
フリッカーブザー部
BUZZER SECT.
部 品 名 品 番 個数
備 考
R
1
R
2
1 1081160040
BUZZER UNIT フリッカーフ
゙ザーユニット
EB2124
1
N41 N901EB2124
BUZZER ブザー
2.5X6,+,STEEL,Z.C.T
2
N42 XTN25+6AFY
PAN HEAD TAPPING SCREW ナベタッピンネジ
M182
F10811-60-040_A

プリンター部
PRINTER SECT.
16
F10811-60-120-AB
M183

PART No.
イラスト
No.
REF
No.
PART NAME
REMARKS
Q'TY
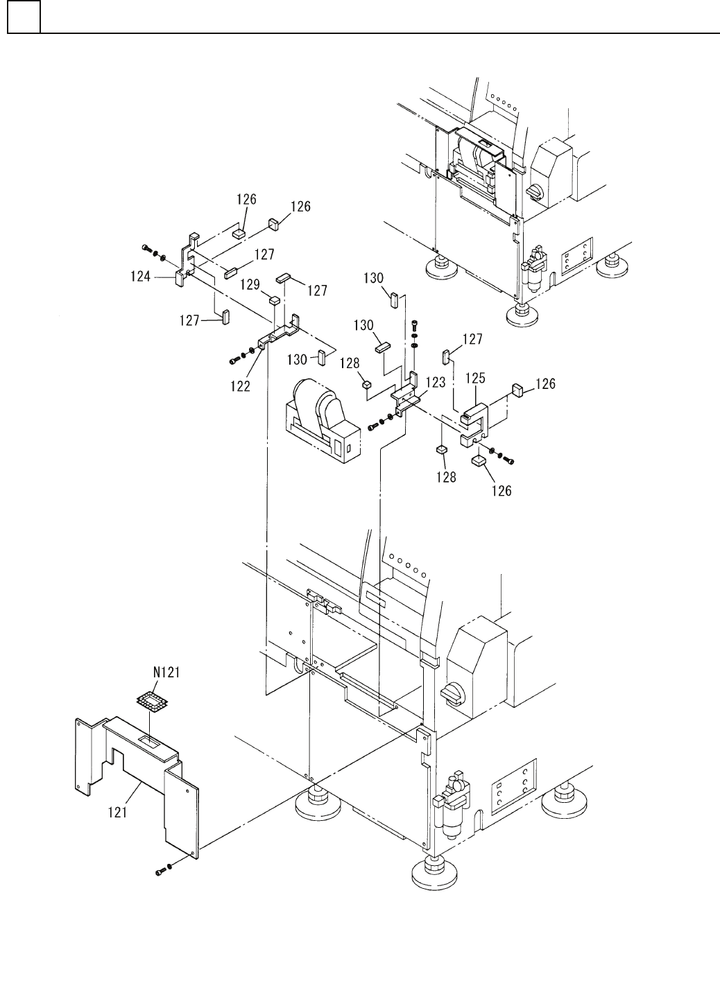
16
プリンター部
PRINTER SECT.
部 品 名 品 番 個数
備 考
R
1
R
2
1 1081160120
PRINTER UNIT プ
リンタユニット
1
121 108116012103
COVER カバー
1
122 1081160122
BRACKET ブラケット
1123 1081160123
BRACKET フ
゙ラケット
1124 1046701531
BRACKET ブラケット
1
125 1046701532
BRACKET ブラケット
5
126 1045201756
CUSHION クッション
4127 1045201757
CUSHION クッション
2128 1045201758
CUSHION クッション
1
129 1045201759
CUSHION クッション
3130 1045201760
CUSHION クッション
KG-012
1
N121
N348KG012
BUSHING FOR WIRING ジ
ザイブッシュ
M184
F10811-60-120-AB