HT121 (Mechanical20111025) - 第26页
本体部(Z 軸フレー ム部<15 0連>) MAIN BODY S ECT.(Z-AXIS FR AME SECT.<15 0 FEEDERS>) 1 F10811-07-500-AL M5

PART No.
イラスト
No.
REF
No.
PART NAME
REMARKS
Q'TY
1
本体部(アッパーフレーム部)
MAIN BODY SECT.(UPPER FRAME SECT.)
部 品 名 品 番 個数
備 考
R
1
R
2
1 1081101200
UPPER FRAME UNIT アッハ
゚ーフレームユニット
1
204 108110120410
UPPER FRAME フレーム(UPPER)
1
216 108110121602
COVER(RIGHT) カバー(RIGHT)
1217 108110121703
COVER(LEFT) カハ
゙ー(LEFT)
1218 1081101218
BRACKET ブラケット
1
219 108110121901
SHAFT シャフト
1
221 1081101221
BRACKET ブラケット
1222 108111100202
STAND スタント
゙
1223 1081101223
BRACKET ブラケット
1
224 108110122401
BRACKET ブラケット
8X30,m6A,STEEL
18
N202
XPJ8A30FY
PARALLEL PIN ヘイコウピン
ML-24
1
N203
N911ML24
LIGHTING UNIT ショウメイユニット
STW-6
1
N204
XUBNSTW6
RETAINING RING C-TYPE, SHAF C ガタジクヨウトメワ
8X20,m6A,STEEL
1
N205
XPJ8A20FW
PARALLEL PIN ヘイコウピン
CTAM1
9
N206
N348CTAM1T
CLAMP クランプ
MSTM8-20
2
N207
N986MSTM820
PARALLEL PIN ヘイコウヒ
゚ン
M4
F10811-01-200-AM

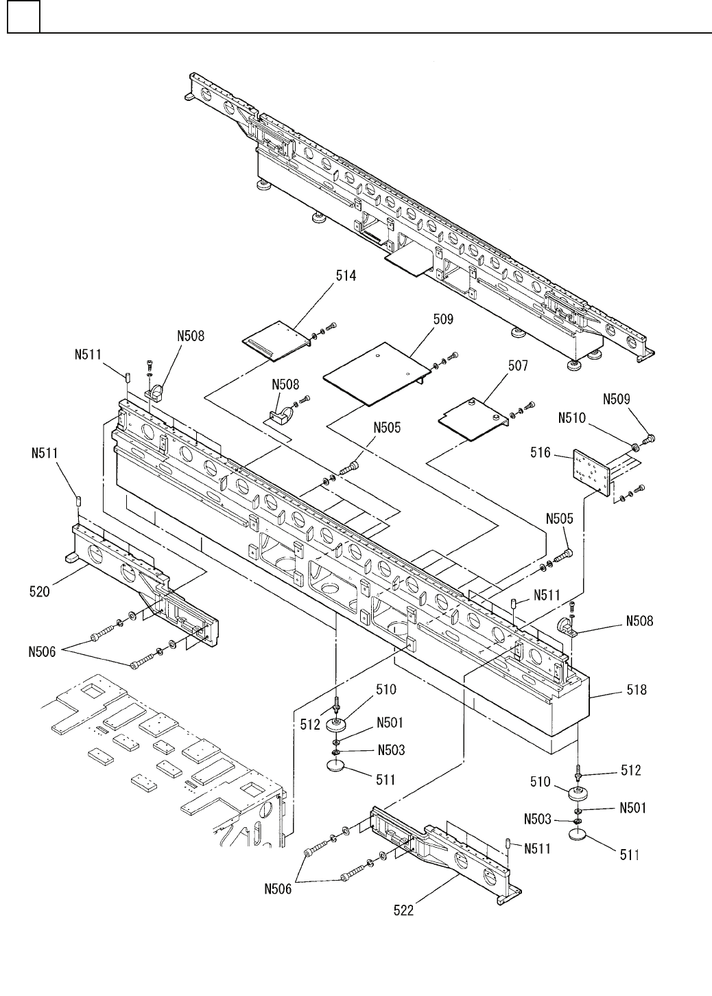
本体部(Z軸フレーム部<150連>)
MAIN BODY SECT.(Z-AXIS FRAME SECT.<150 FEEDERS>)
1
F10811-07-500-AL
M5

PART No.
イラスト
No.
REF
No.
PART NAME
REMARKS
Q'TY
1
本体部(Z軸フレーム部<150連>)
MAIN BODY SECT.(Z-AXIS FRAME SECT.<150 FEEDERS>)
部 品 名 品 番 個数
備 考
R
1
R
2
1 1081107500
Z-AXIS FRAME UNIT Z シ
゙クフレームユニット
1
507 108110750704
BRACKET ブラケット
1
509 108110750906
BRACKET ブラケット
8510 104388950102
STAND スタント
゙
8511 104388950301
RUBBER ラハ
゙ー
8
512 104388951201
BOLT ボルト
1
514 108110751403
BRACKET ブラケット
1516 108110751602
BRACKET フ
゙ラケット
1518 108110751810
FRAME フレーム
1
520 108110752003
FRAME フレーム
1522 108110752203
FRAME フレーム
M30,3-TYPE,STEEL,P.C
8
N501
XNH30FFP
HEXAGON NUT ロッカクナット
30,STEEL,P.C
8
N503
XUB30FP
RETAINING RING C-TYPE, SHAF C ガタジクヨウトメワ
M16X75,STEEL,Z.C.T
12
N505
XVE16B75FY
HEX. SOCKET HEAD CAP BOLT ロッカクアナツキボルト
M16X100,STEEL,Z.C.T
8
N506
XVE16B100FY
HEX. SOCKET HEAD CAP BOLT ロッカクアナツキボルト
CTAM2
3
N508
N348CTAM2T
CLAMP クランフ
゚
M4X16,+,STEEL,Z.C.T
4
N509
XST4+16FY
TRUSS HEAD SCREW トラスコネジ
4,NYLON
4
N510
N986YYYY-029
WASHER ザガネ
4X10,A-TYPE,STEEL
18
N511
XPM4A10FW
DOWEL PIN ダウエルピン
M6
F10811-07-500-AL