HT121 (Mechanical20111025) - 第32页
カバー部 (3) COVER SECT. (3) 2 F10811-02-200-AM-3 M11

PART No.
イラスト
No.
REF
No.
PART NAME
REMARKS
Q'TY
2
カバー部(2)
COVER SECT.(2)
部 品 名 品 番 個数
備 考
R
1
R
2
2212 108110201601
PLATE フ
゚レート
1
227 108110203701
COVER カバー
1
228 1085102038
COVER カバー
1239 108110206605
BRACKET フ
゙ラケット
1240 108110206703
COVER カハ
゙ー
1
251 1081162001
BRACKET ブラケット
1
252 1081162002
BRACKET ブラケット
M5X8,+,STEEL,Z.C.T
8
N201
XST5+8FY
TRUSS HEAD SCREW トラスコネシ
゙
5,B-TYPE,STEEL,Z.C.T
14
N202
XWC5BFY
TOOTHED LOCK WASHER ハツキサ
゙ガネ
JB-AM5X8
6
N204
N986JBAM58
BOLT ボルト
M5X12
6
N205
N986YYYY-814
CAP キャップ
4715KL-05W-B20-P00 S
2
N210
N2384715-093
FAN WITH MOTOR ファンモータ
M4X50,+,STEEL,Z.C.T
4
N211
XST4+50FY
TRUSS HEAD SCREW トラスコネジ
PG-47-02(8130)
4
N212
N238PG47-091
COVER(FAN) カバー(ファン)
C-30-BW-25-1
1
N214
N980C30BW251
GROMMET グロメット
M10
F10811-02-200-AM-2

カバー部(3)
COVER SECT.(3)
2
F10811-02-200-AM-3
M11

PART No.
イラスト
No.
REF
No.
PART NAME
REMARKS
Q'TY
2
カバー部(3)
COVER SECT.(3)
部 品 名 品 番 個数
備 考
R
1
R
2
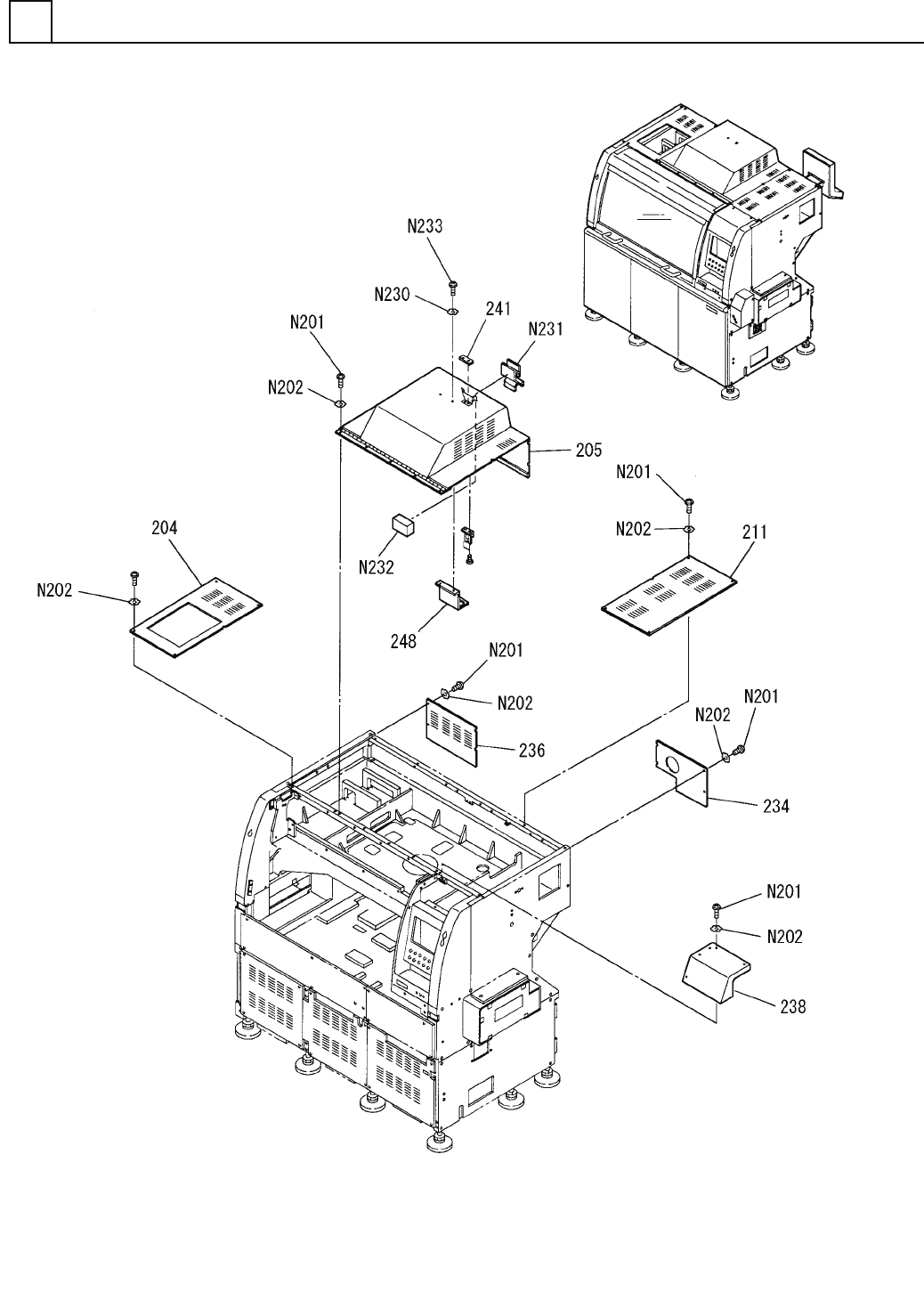
1204 108110207702
COVER カハ
゙ー
1
205 108110207304
TOP COVER カバー(TOP)
1
211 108110207601
COVER カバー
1234 108110207402
COVER(RIGHT) カハ
゙ー(RIGHT)
1236 108110207502
REAR COVER カバー(
REAR)
1
238 1081102065
COVER カバー
1
241 1081102241
NUT PLATE ナットプレート
1248 108110208702
BRACKET フ
゙ラケット
M5X8,+,STEEL,Z.C.T
26
N201
XST5+8FY
TRUSS HEAD SCREW トラスコネシ
゙
5,B-TYPE,STEEL,Z.C.T
12
N202
XWC5BFY
TOOTHED LOCK WASHER ハツキザガネ
4,B-TYPE,STEEL,Z.C.T
2
N230
XWC4BFY
TOOTHED LOCK WASHER ハツキザガネ
A-560-1-A
1
N231
N980A5601A
DRAWER PULL トッテ
A-560-1-B
1
N232
N980A5601B
DRAWER PULL トッテ
M4X6,+,STEEL,Z.C.T
2
N233
XST4+6FY
TRUSS HEAD SCREW トラスコネジ
M12
F10811-02-200-AM-3