HT121 (Mechanical20111025) - 第36页
カバー部 (5) COVER SECT. (5) 2 F10811-02-200-AM-5 M15

PART No.
イラスト
No.
REF
No.
PART NAME
REMARKS
Q'TY
2
カバー部(4)
COVER SECT.(4)
部 品 名 品 番 個数
備 考
R
1
R
2
1213 1046702086
GUIDE カ
゙イド
1
214 104680201606
LEFT DOOR ドア(LEFT)
3
215 104680201901
MAGNET マグネット
1216 104680204707
DOOR ト
゙ア
1217 104680201706
RIGHT DOOR ドア(RIGHT
)
1
225 1081102034
FRONT PANEL パネル(FRONT)
1
232 108110223201
FRONT COVER カバー(FRONT)
5,B-TYPE,STEEL,Z.C.T
31
N202
XWC5BFY
TOOTHED LOCK WASHER ハツキサ
゙ガネ
P-18,SCREW-TYPE
1
N213
N986P18Y-023
INDICATING PLATE パナソニックマーク
KG-012
1
N216
N348KG012
BUSHING FOR WIRING ジザイブッシュ
M3X6,+,STEEL,Z.C.T
6
N218
XSS3+6FY
FLUSH HEAD SCREW サラコネジ
TL-229S(1660)
3
N219
N982TL1660
MAGNETIC CATCH マク
゙ネットキャッチ
M5X8,+,STEEL,P.C
5
N228
XST5+8FP
TRUSS HEAD SCREW トラスコネジ
C-30-SG-30A
2
N237
N980C30SG30A
GROMMET グロメット
E02S130055ET
2
N245
N263E02S-176
GASKET ガスケット
M5X12,STEEL,Z.C.T,4T
12
N249
XVG5A12FY4
HEXAGON HEAD BOLT ロッカクホ
゙ルト
M14
F10811-02-200-AM-4

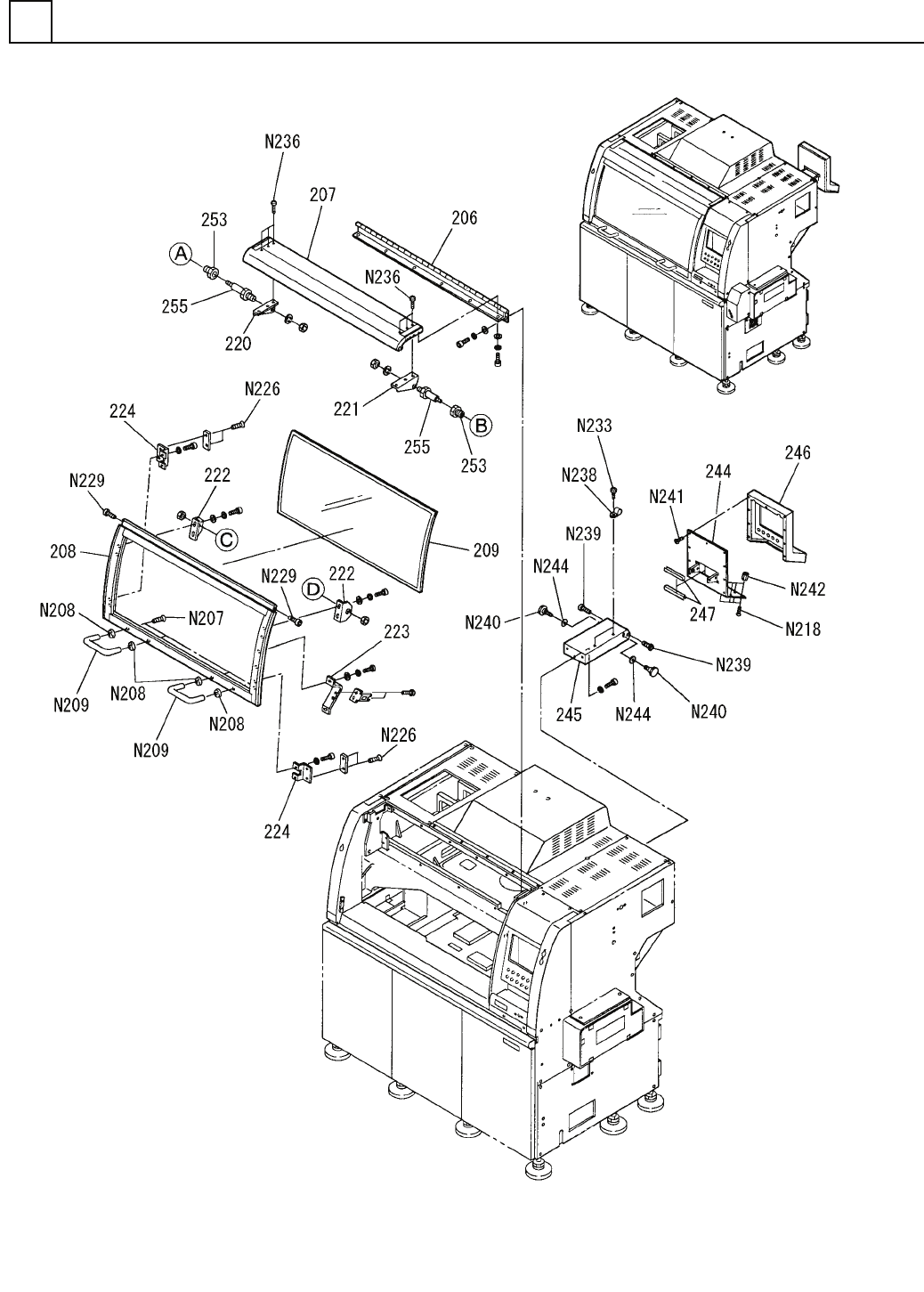
カバー部(5)
COVER SECT.(5)
2
F10811-02-200-AM-5
M15

PART No.
イラスト
No.
REF
No.
PART NAME
REMARKS
Q'TY
2
カバー部(5)
COVER SECT.(5)
部 品 名 品 番 個数
備 考
R
1
R
2
1206 104670208701
HINGE ヒンシ
゙
1
207 108110200702
FRONT COVER カバー(FRONT)
1
208 108110200901
FRONT COVER カバー(FRONT)
1209 1081102010
FRONT COVER カハ
゙ー(FRONT)
1220 108110222001
BRACKET(LEFT) ブラケット
(LEFT)
1
221 108110222101
BRACKET(RIGHT) ブラケット(RIGHT)
2
222 108110222201
BRACKET ブラケット
1223 1081102031
BRACKET フ
゙ラケット
2224 104680203103
BRACKET ブラケット
1
244 108110206801
BRACKET ブラケット
1245 108110206901
BRACKET ブラケット
1246 108110207002
BRACKET フ
゙ラケット
2
247 1081102071
BUSHING ブッシュ
2
253 1081102253
BUSHING ブッシュ
2255 1081102255
PIN ピン
M6X25
4
N207
N986YYYY-K00
BOLT ロッカクアナツキサラホ
゙ルト
THA-268-4(3453A)
4
N208
N982THA3453A
WASHER ザガネ
THA-31-13-TAP LEG
2
N209
N982THA3413A
DRAWER PULL トッテ
M3X6,+,STEEL,Z.C.T
4
N218
XSS3+6FY
FLUSH HEAD SCREW サラコネジ
M3X4,+,STEEL,Z.C.T
4
N226
XSS3+4FY
FLUSH HEAD SCREW サラコネシ
゙
M6X12
2
N229
N986YYYY-C27
BOLT ボルト(ゴクテイトウロッカクアナツキ)
M4X6,+,STEEL,Z.C.T
2
N233
XST4+6FY
TRUSS HEAD SCREW トラスコネジ
M5X18,+STEEL,Z.C.T
6
N236
XSN5+18FY
PAN HEAD SCREW ナヘ
゙コネジ
TA1S8
2
N238
N348TA1S8
FIXTURE コテイク
゙
CBSST12-25
2
N239
N986CBSS-S79
BOLT ボルト(テイトウロッカクアナツキ)
NKSM8-20
2
N240
N986NKSM820
KNOB ノブ
M4X10,+,STEEL,Z.C.T
14
N241
XSS4+10FY
FLUSH HEAD SCREW サラコネシ
゙
SP-10
4
N242
N986SP10
SPACER スペーサ
PA6/NYW-8.5-16-1
2
N244
N986PA6N-S91
WASHER ザガネ
M16
F10811-02-200-AM-5