HT121 (Mechanical20111025) - 第48页
カバー 部(Z軸安全B OX2 ) COVER SECT. (Z-AXIS SAFETY BOX-2) 2 F10811-51-000-AL-2 M27

PART No.
イラスト
No.
REF
No.
PART NAME
REMARKS
Q'TY
2
カバー部(Z軸安全BOX1)
COVER SECT.(Z-AXIS SAFETY BOX-1)
部 品 名 品 番 個数
備 考
R
1
R
2
1 1081151000
Z-AXIS SAFETY BOX UNIT Z ジ
クアンゼンボックスユニット
1
4 108115200405
SIDE COVER カバー(SIDE)
1
5 108115200505
SIDE COVER カバー(SIDE)
226 104685107703
PLATE フ
゚レート
231 1081151031
STOPPER ストッハ
゚
2
32 1081151032
STOPPER ストッパ
2
33 1081151033
STOPPER ストッパ
234 1081151034
STOPPER ストッハ
゚
235 1081151035
STOPPER ストッハ
゚
1
53 108115105304
BRACKET(L) ブラケット(L)
155 108115105504
BRACKET(R) ブラケット(R)
APN122DNS-TK2310
2N 3 N222APN1-049
LAMP ランフ
゚
M3X8,+,STEEL,Z.C.T
8
N 6 XST3+8FY
TRUSS HEAD SCREW トラスコネジ
C-158-3
2
N17 N980C1583
MAGNETIC CATCH マグネットキャッチ
D4DS-2AFS S
2N19 N300D4DS2AFS
SWITCH スイッチ
SC-6
2N22 N300SC6
CONNECTOR コネクタ
CTAM1
6
N26 N348CTAM1T
CLAMP クランプ
M26
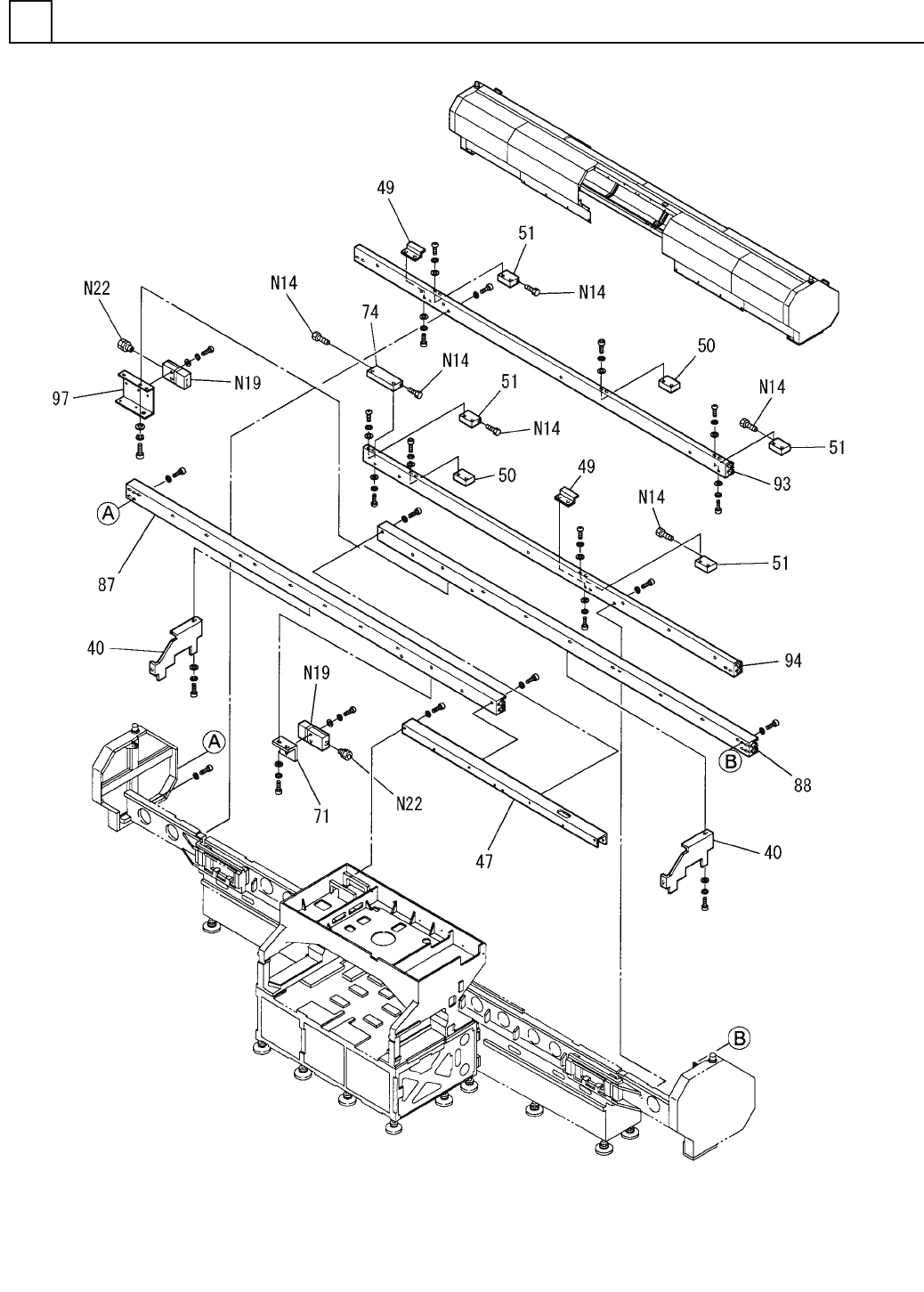
F10811-51-000-AL-1

カバー部(Z軸安全BOX2)
COVER SECT.(Z-AXIS SAFETY BOX-2)
2
F10811-51-000-AL-2
M27

PART No.
イラスト
No.
REF
No.
PART NAME
REMARKS
Q'TY
2
カバー部(Z軸安全BOX2)
COVER SECT.(Z-AXIS SAFETY BOX-2)
部 品 名 品 番 個数
備 考
R
1
R
2
240 108115203403
COVER カハ
゙ー
1
47 1081151047
BRACKET ブラケット
2
49 108115104903
STOPPER ストッパ
250 108115105002
STOPPER ストッハ
゚
451 108115105101
STOPPER ストッハ
゚
1
71 1081152064
STAY ステー
1
74 108115107402
STOPPER ストッパ
187 108115108702
RAIL レール
188 108115108801
RAIL レール
1
93 108115109301
RAIL(UNDER) レール(アンダー)
194 108115109401
RAIL(UNDER) レール(アンダー)
197 1081151097
STAY ステー
UPWH3-7
6
N14 N986UPWH37
STOPPER ストッパ
D4DS-2AFS S
2
N19 N300D4DS2AFS
SWITCH スイッチ
SC-6
2N22 N300SC6
CONNECTOR コネクタ
M28
F10811-51-000-AL-2